Fuel filter location?

Tiny
1234567
  • MEMBER
  • 2000 CHEVROLET BLAZER
  • 6 CYL
  • 4WD
  • AUTOMATIC
  • 124,000 MILES
Where is the fuel filter located?
Thursday, March 27th, 2008 AT 7:33 PM

29 Replies

Tiny
BMRFIXIT
  • MECHANIC
  • 19,053 POSTS
Hello,

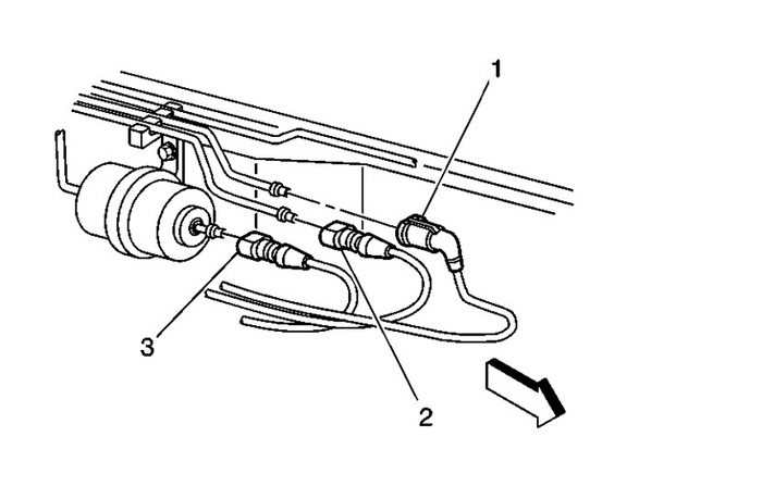
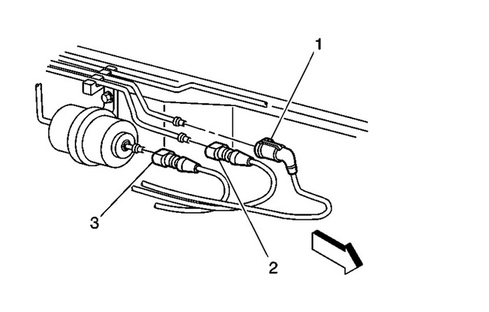
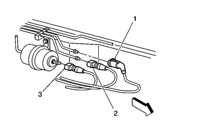
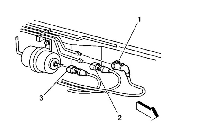
the fel filter is under the truck in the rail follow the fuel lines. Here is a guide to help walk you through the steps and the location in the diagrams below.

https://www.2carpros.com/articles/how-to-change-a-fuel-filter

Check out the diagrams (Below). Please let us know if you need anything else to get the problem fixed.

Was this
answer
helpful?
Yes
No
-2
Thursday, March 27th, 2008 AT 7:55 PM
Tiny
JSANDRI5
  • MEMBER
  • 1 POST
  • 2000 CHEVROLET BLAZER
  • 4 CYL
  • 4WD
  • AUTOMATIC
  • 72,100 MILES
Where is the fuel filter located for my blazer.
Was this
answer
helpful?
Yes
No
+1
Thursday, March 7th, 2019 AT 12:32 PM (Merged)
Tiny
SWILLIAMS
  • MECHANIC
  • 597 POSTS
Mounted on the inside of the frame rail just below the drivers door. Uses a quick disconnect on one end and a threaded fitting on the other. Make sure you relieve the fuel pressure before you try to remove it. Also have a catch basin handy since you will lose some gas anyway.
Was this
answer
helpful?
Yes
No
+6
Thursday, March 7th, 2019 AT 12:32 PM (Merged)
Tiny
TULONGHORNS08
  • MEMBER
  • 1 POST
  • 1998 CHEVROLET BLAZER
  • 156,000 MILES
I do not know where to look for a fuel filter.
Was this
answer
helpful?
Yes
No
+1
Thursday, March 7th, 2019 AT 12:32 PM (Merged)
Tiny
JDL
  • MECHANIC
  • 16,098 POSTS
Look under the vehicle, inside frame-rail. If you have a new fuel filter, then you know what it looks like. Just be sure there is no pressure on the system, before you take anything loose.
Was this
answer
helpful?
Yes
No
+1
Thursday, March 7th, 2019 AT 12:33 PM (Merged)
Tiny
CBM64699
  • MEMBER
  • 1 POST
  • 1992 CHEVROLET BLAZER
  • 6 CYL
  • 4WD
  • AUTOMATIC
  • 117,000 MILES
S10 chevy blazer 92- where is the fuel filter located?
Was this
answer
helpful?
Yes
No
-2
Thursday, March 7th, 2019 AT 12:33 PM (Merged)
Tiny
RHALL77
  • MECHANIC
  • 3,361 POSTS
They are usually located on the drivers side frame rail towards the middle of the vehicle.
Was this
answer
helpful?
Yes
No
+1
Thursday, March 7th, 2019 AT 12:33 PM (Merged)
Tiny
WOOWOOLMC
  • MEMBER
  • 1 POST
  • 1988 CHEVROLET BLAZER
  • 6 CYL
  • 4WD
  • AUTOMATIC
  • 100,000 MILES
I have a 1988 Chevy Blazer 2.8 v-6 four wheel drive automatic and we have changed the spark plugs, cap, coil and put in fuel injection cleaner and dry gas.

It idles low and stahls out all the time and when we put in in gear it stalls right out. When trying to drive it has no power at all and keeps stalling out.

The fuel pump was replaced last year and we are thinking that they did not change the fuel filter at that time.

Where is it located on this model? Thanks for all your help.
Was this
answer
helpful?
Yes
No
+1
Thursday, March 7th, 2019 AT 12:33 PM (Merged)
Tiny
SWILLIAMS
  • MECHANIC
  • 597 POSTS
I have a 1988 Chevy Blazer 2.8 v-6 four wheel drive automatic and we have changed the spark plugs, cap, coil and put in fuel injection cleaner and dry gas.

Filter is inline toward the front of the engine hidden by the lower radiator hose.

However I would check the compression as well.
Was this
answer
helpful?
Yes
No
+1
Thursday, March 7th, 2019 AT 12:33 PM (Merged)
Tiny
GOING CRAZY22
  • MEMBER
  • 1 POST
  • 1991 CHEVROLET BLAZER
Engine Mechanical problem
1991 Chevy Blazer 6 cyl Four Wheel Drive Automatic

where is fuel filter
Was this
answer
helpful?
Yes
No
Thursday, March 7th, 2019 AT 12:33 PM (Merged)
Tiny
RASMATAZ
  • MECHANIC
  • 75,992 POSTS
The fuel filter is on the left frame rail just under the drivers seat.
Was this
answer
helpful?
Yes
No
Thursday, March 7th, 2019 AT 12:33 PM (Merged)
Tiny
MIAHCOMBS
  • MEMBER
  • 1 POST
  • CHEVROLET BLAZER
1994 chevy blazer s10 tahoe package, V6 Vortech, 127,000 miles, automatic, 4x4.

I can't find my flue filter and need a little help.
Was this
answer
helpful?
Yes
No
Thursday, March 7th, 2019 AT 12:33 PM (Merged)
Tiny
BOOTDOG
  • MECHANIC
  • 665 POSTS
Look down the frame rail on the drivers side. Follow the fuel lines back to the tank and you'll see it.
Was this
answer
helpful?
Yes
No
+1
Thursday, March 7th, 2019 AT 12:33 PM (Merged)
Tiny
DADDYACK
  • MEMBER
  • 1 POST
  • 1995 CHEVROLET BLAZER
  • 6 CYL
  • 4WD
  • AUTOMATIC
  • 89,000 MILES
Where can I find The fuel filter on my 95 Blazer?Also
is the fuel pump in the tank?
Was this
answer
helpful?
Yes
No
Thursday, March 7th, 2019 AT 12:33 PM (Merged)
Tiny
DOCFIXIT
  • MECHANIC
  • 18,828 POSTS
Yes pump is in tank. Filter is in fuel line follow the lines should be three and you will find along the frame.
Hope this helps
Was this
answer
helpful?
Yes
No
Thursday, March 7th, 2019 AT 12:33 PM (Merged)
Tiny
JOHN HENRICKS
  • MEMBER
  • 1 POST
  • 1987 CHEVROLET BLAZER
Engine Performance problem
1987 Chevy Blazer V8 Four Wheel Drive Automatic

where are the fuel filters?
Was this
answer
helpful?
Yes
No
Thursday, March 7th, 2019 AT 12:33 PM (Merged)
Tiny
JMALECKI
  • MECHANIC
  • 118 POSTS
Hello
One is inline under the truck this is the on that gets changed with maintainance. The other is in the fuel tank this one gets changed when the fuel pump is changed.
John
Was this
answer
helpful?
Yes
No
Thursday, March 7th, 2019 AT 12:33 PM (Merged)
Tiny
THOMIS
  • MEMBER
  • 2 POSTS
  • 1998 CHEVROLET BLAZER
  • 6 CYL
  • 4WD
  • AUTOMATIC
  • 165,000 MILES
I have never done this. Please help me identify any special tools necessary for changing the fuel filter in my 98 Blazer. I am not sure where it is either. Thank you for your help. Kind regards,
Thomis
Was this
answer
helpful?
Yes
No
Thursday, March 7th, 2019 AT 12:33 PM (Merged)
Tiny
BMRFIXIT
  • MECHANIC
  • 19,053 POSTS
Its under truck just follow the fuel line
you may need 5/8 and 3/416 and 19 or 21
line wrench
Was this
answer
helpful?
Yes
No
Thursday, March 7th, 2019 AT 12:33 PM (Merged)
Tiny
THOMIS
  • MEMBER
  • 2 POSTS
Thanks very much
Was this
answer
helpful?
Yes
No
Thursday, March 7th, 2019 AT 12:33 PM (Merged)

Please login or register to post a reply.