Check engine light

Tiny
PSCHOON
  • MEMBER
  • 1989 SUZUKI SIDEKICK
  • 1.6L
  • 4 CYL
  • 4WD
  • AUTOMATIC
  • 201,000 MILES
I have spent about five hours trying to turn the check engine light off. Have done the "diagnostic fuse" procedure. Taken the battery cable off, touched negative to positive. And spent literally hours trying to find the "secret switch" in the ECU area under the dash (cannot find it). Have also looked for any issues causing a fault: vacuum hoses, had ECU re-manufactured and verified, cleaned the EGR valve, cleaned the fuel injector, new O2 sensor on the exhaust manifold. New chassis located fuel filter.

Help!
Thursday, September 28th, 2017 AT 9:59 AM

9 Replies

Tiny
STEVE W.
  • MECHANIC
  • 15,697 POSTS
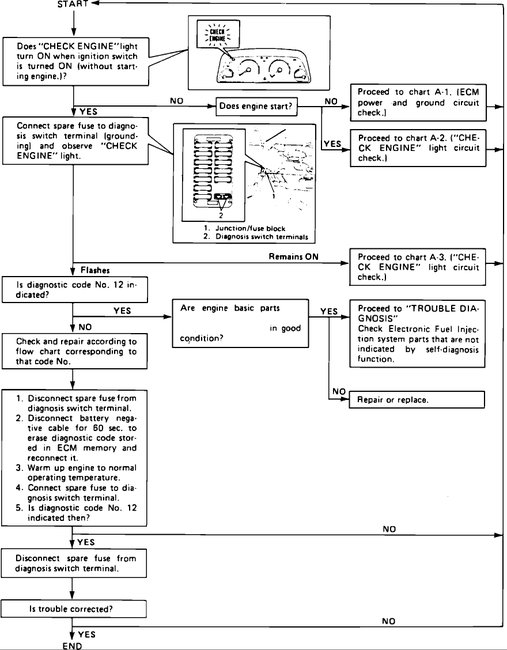
Have you actually pulled the trouble code and repaired the problem that is turning the light on?

Put the diagnostic fuse in, then read the code(s) the check engine light flashes at you.

12 All Clear (No Fault Detected).
13 O2 Sensor circuit.
14 Coolant Temperature Sensor Circuit.
15 Coolant Temperature Sensor Circuit.
21 Throttle Position Sensor Circuit.
22 Throttle Position Sensor Circuit.
23 Intake Air Temperature Sensor Circuit.
24 Vehicle Speed Sensor Circuit.
25 Intake Air Temperature Sensor Circuit.
31 Atmospheric Pressure Sensor Circuit.
32 Atmospheric Pressure Sensor Circuit.
41 Ignition Signal Circuit.
42 Crank Angle Sensor Circuit.
44 Idle Switch Sensor Circuit.
45 Idle Switch Sensor Circuit.
51 EGR System & Recirculated Exhaust Gas Temperature Sensor.
53 Ground Circuit.
54 Fifth Gear Switch Circuit.
71 Test Switch Circuit.

For instance a code 13 does not automatically mean the O2 is bad. It could be the signal wire is broken or shorted. Same with all the rest.

If you put the fuse in and the light comes on and does not flash there is an issue with the ECU. In that case you need to verify all the powers and grounds to the ECU.

It will not clear unless the problem is repaired.
Was this
answer
helpful?
Yes
No
+1
Thursday, September 28th, 2017 AT 11:35 AM
Tiny
PSCHOON
  • MEMBER
  • 6 POSTS
Thanks so much for the reply. When I put the fuse into the diagnostic slot, and turn the ignition switch on, the check engine light just stays illuminated. It fails to flash a code no matter what I do.
Was this
answer
helpful?
Yes
No
+1
Thursday, September 28th, 2017 AT 11:50 AM
Tiny
PSCHOON
  • MEMBER
  • 6 POSTS
Also, I have had the ECU out, sent in to have the capacitors replaced. So it is all plugged in correctly.
Was this
answer
helpful?
Yes
No
Thursday, September 28th, 2017 AT 11:51 AM
Tiny
STEVE W.
  • MECHANIC
  • 15,697 POSTS
That is good but it does not mean it works correctly. Did the company make sure it worked before shipping it back? The light staying on and not flashing is an ECU fault. It means it is not working. You need to be sure it is getting power and ground. I would think it is if the diagnostics worked.
Was this
answer
helpful?
Yes
No
Thursday, September 28th, 2017 AT 12:13 PM
Tiny
PSCHOON
  • MEMBER
  • 6 POSTS
Yes, they tested the ECU following repair. The light condition existed before and after the ECU remove and replace.
Was this
answer
helpful?
Yes
No
-1
Thursday, September 28th, 2017 AT 12:30 PM
Tiny
PSCHOON
  • MEMBER
  • 6 POSTS
A mechanic five hundred miles from here in Nebraska found and flipped the "secret reset switch" once, the light was off for a month. I cannot locate that switch (after hours of looking).
Was this
answer
helpful?
Yes
No
Thursday, September 28th, 2017 AT 12:31 PM
Tiny
STEVE W.
  • MECHANIC
  • 15,697 POSTS
Only switch I know of is the service due switch that was to reset the service timer. That was behind the lower left dash trim if I recall. Been a long time.
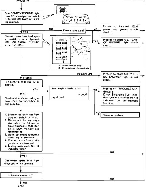
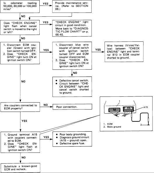
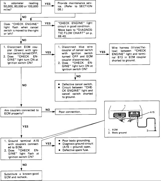
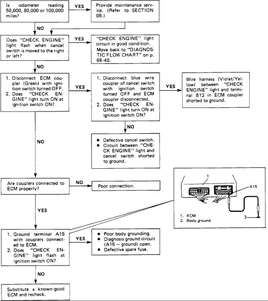
Here are some test charts to work on the issue:
Was this
answer
helpful?
Yes
No
+1
Thursday, September 28th, 2017 AT 1:13 PM
Tiny
PSCHOON
  • MEMBER
  • 6 POSTS
Oh, wow! I was able to find the reset switch from your last image. Reset the light, and it stays off! Also, was finally able to run the ODB1 code, came up 12: Normal! Thanks so much!
Was this
answer
helpful?
Yes
No
Thursday, September 28th, 2017 AT 1:54 PM
Tiny
KEN L
  • MASTER CERTIFIED MECHANIC
  • 55,488 POSTS
Steve W is the man!

Please use 2CarPros anytime we are here to help.

Cheers, Ken
Was this
answer
helpful?
Yes
No
Friday, September 29th, 2017 AT 9:49 AM

Please login or register to post a reply.