Car stalling while driving, will not accelerate

Tiny
DEVILLE MAN 93
  • MEMBER
  • 1993 CADILLAC DEVILLE
  • 4.9L
  • 2WD
  • AUTOMATIC
  • 100,000 MILES
I have had this car for about a year now, and when I was driving it one day, I accelerated hard on the road and the car began to sputter and not accelerate had to pull over and restart the car. Now, after a couple of months, the car begins to stall after a short drive, doing the same thing, sputtering, not being able to accelerate then shuts off when stopped. It will start fine after about 3 minutes but still has the chance to stall.

I believe it to be the fuel pump and filter and plan to have them replaced, but I would like some advice on what it could be. Any thoughts?
Wednesday, January 8th, 2020 AT 1:18 PM

3 Replies

Tiny
ASEMASTER6371
  • MECHANIC
  • 52,796 POSTS
Good afternoon,

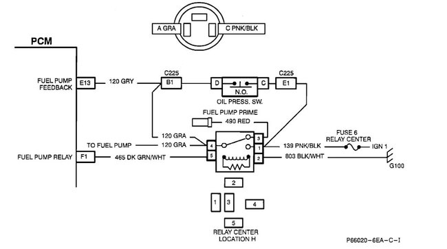
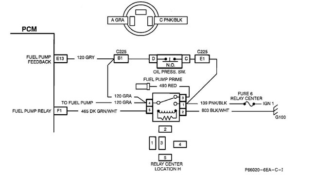
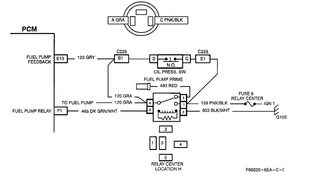
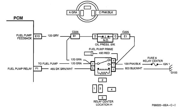
Yes, it could be the fuel pump. I would check the pressure first to confirm. It was a common failure.

Fuel pressure:

Ignition "on" Engine "off" .................... 40 to 50 psi

https://www.2carpros.com/articles/how-to-check-fuel-system-pressure-and-regulator

Another possibility is the ignition module in the distributor. That was a common failure for when the car was hot to cut out until it cooled down.

Roy
Was this
answer
helpful?
Yes
No
Wednesday, January 8th, 2020 AT 1:47 PM
Tiny
DEVILLE MAN 93
  • MEMBER
  • 13 POSTS
Okay, so after changing the Fuel pump, strainer, and the fuel sender, it still seems to have trouble. The mechanic said it could also be the injection control module, like previously stated. Could there be any other way, and if not, is there any other diagrams that I could get to replace it myself, as it’s not as labor intensive?
Was this
answer
helpful?
Yes
No
Saturday, January 11th, 2020 AT 6:16 PM
Tiny
ASEMASTER6371
  • MECHANIC
  • 52,796 POSTS
Okay, what was the fuel pressure after replacing the pump?

The module is inside the distributor but I doubt that is it.

Roy
Was this
answer
helpful?
Yes
No
Sunday, January 12th, 2020 AT 10:00 AM

Please login or register to post a reply.