Car shuts off when I give it gas

Tiny
DOUGLAS D
  • MEMBER
  • 1990 CHEVROLET LUMINA
  • 3.1L
  • 6 CYL
  • FWD
  • AUTOMATIC
  • 164,387 MILES
The car will run good until go to give it gas.
Monday, January 9th, 2017 AT 9:01 AM

8 Replies

Tiny
HMAC300
  • MECHANIC
  • 48,601 POSTS
Check fuel pressure with a gauge auto parts rent it and scan for codes. See link.
https://www.2carpros.com/articles/how-to-check-fuel-system-pressure-and-regulator
Was this
answer
helpful?
Yes
No
+1
Monday, January 9th, 2017 AT 12:24 PM
Tiny
RENEE L
  • ADMIN
  • 1,260 POSTS
Hi DOUGLAS D,

If you decide to scan for codes as HMAC300 suggested here is a link that will be of help to you. This link features an informative article with written step by step instructions and pictures explaining how to do the scan yourself. Also, I have included a link to our YouTube channel with a how to video on code scanning.

This is applicable even if your check engine light is not on.

Most scanners are inexpensive to purchase, you can purchase one online from sites like Amazon.com.

https://www.2carpros.com/articles/checking-a-service-engine-soon-or-check-engine-light-on-or-flashing

https://youtu.be/YV3TRZwer8k

Once you have the codes please get back to us so that we can further assist you. We are always happy to help.

Thank you for visiting 2CarPros.com.

Kindest regards,

Renee
Admin
Was this
answer
helpful?
Yes
No
+2
Monday, January 9th, 2017 AT 3:37 PM
Tiny
DOUGLAS D
  • MEMBER
  • 4 POSTS
I am getting code 22 TPS signal voltage is low.
Was this
answer
helpful?
Yes
No
Thursday, January 12th, 2017 AT 3:34 PM
Tiny
HMAC300
  • MECHANIC
  • 48,601 POSTS
See pictures to test circuit it can be a bad TPS and or a vacuum leak to map sensor. So check that as well.
Was this
answer
helpful?
Yes
No
Thursday, January 12th, 2017 AT 4:49 PM
Tiny
DOUGLAS D
  • MEMBER
  • 4 POSTS
I put new TPS and MAP. I checked for vacuum leak.
Was this
answer
helpful?
Yes
No
+1
Thursday, January 12th, 2017 AT 4:52 PM
Tiny
HMAC300
  • MECHANIC
  • 48,601 POSTS
Well with the pictures I sent you can test if light is still on. Also, clean throttle plate on both sides and clean IAC hole may help this.
Was this
answer
helpful?
Yes
No
Thursday, January 12th, 2017 AT 5:17 PM
Tiny
DOUGLAS D
  • MEMBER
  • 4 POSTS
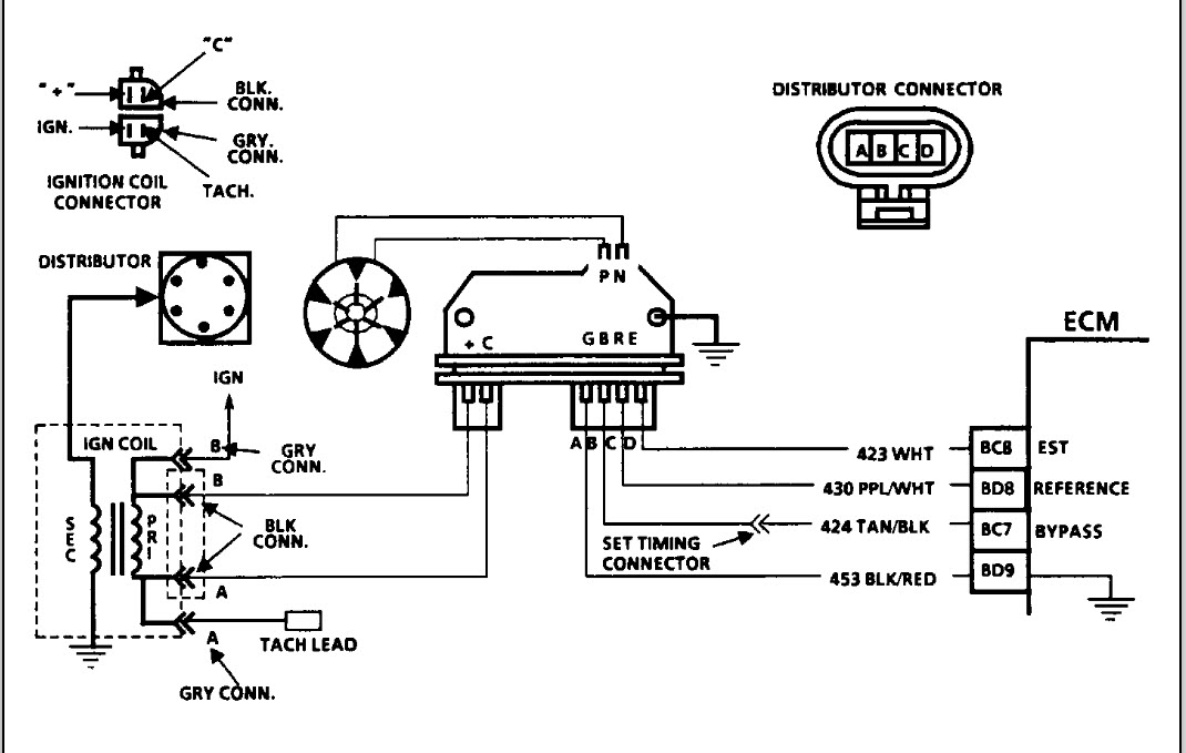
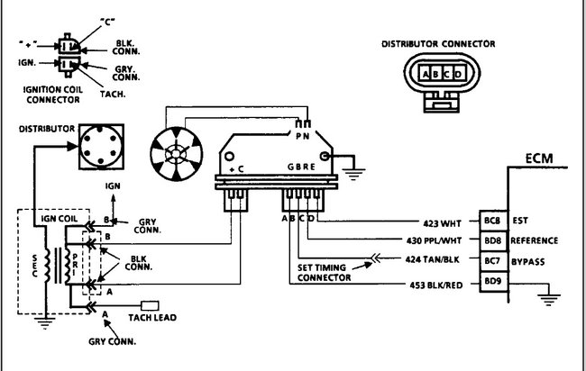
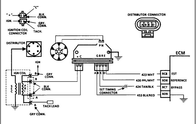
I am getting code 42 now electronic spark timing (est) circuit open or shorted direct ignition system (dis) faucet by pass circuit open or shorted to ground during engine run. Do not know what that mean
Was this
answer
helpful?
Yes
No
Friday, January 13th, 2017 AT 9:44 AM
Tiny
HMAC300
  • MECHANIC
  • 48,601 POSTS
See pictures on how to diagnose the problem.
Was this
answer
helpful?
Yes
No
Friday, January 13th, 2017 AT 12:25 PM

Please login or register to post a reply.

Related Engine Stall While Driving Content