A/C blows cool sometimes but never cold

Tiny
BRIAN DOZIER
  • MEMBER
  • 2014 NISSAN SENTRA
  • 1.8L
  • 4 CYL
  • 2WD
  • AUTOMATIC
  • 81,638 MILES
I am getting high pressure side of 125 tops usually and low side is 50 or better have replaced compressor, thermal expansion valve and all fuses related to system. Will hold a vacuum and has been completely evacuated before refilling refrigerant.
Wednesday, August 5th, 2020 AT 6:33 AM

3 Replies

Tiny
ASEMASTER6371
  • MECHANIC
  • 52,796 POSTS
Good morning,

What is the outside temperature?

The low side is too high. It should be 25-30 pounds rock solid. At 50 pounds the evaporator is flooded with Freon and cannot absorb that much heat.

https://www.2carpros.com/articles/car-air-conditioner-not-working-or-is-weak

Roy

Was this
answer
helpful?
Yes
No
Wednesday, August 5th, 2020 AT 6:50 AM
Tiny
BRIAN DOZIER
  • MEMBER
  • 2 POSTS
The ambient temperature was 73 at the time.
Was this
answer
helpful?
Yes
No
Thursday, August 6th, 2020 AT 5:34 AM
Tiny
ASEMASTER6371
  • MECHANIC
  • 52,796 POSTS
The high side is too low as well.

With the ambient temperature of 73, it should be around 155-160 pounds. The formula is 2 times ambient temp plus 15%.

You need an expansion valve and a dryer.

the dryer is on the condenser. At the bottom of the drivers side of the condenser, there is a cap you remove to access the bag. You just replace the bag and the o-ring for the cap.

https://www.2carpros.com/articles/re-charge-an-air-conditioner-system

Roy

HEATING AND COOLING UNIT ASSEMBLY

EXPANSION VALVE : Removal and Installation

REMOVAL

1.Discharge the refrigerant. Refer to "Recycle Refrigerant" See: Refrigerant > Procedures > Recycle Refrigerant.
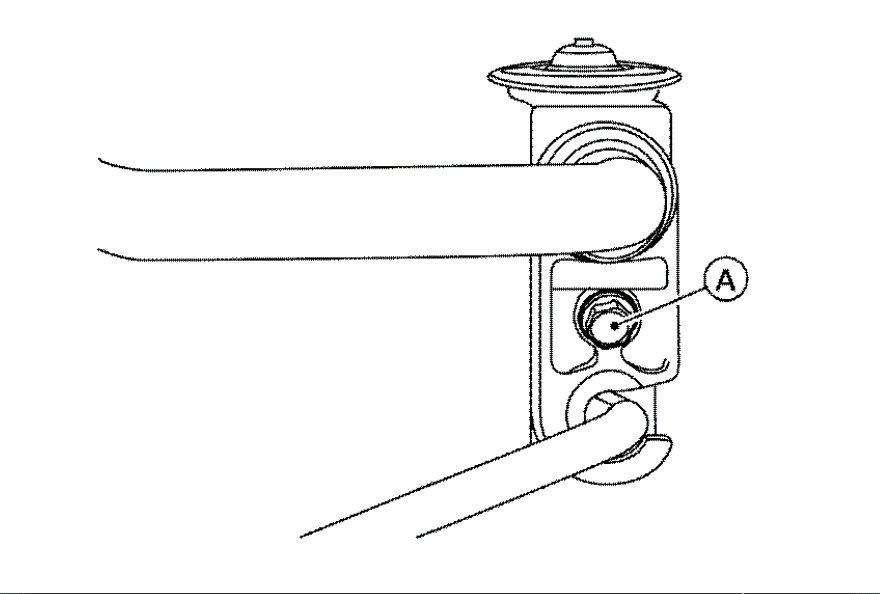
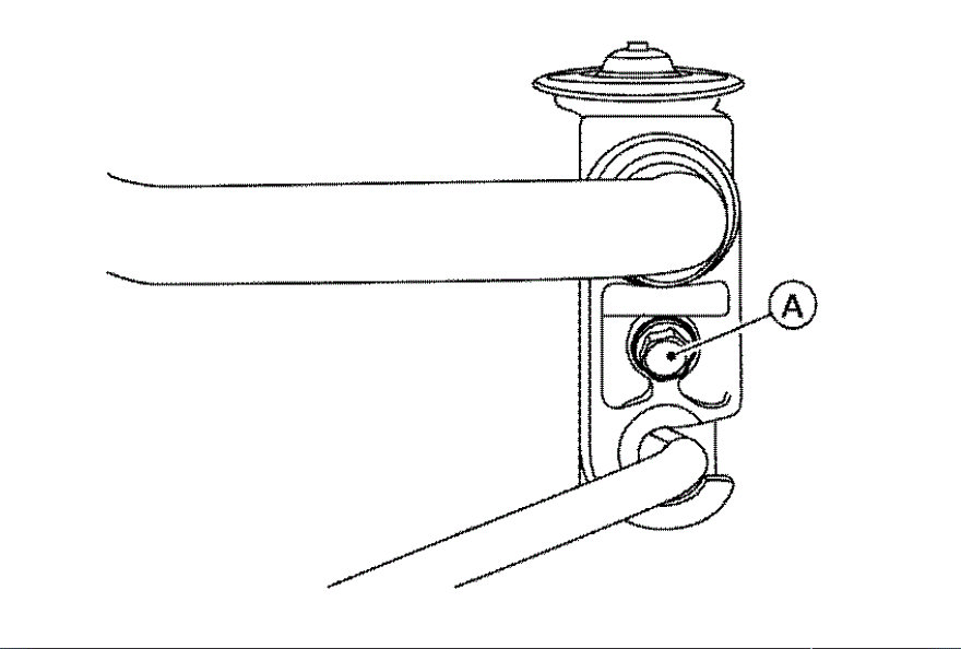
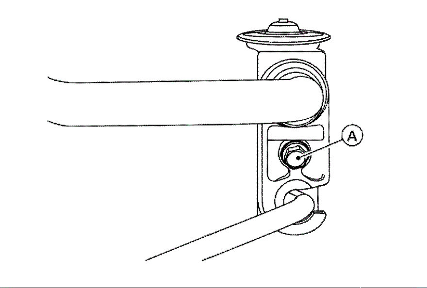
2.Remove the push nut (A) from the expansion valve insulator (1)
and reposition.

imageOpen In New TabZoom/Print

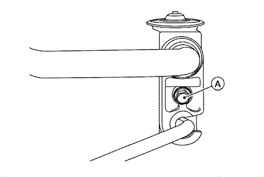
3.Remove the bolt (A) that retains the low-pressure flexible hose and high-pressure pipe to the expansion valve.

imageOpen In New TabZoom/Print

4.Disconnect the low-pressure pipe and high-pressure pipe from the expansion valve.
5.Remove the expansion valve bolts.
6.Remove the expansion valve.

INSTALLATION

Installation is in the reverse order of removal.

CAUTION:
Do not reuse O-rings.
Apply A/C oil to the new expansion valve O-rings for installation.
After charging refrigerant, check for leaks. Refer to "Leak Test" See: Refrigerant > Procedures > Leak Test.
Was this
answer
helpful?
Yes
No
Thursday, August 6th, 2020 AT 5:47 AM

Please login or register to post a reply.