AC oil

Tiny
ASEMASTER6371
  • MECHANIC
  • 52,796 POSTS
Okay, you can return one and replace it with one with UV.

Easy to do that.

Roy
Was this
answer
helpful?
Yes
No
Tuesday, May 29th, 2018 AT 9:26 AM
Tiny
ZEMORZEMOR
  • MEMBER
  • 486 POSTS
Okay, I replaced the accumulator drier. Vacuumed the system for half an hour and check for leak for two hours. No leaks after I vacuumed it again for an hour and a half. I added Freon the first can went great the second can I should add from it six ounces. The scale I bought turned off when I was adding Freon. I think I put six ounces from it. However, what I noticed after at idle the compressor kept running and the temperature was 50 degrees. When I drove the car the temperature went down to 40 at max AC aka re-circulation went down to 37.
Was this
answer
helpful?
Yes
No
Sunday, June 3rd, 2018 AT 5:02 PM
Tiny
ASEMASTER6371
  • MECHANIC
  • 52,796 POSTS
Okay, sounds good.

Do you have a concern? It sounds like it is working good.

Roy
Was this
answer
helpful?
Yes
No
Sunday, June 3rd, 2018 AT 5:06 PM
Tiny
ZEMORZEMOR
  • MEMBER
  • 486 POSTS
Should the compressor cycle at idle? It was cycling when I was adding the first can but after that when adding the second it ran continually. What about the temperature at idle is it normal?
Was this
answer
helpful?
Yes
No
Sunday, June 3rd, 2018 AT 5:08 PM
Tiny
ASEMASTER6371
  • MECHANIC
  • 52,796 POSTS
The compressor cycled due to Freon level low. Once you filled the system it will stay running.

The temperature is good at idle. Even better while moving.

What was the high side and low side pressures at idle?

Roy
Was this
answer
helpful?
Yes
No
Sunday, June 3rd, 2018 AT 5:10 PM
Tiny
ZEMORZEMOR
  • MEMBER
  • 486 POSTS
At idle high side was between 250 and 275 and low side above 50 around 53.
Was this
answer
helpful?
Yes
No
Sunday, June 3rd, 2018 AT 5:55 PM
Tiny
ASEMASTER6371
  • MECHANIC
  • 52,796 POSTS
A bit high but good. Did you make sure the radiator and condenser fins are clear of any dirt and debris and you have good air flow from the fan?

Roy
Was this
answer
helpful?
Yes
No
Sunday, June 3rd, 2018 AT 6:01 PM
Tiny
ZEMORZEMOR
  • MEMBER
  • 486 POSTS
Yes, I cleaned the condenser when I did the timing belt. So should the compressor cycle or not?

Thank you.
Was this
answer
helpful?
Yes
No
Sunday, June 3rd, 2018 AT 6:03 PM
Tiny
ASEMASTER6371
  • MECHANIC
  • 52,796 POSTS
Nope, there is no need with the readings you have.

In my opinion, you are good to go.

Roy
Was this
answer
helpful?
Yes
No
Sunday, June 3rd, 2018 AT 6:12 PM
Tiny
ZEMORZEMOR
  • MEMBER
  • 486 POSTS
I will clean the condenser again and straighten the fins. The other thing is I had problem with the fan it was not engaging and the car was overheating. The problem was the fan connector was sparking and burn out. I just tighten the pins.
Was this
answer
helpful?
Yes
No
Sunday, June 3rd, 2018 AT 6:15 PM
Tiny
ASEMASTER6371
  • MECHANIC
  • 52,796 POSTS
Okay.

I would get a new pig tail for the connector and replace it.

Roy
Was this
answer
helpful?
Yes
No
Sunday, June 3rd, 2018 AT 6:18 PM
Tiny
ZEMORZEMOR
  • MEMBER
  • 486 POSTS
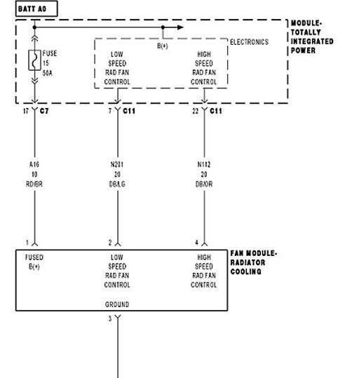
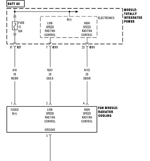
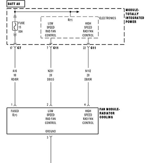
Today I cleaned the condenser and straighten the fins. Temperature is the same. Also I checked the fan operation. There are two relay's on the top of the fan. When I jumped the first one the fan run. When I jumped the second one the fan ran with the same speed. I heard this car has two speed fan? Low and high. How the computer command the high speed fan?
Was this
answer
helpful?
Yes
No
Tuesday, June 5th, 2018 AT 11:56 AM
Tiny
ASEMASTER6371
  • MECHANIC
  • 52,796 POSTS
The TIPM or the fuse box controls the high speed fan. The dark blue/orange wire should be hot to run the fan at high speed. If that wire is hot or has voltage, the fan itself is the failure.

Roy
Was this
answer
helpful?
Yes
No
Tuesday, June 5th, 2018 AT 1:02 PM
Tiny
ZEMORZEMOR
  • MEMBER
  • 486 POSTS
The compressor making little noise when initially turn the AC on. After few seconds goes away.
Was this
answer
helpful?
Yes
No
Friday, June 8th, 2018 AT 8:11 AM
Tiny
ASEMASTER6371
  • MECHANIC
  • 52,796 POSTS
Okay, that sounds like the compressor is low in oil. That oil is separate from the Freon system. In order to check this, the compressor will need to be removed and the oil drained. Compare that to what the spec is for the compressor. Add as necessary.

If you do not do this, the compressor will fail.

Roy

The spec is 5.5 ounces of oil.

Roy
Was this
answer
helpful?
Yes
No
Friday, June 8th, 2018 AT 11:28 AM
Tiny
ZEMORZEMOR
  • MEMBER
  • 486 POSTS
So I need to drain and add 5.5 oil to the compressor. Do I need to consider the oil left in the lines, accumulator. Etc?
Was this
answer
helpful?
Yes
No
Friday, June 8th, 2018 AT 1:28 PM
Tiny
ASEMASTER6371
  • MECHANIC
  • 52,796 POSTS
No, separate system for oil.

When you recover the Freon, there should be little or no oil recovered from the Freon system.

Roy
Was this
answer
helpful?
Yes
No
Friday, June 8th, 2018 AT 1:32 PM
Tiny
ZEMORZEMOR
  • MEMBER
  • 486 POSTS
So what I need to do is to remove compressor, empty it from its oil, put 5.5 oz oil in it and do not worry about the oil left in the other parts?
Was this
answer
helpful?
Yes
No
Friday, June 8th, 2018 AT 1:58 PM
Tiny
ASEMASTER6371
  • MECHANIC
  • 52,796 POSTS
That is correct.

Roy
Was this
answer
helpful?
Yes
No
Friday, June 8th, 2018 AT 3:02 PM
Tiny
ZEMORZEMOR
  • MEMBER
  • 486 POSTS
I am confused sorry.
I did some recherche I found out:
Total system capacity 6.1 oz.
Filter drier 1.0 oz.
Condenser 1.0 oz.
Evaporator 2.0 oz.
All refrigerant line 1.5 oz.

If I put 5.5 oz in compressor the system will have 10.5 oz of oil which is too much.
Was this
answer
helpful?
Yes
No
Thursday, June 14th, 2018 AT 8:27 AM

Please login or register to post a reply.