The A/C switches from panel to defrost when I accelerate/ cannot find vacuum canister

Tiny
RAUL V GARZA
  • MEMBER
  • 2007 FORD E-SERIES VAN
  • 125,000 MILES
Need location of vacuum canister
Friday, October 14th, 2011 AT 1:54 AM

2 Replies

Tiny
JACOBANDNICKOLAS
  • MECHANIC
  • 110,194 POSTS
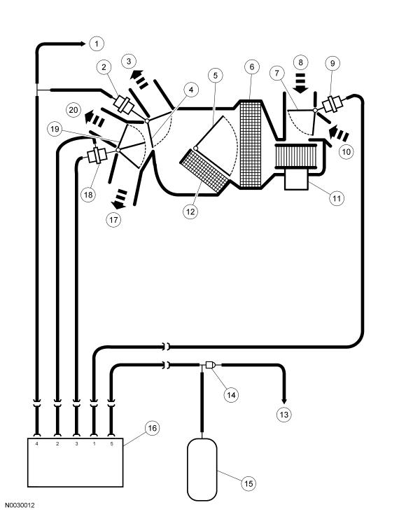
You have a vacuum leak. Check under the dash and the supply hose from the intake. There is no canister per se, but there is a vacuum check valve that could be bad. Based on what you described, there is a vacuum reservoir that does the same as a canister. I have attached a vacuum schematic to help identify the problem.
Was this
answer
helpful?
Yes
No
-1
Friday, October 14th, 2011 AT 2:04 AM
Tiny
RAUL V GARZA
  • MEMBER
  • 2 POSTS
Thank you I resceived the schematic but did not get a legend to go with it ( it shows ther parts but not description ) need the description to locate easier, thanks raul garza
Was this
answer
helpful?
Yes
No
Friday, October 14th, 2011 AT 10:25 PM

Please login or register to post a reply.