Blend Door Actuator? Vents don't switch?

Tiny
JMTRAP08
  • MEMBER
  • 2007 CHEVROLET TAHOE
Ac won't switch from vent to floor to defrost.
Saturday, January 26th, 2013 AT 9:16 PM

29 Replies

Tiny
GMTECH
  • MECHANIC
  • 537 POSTS
Hello,

This is common when the mode actuator goes out here is a guide to help you fix the problem.

https://www.2carpros.com/articles/replace-blend-door-motor

Please run down this guide and report back.
Was this
answer
helpful?
Yes
No
-1
Thursday, January 31st, 2013 AT 4:05 PM
Tiny
HYBRIDREX
  • MEMBER
  • 1 POST
I had to get a new mode actuator was not that bad installing it had to pay $78.00 for the part.
Was this
answer
helpful?
Yes
No
+2
Wednesday, December 4th, 2019 AT 8:26 PM
Tiny
JIMMY WILSON
  • MEMBER
  • 3 POSTS
  • 2005 CHEVROLET TAHOE
  • 4.8L
  • V8
  • 2WD
  • AUTOMATIC
  • 120,000 MILES
After installing actuator I get full seat in the middle position of the temperature control.
Was this
answer
helpful?
Yes
No
Thursday, September 24th, 2020 AT 10:33 AM (Merged)
Tiny
STEVE W.
  • MECHANIC
  • 15,676 POSTS
Sounds like the door was in the wrong spot when you installed the actuator. Not hard to correct. Remove the actuator, turn the control to full hot, now move the door so it is in the full hot position and tight on the seal. Reinstall the actuator. Test again.
Was this
answer
helpful?
Yes
No
+1
Thursday, September 24th, 2020 AT 10:33 AM (Merged)
Tiny
JIMMY WILSON
  • MEMBER
  • 3 POSTS
Thanks for your reply Steve, I have tried that but it is still resorts to the same position. I have read somewhere that there is a reset using the fuses. Is that correct?
Was this
answer
helpful?
Yes
No
Thursday, September 24th, 2020 AT 10:33 AM (Merged)
Tiny
STEVE W.
  • MECHANIC
  • 15,676 POSTS
You can pull the heater fuses and see if the system re-calibrates.

Pull the HVAC fuse under the hood and the Heater fuse in the dash fuse panel.
Leave them out for at least two minutes (longer is okay)
Replace the fuses, start the engine and don't touch the HVAC controls.
Let it run for two minutes. Shut off the engine and open and close the driver's door. Start the engine and see if the re-calibration worked.
If not you may have a code stored in the HVAC module that needs to be cleared and then re-calibrated with a tech2 or equivalent scan tool.
Was this
answer
helpful?
Yes
No
-1
Thursday, September 24th, 2020 AT 10:33 AM (Merged)
Tiny
JIMMY WILSON
  • MEMBER
  • 3 POSTS
Thank you, will try that tomorrow.
Was this
answer
helpful?
Yes
No
Thursday, September 24th, 2020 AT 10:33 AM (Merged)
Tiny
PAUL RAE
  • MEMBER
  • 2 POSTS
  • 2005 CHEVROLET TAHOE
  • 5.3L
  • V8
  • 2WD
  • AUTOMATIC
  • 111,000 MILES
I have been told that my defrost is not working because the actuator needs to be replaced. I need advice as to the location and replacement of this actuator. If available a video would be nice. It is a dual level system if that makes a difference.
Was this
answer
helpful?
Yes
No
+4
Thursday, September 24th, 2020 AT 10:33 AM (Merged)
Tiny
ASEMASTER6371
  • MECHANIC
  • 52,796 POSTS
Good morning,

Below is the procedure and I added some pictures for you for the process of changing the actuator.

Roy

MODE ACTUATOR REPLACEMENT

REMOVAL PROCEDURE

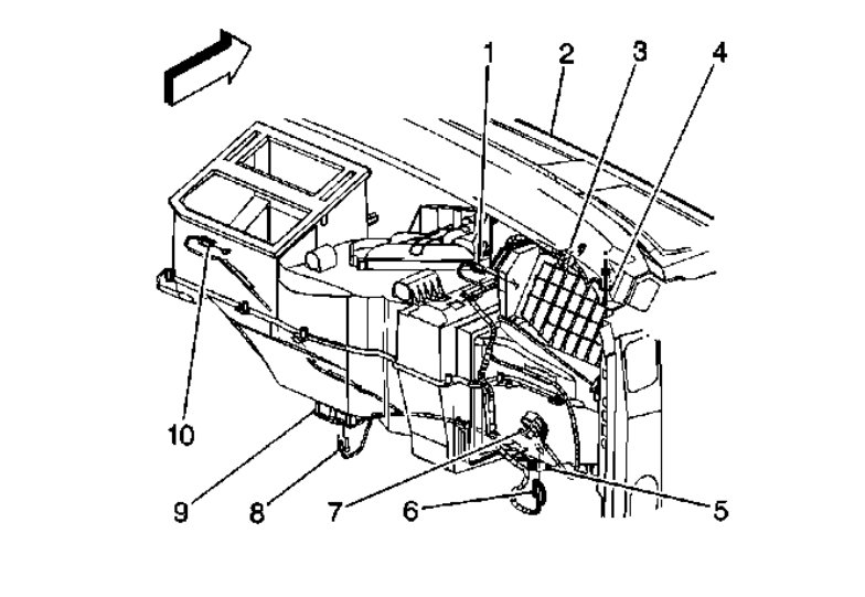
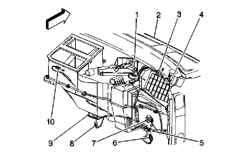
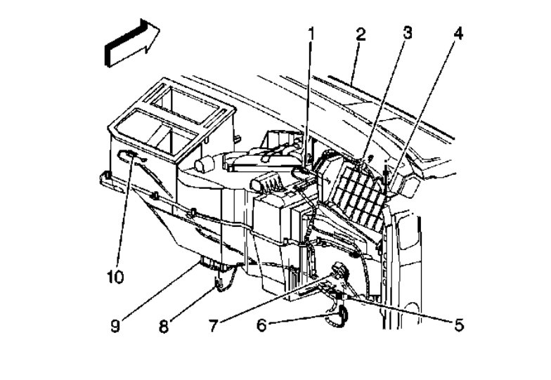
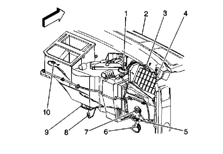
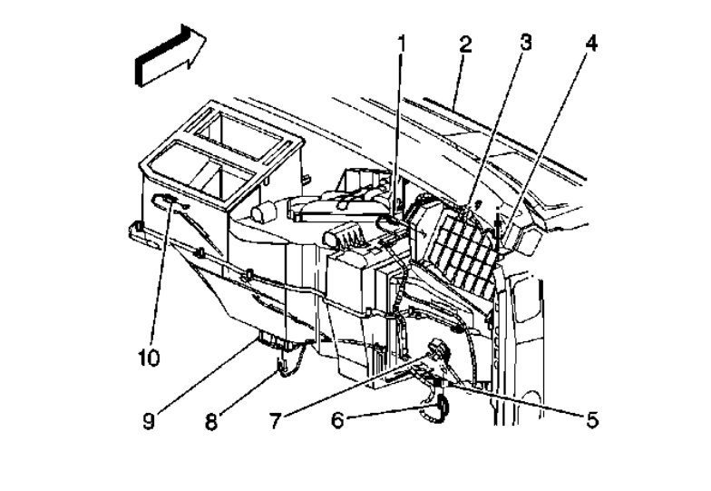
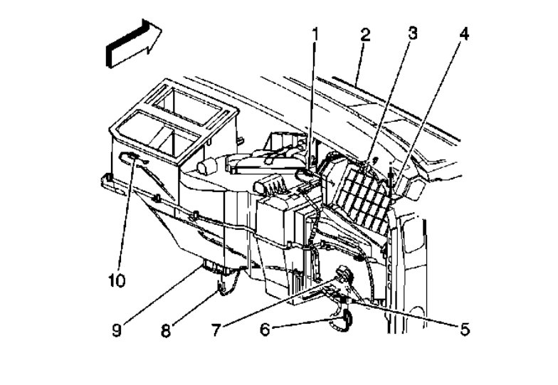
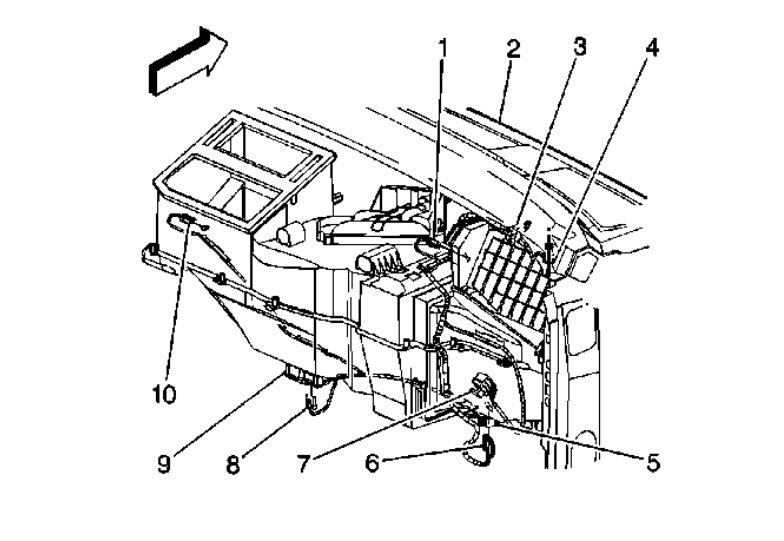
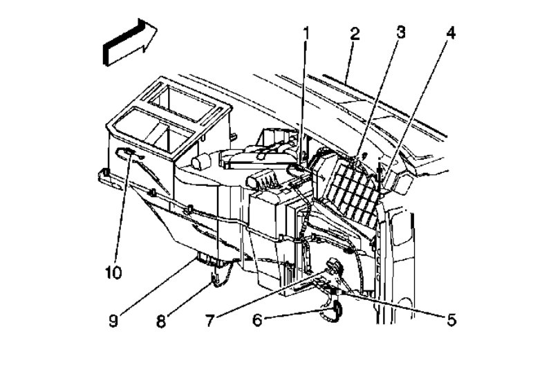
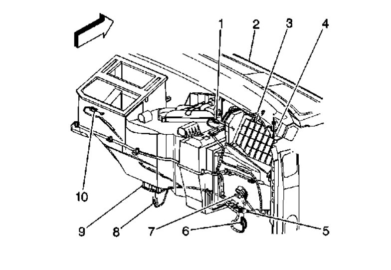
imageOpen In New TabZoom/Print

1. Remove the floor air outlet duct extension (1) from the floor duct (2).
2. Remove the center console.
3. Remove the screws from the center console duct.
4. Remove the center console duct.

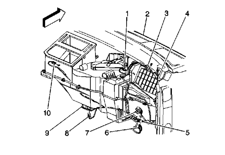
ImageOpen In New TabZoom/Print

5. Disconnect the electrical connection from the mode actuator (10).

ImageOpen In New TabZoom/Print

6. Remove the mode actuator mounting screws from the HVAC module.
7. Remove the mode actuator as an assembly with the actuator cam.
Was this
answer
helpful?
Yes
No
+1
Thursday, September 24th, 2020 AT 10:34 AM (Merged)
Tiny
PAUL RAE
  • MEMBER
  • 2 POSTS
This procedure helped me a great deal, but I still have an issue. I believe the actuator I was provided with was for the blend door for this system. Will that make a difference? Now I seem to have just the defroster air flow and no heater or front console air flow.
Was this
answer
helpful?
Yes
No
Thursday, September 24th, 2020 AT 10:34 AM (Merged)
Tiny
ASEMASTER6371
  • MECHANIC
  • 52,796 POSTS
Then you need to get the mode door actuator. The procedure was in my last reply.

Roy
Was this
answer
helpful?
Yes
No
Thursday, September 24th, 2020 AT 10:34 AM (Merged)
Tiny
DAKOTA DAVIDSON
  • MEMBER
  • 3 POSTS
  • 2005 CHEVROLET TAHOE
  • 5.3L
  • V8
  • 4WD
  • AUTOMATIC
  • 330,000 MILES
I watched your video on changing a blend door actuator. I took it out and I ran the air conditioner without it and it was cold then hot minutes later on drivers side only. So I put the new one in does the same thing. Could this be another actuator or the digital dual climate control or the ECU?
Was this
answer
helpful?
Yes
No
Thursday, September 24th, 2020 AT 10:34 AM (Merged)
Tiny
HMAC300
  • MECHANIC
  • 48,601 POSTS
You may have changed the wrong actuator. Picture shows one for driver's side as there are a few it is on passenger side of the car.
Was this
answer
helpful?
Yes
No
+1
Thursday, September 24th, 2020 AT 10:34 AM (Merged)
Tiny
DAKOTA DAVIDSON
  • MEMBER
  • 3 POSTS
That is the one I changed just like. In the video. Where are the others you described?
Was this
answer
helpful?
Yes
No
Thursday, September 24th, 2020 AT 10:34 AM (Merged)
Tiny
HMAC300
  • MECHANIC
  • 48,601 POSTS
Take the actuator out and see if door moves it may be broken and not moving. There may be a repair kit by Dorman to fix it without pulling dash and HVAC unit to fix it.
Was this
answer
helpful?
Yes
No
+1
Thursday, September 24th, 2020 AT 10:34 AM (Merged)
Tiny
DAKOTA DAVIDSON
  • MEMBER
  • 3 POSTS
I will check. But if it goes from cold to hot and I turn the truck off and it switches back to cold then to hot then the door must be moving. Could a vacuum be causing the door to change position?
Was this
answer
helpful?
Yes
No
Thursday, September 24th, 2020 AT 10:34 AM (Merged)
Tiny
HMAC300
  • MECHANIC
  • 48,601 POSTS
No, they are electric, try pulling the fuse for HVAC inside vehicle for sixty seconds with key on it may reset it so it works right. If that does not work then put the door in hot position with actuator out then reinstall actuator see if that does it.
Was this
answer
helpful?
Yes
No
Thursday, September 24th, 2020 AT 10:34 AM (Merged)
Tiny
JPATT82
  • MEMBER
  • 2 POSTS
  • 2004 CHEVROLET TAHOE
  • V6
  • 2WD
  • AUTOMATIC
  • 175,000 MILES
Are there 2 blend air doors? If so, I found the one under the passenger seat. Where is the other one?
Thank You
Jarrett
Was this
answer
helpful?
Yes
No
Thursday, September 24th, 2020 AT 10:34 AM (Merged)
Tiny
HMAC300
  • MECHANIC
  • 48,601 POSTS
Actually there are 4 I have 3 pictured. Onefor mode two for temp rh and lh and one for recurculation. If they don't work try pulling hvac fuse for 60 seconds with key on sometimes they will reset. And they areon hvac unit under dash not under seat
Was this
answer
helpful?
Yes
No
+1
Thursday, September 24th, 2020 AT 10:34 AM (Merged)
Tiny
JPATT82
  • MEMBER
  • 2 POSTS
Oh. Thanks. I had no clue. Ok then, any clue which one would cause my driver side ac turn to heat?
Thank You
Jarrett
Was this
answer
helpful?
Yes
No
Thursday, September 24th, 2020 AT 10:34 AM (Merged)

Please login or register to post a reply.