Drivers or passengers side of the vents are not working for AC or heater?

Tiny
ANAYALATER956
  • MEMBER
  • 2006 CHEVROLET SILVERADO
  • 6 CYL
  • 2WD
  • AUTOMATIC
  • 64,000 MILES
Cold air only blowing on passesnger side vents, driver side vents blowing hot air no matter what setting I use. Duel climate control manual butons, my question is: Is this the bottom passenger actuator that needs to be replaced and how many actuators are in my truck?
Tuesday, April 21st, 2015 AT 3:52 PM

43 Replies

Tiny
HMAC300
  • MECHANIC
  • 48,601 POSTS
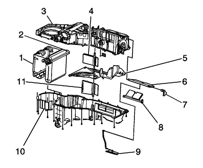
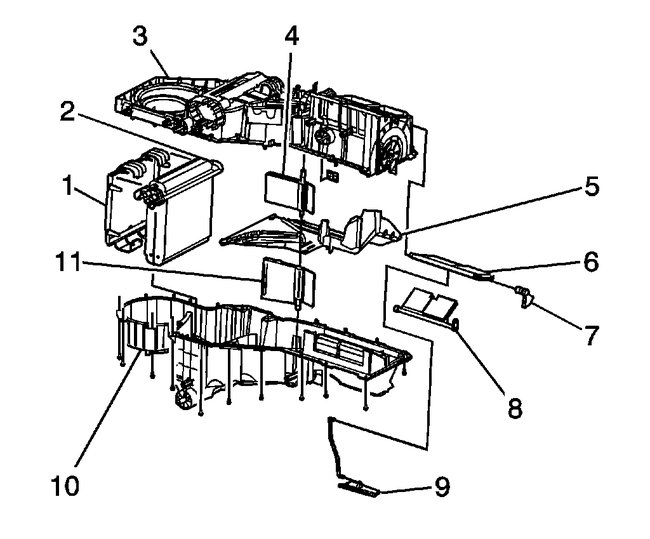
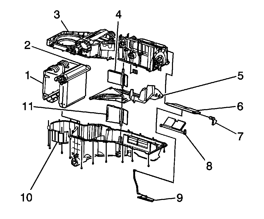
There are three one for temp and one for each side. Prior to replacing the actuators pull the hvac fuse inside truck with key on for 60 seconds it may reset them and get it working. It should be scanned for codes as well to see if heater control is sending power to the actuators. #4 in pic is for right side 6 is mode like defrost vent etc.
Was this
answer
helpful?
Yes
No
Friday, June 26th, 2020 AT 11:57 AM
Tiny
ANAYALATER956
  • MEMBER
  • 2 POSTS
That image I was sent is upside down right cause I can feel an actuator towards the center passenger side, also if it matters the passenger side changes ftom heat to cold and back with no problem, it's just the driver side stuck blowing hot air. Thanks for your help btw, I'll work on it tomorrow.
Was this
answer
helpful?
Yes
No
+1
Friday, June 26th, 2020 AT 11:57 AM
Tiny
HMAC300
  • MECHANIC
  • 48,601 POSTS
Actually no that is the way it sits in the truck. The view in this pic is the bottom an dthe actuator pointed to is for the drivers side for temp.
Was this
answer
helpful?
Yes
No
Friday, June 26th, 2020 AT 11:57 AM
Tiny
CBONEILL
  • MEMBER
  • 1 POST
  • 2006 CHEVROLET SILVERADO
  • 5.3L
  • V8
  • 2WD
  • AUTOMATIC
  • 82,000 MILES
After a rat invaded mt truck, I lost the ability to heat the entire left hand side of my interior and get heat through all ducts on the right hand side. Which part of the system should I troubleshoot?
Was this
answer
helpful?
Yes
No
Friday, April 30th, 2021 AT 11:49 AM (Merged)
Tiny
JACOBANDNICKOLAS
  • MECHANIC
  • 110,194 POSTS
Hi and thanks for using 2CarPros.

If you still get air flow through the left but no heat, I have a feeling the mouse chewed the wiring to the blend air door actuator on that side. That is the first thing I would check.

Here are general directions for replacing the actuator:

https://www.2carpros.com/articles/replace-blend-door-motor

Here are the specific directions for the left side blend door actuator. Picture 1 shows location.

AIR TEMPERATURE DOOR REPLACEMENT - LEFT (DELPHI)

REMOVAL PROCEDURE

Picture 1

1. Remove the HVAC module.
2. If equipped remove the heat stakes (1) from the HVAC module (2) with a screw driver and a hammer.

Picture 2

3. If equipped remove the HVAC module assembly screws.
4. Remove the upper HVAC module case (3) from the lower HVAC module case (10).
5. Remove the air temperature separator plate (5) from the lower HVAC module case (10).
6. Remove the left temperature door (11) from the lower HVAC module case (10).

INSTALLATION PROCEDURE

Picture 2

1. Install the left temperature door (11) to the lower HVAC module case (10).
2. Install the air temperature separator plate (5) to the lower HVAC module case (10).
3. Install the upper HVAC module case (3) to the lower HVAC module case (10).

NOTE: Refer to Fastener Notice in Service Precautions.

IMPORTANT: For every heat stake removed ensure that you install a screw.

4. Install the screws to the HVAC module assembly.

Tighten
Tighten the screws to 1.6 N.m (14 lb in).

5. Install the HVAC module.8

_________________________________________________

This is the first thing I would check. Let me know if this helps or if you have other questions. If you need additional information, please let me know if this has automatic or manual temperature control and dual climate control. I am basing you problem on a mechanical dual climate system, which most are.

Take care,
Joe
Was this
answer
helpful?
Yes
No
Friday, April 30th, 2021 AT 11:49 AM (Merged)
Tiny
PORTAFISHING
  • MEMBER
  • 37 POSTS
  • 2005 CHEVROLET SILVERADO
  • 5.3L
  • V8
  • 4WD
  • AUTOMATIC
  • 300,000 MILES
If if vehicle is running and you switch from A/C to heat it will not switch back to heat on the temperature control knob; unless you turn the vehicle off switch it to cold and then start the vehicle again then it blows cold until you move it to hot.
Was this
answer
helpful?
Yes
No
Friday, April 30th, 2021 AT 11:50 AM (Merged)
Tiny
JACOBANDNICKOLAS
  • MECHANIC
  • 110,194 POSTS
That is an interesting one. The blend air door actuator is electric, so it shouldn't matter if the engine is already running.

Does the vehicle have duel climate control? If so, does it happen to both sides of the vehicle?

What I suggest is this. You may have a weak or bad blend air door actuator. I would remove the actuator and see if it responds when normally it wouldn't. At least that way we can determine if the actuator is working and if not, if it is getting power.

Let me know about that. Also, here is a link that shows in general how a blend air door actuator is replaced:

https://www.2carpros.com/articles/replace-blend-door-motor

Here are directions specific to your vehicle. The attached pictures correlate with the directions.

REMOVAL PROCEDURE
1. Remove the IP insulator.

2. Disconnect the electrical connector (8) from the air temperature actuator (9).
3. Remove the air temperature actuator retaining screws.
4. Remove the air temperature actuator.

INSTALLATION PROCEDURE

1. Install the air temperature actuator.
2. Install the air temperature actuator retaining screws.

NOTE: Refer to Fastener Notice in Service Precautions.

Tighten the screws to 1.6 N.m (14 lb in).
3. Connect the electrical connector (8) to the air temperature actuator (9).
4. Install the IP insulator.

Check out the diagrams (Below). Please let us know what happens.
Was this
answer
helpful?
Yes
No
+1
Friday, April 30th, 2021 AT 11:50 AM (Merged)
Tiny
JFKBLDR
  • MEMBER
  • 1 POST
  • 2005 CHEVROLET SILVERADO
  • 5.3L
  • V8
  • 2WD
  • AUTOMATIC
  • 281,000 MILES
My truck's heater defrost/heater has not worked on the driver side or middle vent. Found that the blend door motor behind radio is not working all others do. Why have I not been able to find videos which apply to this? Every one has only the easy ones to replace.
Thanks
Was this
answer
helpful?
Yes
No
Friday, April 30th, 2021 AT 11:50 AM (Merged)
Tiny
JACOBANDNICKOLAS
  • MECHANIC
  • 110,194 POSTS
Hi and thanks for using 2CarPros.

Here are the directions for removal of the instrument panel removal and replacement. Picture 1 correlates with these directions.

Instrument Panel (I/P) Assembly Replacement

Removal Procedure

Caution: Refer to Battery Disconnect Caution in Service Precautions.

Caution: Refer to Restraint System Service Precautions in Service Precautions.

1. Remove the instrument panel (I/P) trim panel.
2. Remove the center console, if equipped.
3. Disconnect the negative battery cable.
4. Remove the driver side knee bolster.
5. Remove the lower I/P trim panel.
6. Remove the passenger side airbag module.
7. Remove the radio.
8. Remove the HVAC control.
9. Remove the accessory switch housing.
10. Remove the left air louver housing.
11. Remove the steering column.
12. Remove the communication interface module (CIM), if equipped.
13. Remove the remote control door lock receiver module, if equipped.
14. Remove the data link connector from the I/P.
15. Remove the park brake release lever from the I/P.
16. Remove the instrument panel cluster (IPC).
17. Remove both front window air ducts from the I/P assembly.
18. Remove the harness from the I/P.

Picture 1
19. Remove the I/P assembly retaining bolts (3) and nuts (4).
20. Remove all harness hold down retainers from the I/P assembly.
21. Remove the I/P assembly from the vehicle.

Installation Procedure

1. Install the I/P assembly to the vehicle.
2. Install the harness hold down retainers to the I/P assembly.

Picture 1
3. Install the I/P assembly retaining bolts (3) and nuts (4).
Ensure the wire harness is routed to all of the openings.
4. Install the harness to the I/P.
5. Install both front window air duct to the I/P assembly.
6. Install the IPC assembly.
7. Install the park brake release lever to the I/P.
8. Install the data link connector to the I/P.
9. Install the remote control door lock receiver module, if equipped.
10. Install the CIM, if equipped.
11. Install the steering column.
12. Install the left air louver housing.
13. Install the accessory switch housing.
14. Install the HVAC control.
15. Install the radio.
16. Install the passenger side airbag module.
17. Install the lower trim panel.
18. Install the driver side knee bolster.
19. Connect the negative battery cable.
20. Install the center console, if equipped.
21. Install the I/P trim panel.

_________________________

Here are the directions for the left actuator replacement.

AIR TEMPERATURE ACTUATOR REPLACEMENT - LEFT

REMOVAL PROCEDURE
1. Remove the I/P insulator panel.

Picture 2
2. Disconnect the electrical connector (1) from the left air temperature actuator (2).
3. Remove the screws from the left air temperature actuator (2).
4. Remove the left air temperature actuator (2) from the HVAC module assembly (3).

INSTALLATION PROCEDURE

Picture 2
1. Install the left air temperature actuator (2) to the HVAC module assembly (3).
2. Install the screws to the left air temperature actuator (2).

NOTE: Refer to Fastener Notice in Service Precautions.

Tighten the screws to 2 N.M (18 lb ft).

3. Install the electrical connector (1) to the left air temperature actuator (2).
4. Install the I/P insulator panel.
5. Reprogram the left air temperature actuator. Refer to Re-Calibrating Actuators.

____________________________________________________________

Let me know if this helps or if you need additional information.

Take care,
Joe
Was this
answer
helpful?
Yes
No
Friday, April 30th, 2021 AT 11:50 AM (Merged)
Tiny
NIKOBALL
  • MEMBER
  • 1 POST
  • 2005 CHEVROLET SILVERADO
  • 5.3L
  • V8
  • 2WD
  • AUTOMATIC
  • 137,470 MILES
Hot air from drivers side only when A/C is turned on. Sometimes it blows cold and other times it’s hot air. It has a mind if its own. Which actuator do I replace and what is the part number?
Was this
answer
helpful?
Yes
No
Friday, April 30th, 2021 AT 11:51 AM (Merged)
Tiny
ASEMASTER6371
  • MECHANIC
  • 52,796 POSTS
Good evening,

It is under the dash, left side. I attached a picture for you and the procedure below.

You can call a parts store for the part number.

Roy

AIR TEMPERATURE ACTUATOR REPLACEMENT - LEFT

REMOVAL PROCEDURE
1. Remove the I/P insulator panel.

ImageOpen In New TabZoom/Print

2. Disconnect the electrical connector (1) from the left air temperature actuator (2).
3. Remove the screws from the left air temperature actuator (2).
4. Remove the left air temperature actuator (2) from the HVAC module assembly (3).
Was this
answer
helpful?
Yes
No
Friday, April 30th, 2021 AT 11:51 AM (Merged)
Tiny
DUTCH11
  • MEMBER
  • 1 POST
  • 2005 CHEVROLET SILVERADO
  • 4.3L
  • V6
  • 2WD
  • AUTOMATIC
  • 297,345 MILES
It is okay for awhile and then all of sudden it goes from cold to hot?
Was this
answer
helpful?
Yes
No
Friday, April 30th, 2021 AT 11:51 AM (Merged)
Tiny
JACOBANDNICKOLAS
  • MECHANIC
  • 110,194 POSTS
Hi,

If the change only happens on the driver's side, chances are the is an issue with what is called a blend air door actuator. There is one for the left side of the vehicle and one for the right side. It sounds like the left is failing.

Here is a link that shows in general how one is replaced:

https://www.2carpros.com/articles/replace-blend-door-motor

____________________________

Here are directions specific to this vehicle. Note that these directions are specific to a manual AC system and not automatic climate control. If you have the automatic system, let me know.

____________________________

2005 Chevy Truck Silverado 1500 2WD V6-4.3L VIN X
Air Temperature Actuator - Left
Vehicle Heating and Air Conditioning Air Door Actuator / Motor Service and Repair Procedures HVAC System - Manual Air Temperature Actuator - Left
AIR TEMPERATURE ACTUATOR - LEFT
AIR TEMPERATURE ACTUATOR REPLACEMENT - LEFT

REMOVAL PROCEDURE
1. Remove the I/P insulator panel.

pic 1

2. Disconnect the electrical connector (1) from the left air temperature actuator (2).
3. Remove the screws from the left air temperature actuator (2).
4. Remove the left air temperature actuator (2) from the HVAC module assembly (3).

INSTALLATION PROCEDURE

pic 2

1. Install the left air temperature actuator (2) to the HVAC module assembly (3).
2. Install the screws to the left air temperature actuator (2).

NOTE: Refer to Fastener Notice in Service Precautions.

Tighten the screws to 2 N.m (18 lb ft).

3. Install the electrical connector (1) to the left air temperature actuator (2).
4. Install the I/P insulator panel.
5. Reprogram the left air temperature actuator. Refer to Re-Calibrating Actuators.

____________________________________

Please note that I am basing this on the idea that the AC continues to work on the passenger side. What I would suggest is to remove the actuator and see if it responds when the temperature is changed. Also, make sure nothing is loose or damaged causing it to move.

Let me know if this helps or if you have other questions.

Take care,
Joe
Was this
answer
helpful?
Yes
No
Friday, April 30th, 2021 AT 11:51 AM (Merged)
Tiny
B360853
  • MEMBER
  • 4 POSTS
  • 2005 CHEVROLET SILVERADO
  • 4WD
  • AUTOMATIC
  • 78,000 MILES
My truck has dual the cooling controls and the passenger side air blend door actuator has probably failed. Where is it located?
Was this
answer
helpful?
Yes
No
Friday, April 30th, 2021 AT 11:51 AM (Merged)
Tiny
KEN L
  • MASTER CERTIFIED MECHANIC
  • 55,481 POSTS
Hello,

We have an excellent guide for this.

https://www.2carpros.com/articles/replace-blend-door-motor

Please let us know what happens.

Cheers, Ken
Was this
answer
helpful?
Yes
No
Friday, April 30th, 2021 AT 11:51 AM (Merged)
Tiny
B360853
  • MEMBER
  • 4 POSTS
Thanks! I have seen that already. I neglected to specify in my question what I was actually looking for.

I understand there are two on my truck. One located 'below' (as your guide shows) and one on top which necessitates the dash removal. Can you tell me which one is for the passenger's side? I would really not prefer to spend the time messing with the bottom one if I am actually going to have to dis-assemble so much to get to the 'top' one.

Tia
Was this
answer
helpful?
Yes
No
Friday, April 30th, 2021 AT 11:51 AM (Merged)
Tiny
KEN L
  • MASTER CERTIFIED MECHANIC
  • 55,481 POSTS
The passengers side is the bottom one.

Please let us know what happens.

Cheers, Ken
Was this
answer
helpful?
Yes
No
+1
Friday, April 30th, 2021 AT 11:51 AM (Merged)
Tiny
B360853
  • MEMBER
  • 4 POSTS
I went to replace it this afternoon and discovered I will still need to get a lot of stuff out of the way to access it well, but I plugged the new one in to make sure it would operate properly. As soon as I plugged it in, it rotated all the way to the opposite side. I started the truck and tried to get to 'actuate' with all of the HVAC functions and it did not move, let alone the passenger side heat/cool control. My background as a locomotive troubleshooter makes me think that the problem may actually be with the control assembly itself and not the actuator itself. Is there anything else involved in making those actuators 'actuate'?
Was this
answer
helpful?
Yes
No
Friday, April 30th, 2021 AT 11:51 AM (Merged)
Tiny
HMAC300
  • MECHANIC
  • 48,601 POSTS
Do not forget to pull HVAC fuse inside truck once it is replaced so it will reset.
Was this
answer
helpful?
Yes
No
Friday, April 30th, 2021 AT 11:51 AM (Merged)
Tiny
HMAC300
  • MECHANIC
  • 48,601 POSTS
The fuse for HVAC inside the truck resets the actuators and must be done after an install.
Was this
answer
helpful?
Yes
No
Friday, April 30th, 2021 AT 11:51 AM (Merged)

Please login or register to post a reply.