Cruise control not working?

Tiny
ANONYMOUS
  • MEMBER
  • 2004 CHEVROLET AVALANCHE
  • 149,000 MILES
Cruise control doesn't work, what can I do to fix it?
Sunday, March 24th, 2013 AT 8:26 PM

16 Replies

Tiny
BLAZE45
  • MECHANIC
  • 380 POSTS
Hello,

There are 4 fuses that run the system lets me sure you have power to each of them with the key on the wiring diagrams below will show you the fuses to check I have also included the fuse panel diagrams as well.

https://www.2carpros.com/articles/how-to-check-a-car-fuse

Check out the diagrams (Below). Please let us know what you find. We are interested to see what it is.
Was this
answer
helpful?
Yes
No
+1
Friday, March 29th, 2013 AT 3:21 AM
Tiny
RSWIZARDS
  • MEMBER
  • 5 POSTS
I have went to autozone to have it scanned nothing came up? Thanks
Was this
answer
helpful?
Yes
No
-1
Friday, March 29th, 2013 AT 11:44 AM
Tiny
RSWIZARDS
  • MEMBER
  • 5 POSTS
I do have led tail lights. Which one of the items am I unplugging? Also the fuse box inside the truck that has a fuse marked cruise control is fine but a bit corroded. Thanks
Was this
answer
helpful?
Yes
No
+2
Wednesday, April 3rd, 2013 AT 3:24 PM
Tiny
BLAZE45
  • MECHANIC
  • 380 POSTS
Has the cruise stopped working since you put them in? Did the fuse test good? Also is there any DTC / Check engine light / system errors with the truck right now?
Was this
answer
helpful?
Yes
No
+4
Wednesday, April 3rd, 2013 AT 3:27 PM
Tiny
BLAZE45
  • MECHANIC
  • 380 POSTS
The connector for the cruise relay under the hood will be labeled.
Was this
answer
helpful?
Yes
No
Wednesday, April 3rd, 2013 AT 3:32 PM
Tiny
RSWIZARDS
  • MEMBER
  • 5 POSTS
I found the 10 amp cruise fuse holder was loose once I tightened up the terminals by bending them in the cruise started working thanks for your help.
Was this
answer
helpful?
Yes
No
+1
Wednesday, April 3rd, 2013 AT 3:38 PM
Tiny
BLAZE45
  • MECHANIC
  • 380 POSTS
Glad you could get it fixed, that kind of problem can be tough. Please use 2CarPros anytime we are here to help.
Was this
answer
helpful?
Yes
No
+1
Wednesday, April 3rd, 2013 AT 3:39 PM
Tiny
PANDRA
  • MEMBER
  • 1 POST
  • 2004 CHEVROLET AVALANCHE
  • 1.5L
  • V8
  • AUTOMATIC
  • 115,000 MILES
Both CC and airbag issue started close to same time.

Everything I've read about CC indicated brake light switch, but wanted to put this here and feedback. Thanks for whatever anyone can tell me.
Was this
answer
helpful?
Yes
No
+1
Monday, February 18th, 2019 AT 1:57 PM (Merged)
Tiny
CARADIODOC
  • MECHANIC
  • 34,481 POSTS
Both systems are related through the clock spring. That's a wound-up ribbon cable in a plastic housing under the steering wheel. If the cable is breaking, eventually the horn will also stop working.
Was this
answer
helpful?
Yes
No
+1
Monday, February 18th, 2019 AT 1:57 PM (Merged)
Tiny
2CP-ARCHIVES
  • MEMBER
  • 4,540 POSTS
  • 2005 CHEVROLET AVALANCHE
  • 55,000 MILES
The cruise control has stopped working. I think it is the switch in the turn signal. How do I replace it and where can I get the part?
Was this
answer
helpful?
Yes
No
+1
Monday, February 18th, 2019 AT 1:57 PM (Merged)
Tiny
JDL
  • MECHANIC
  • 16,098 POSTS
Have you done any testing? What about the cruise fuse, check the fuse and check for voltage. Any trouble codes for the cruise control. Some of the national brand autostores will check codes for free. To check codes yourself, at the least, you need an obd2 code reader. Hate to see you replace something then find out that didn't fix it.
Was this
answer
helpful?
Yes
No
+1
Monday, February 18th, 2019 AT 1:57 PM (Merged)
Tiny
JDL
  • MECHANIC
  • 16,098 POSTS
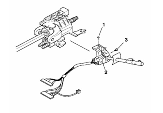
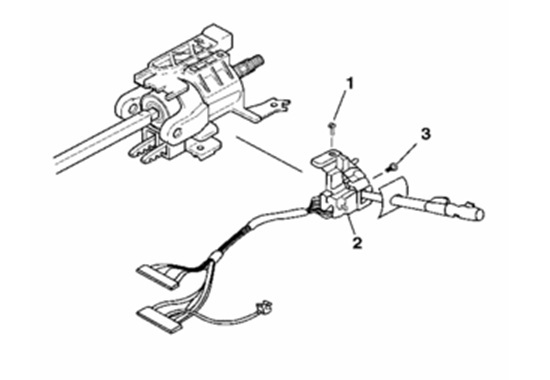
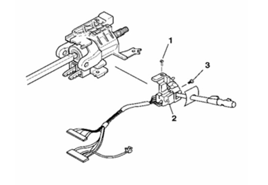
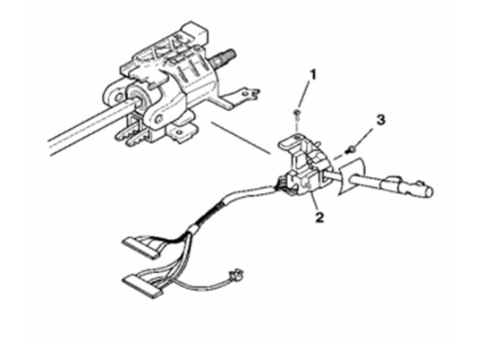
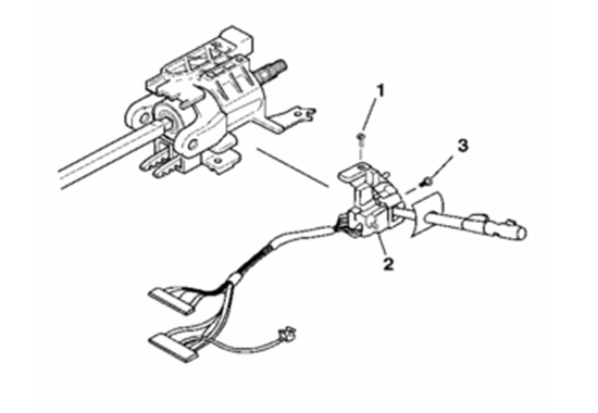
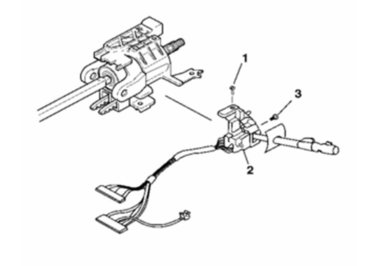
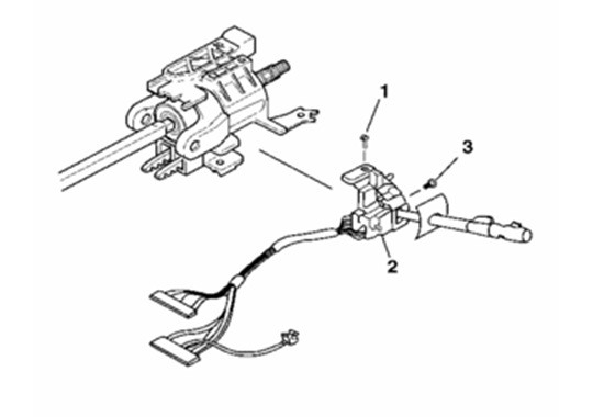
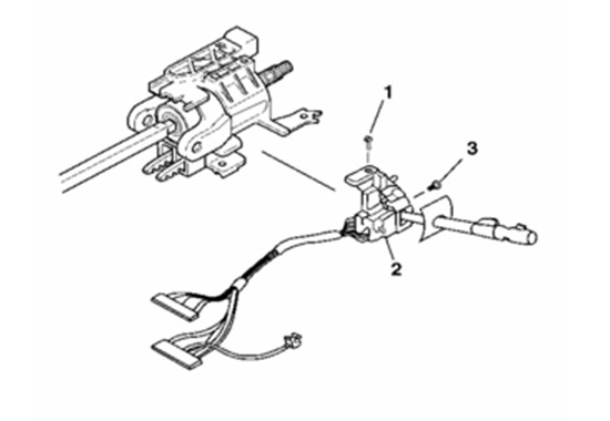
As far as removing the multifunction switch, there are safety issues because of the airbag. You will have to disarm the airbag and safely remove. Safety is your responsibility. You will have to remove steering wheel, usually requires a puller.
Disable the sir system/airbag.
Remove the steering wheel.
Remove the upper and lower steering column trim covers.
The abrasive sleeve located on the steering column wire harness assemble must be reinstalled. Make note of what connector is coming out of the abrasive sleeve for install purposes.
Remove the wire harness assembly 1 from the wire harness 2.
Dosconnect the turn signal and multifunction switch assembly connector from the sir system coil connector.
Slide the 2 connectors of the turn signal and multifunction switch assembly out of the bulkhead connector 1.
Remove the 2 panhead tapping screws 1 and 3 from the turn signal and multifunction switch assembly 2.
Remove the turn signal and multifunction switch assembly 2 from the steering column tilt head assembly.
Was this
answer
helpful?
Yes
No
-1
Monday, February 18th, 2019 AT 1:57 PM (Merged)
Tiny
ROC THOMAS
  • MEMBER
  • 1 POST
  • 2004 CHEVROLET AVALANCHE
  • 5.3L
  • V8
  • 4WD
  • AUTOMATIC
  • 138,000 MILES
ABS sensor broke. A buddy disconnected the ABS somewhere under the truck. I also had the fuel pump replaced. Now my cruise control does not work. Why?
Was this
answer
helpful?
Yes
No
Monday, February 18th, 2019 AT 1:57 PM (Merged)
Tiny
MHPAUTOS
  • MECHANIC
  • 31,937 POSTS
The cruise will require input form the wheel speed sensor, you will need to get this sorted first.
Was this
answer
helpful?
Yes
No
Monday, February 18th, 2019 AT 1:57 PM (Merged)
Tiny
ZACK 50
  • MEMBER
  • 1 POST
  • 2002 CHEVROLET AVALANCHE
  • V8
  • 4WD
  • AUTOMATIC
  • 127,000 MILES
Cruise control is not working and I change computer and cruise control module and switch combination and cluster and I check the fuses and harness wire one by one and there is a power on the switch and module and cluster
Was this
answer
helpful?
Yes
No
Monday, February 18th, 2019 AT 1:57 PM (Merged)
Tiny
RHALL77
  • MECHANIC
  • 3,361 POSTS
Do you have voltage at the cruise module on the other wires when you activate different functions on the switch
Was this
answer
helpful?
Yes
No
Monday, February 18th, 2019 AT 1:57 PM (Merged)

Please login or register to post a reply.