2002 Honda Civic gear selector

Tiny
CMEEGAN11
  • MEMBER
  • 2002 HONDA CIVIC
  • 1.6L
  • TURBO
  • 2WD
  • AUTOMATIC
  • 100,000 MILES
The gear selector does not line up with the dash board, drive is in between drive and neutral, d1, d2 do not show up at all.
Wednesday, June 4th, 2014 AT 12:12 PM

1 Reply

Tiny
HMAC300
  • MECHANIC
  • 48,601 POSTS
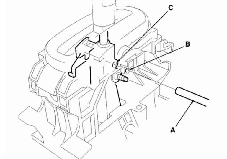
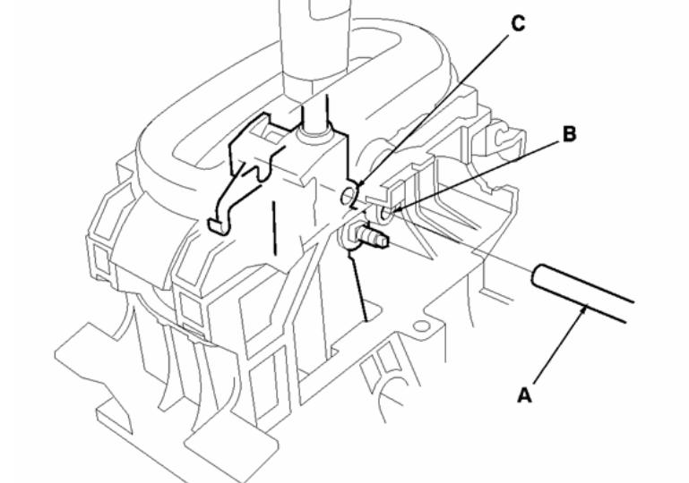
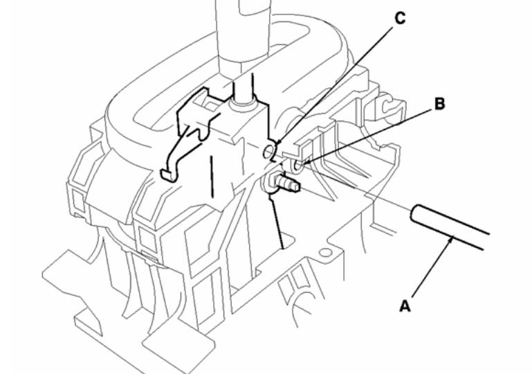
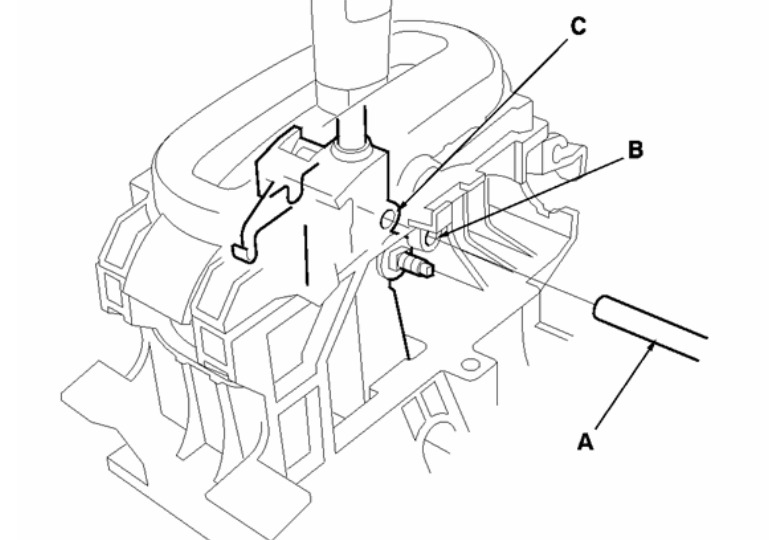
Try adjusting cable you have to remove center console then use a 6mm pin to insert inhole then adjust it to that point you'll have to loosen nuton shift cable as well see pics.
Was this
answer
helpful?
Yes
No
+3
Wednesday, June 4th, 2014 AT 12:46 PM

Please login or register to post a reply.