Fuse box diagrams my fuse box is missing

Tiny
PIERREJL240883
  • MEMBER
  • 2002 HONDA ACCORD
  • 4 CYL
  • AUTOMATIC
  • 15,000 MILES
My fuse box is missing some fuses can you send to me please a legend to help me replace missing fuse thanks.
Tuesday, April 29th, 2014 AT 7:32 PM

16 Replies

Tiny
WRENCHTECH
  • MECHANIC
  • 20,761 POSTS
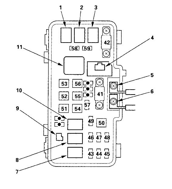
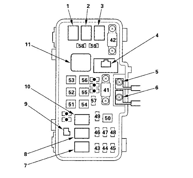
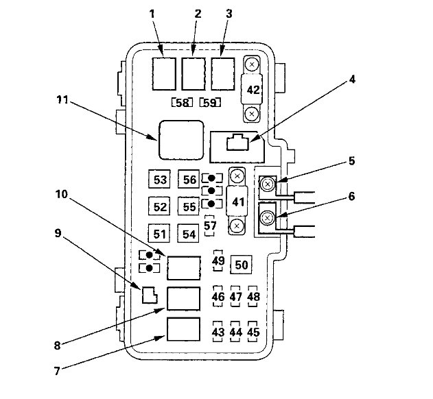
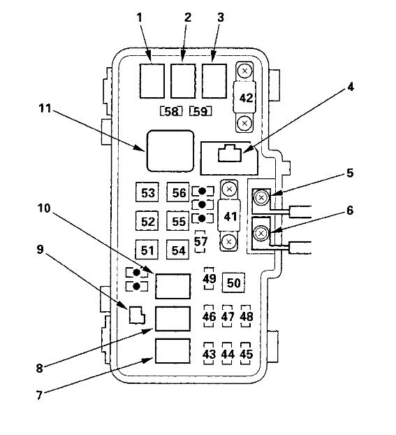
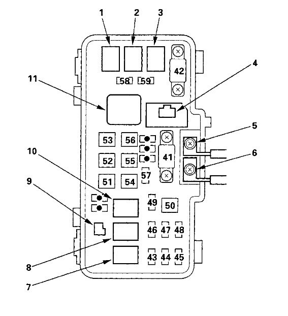
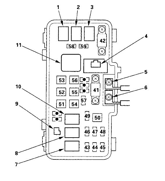
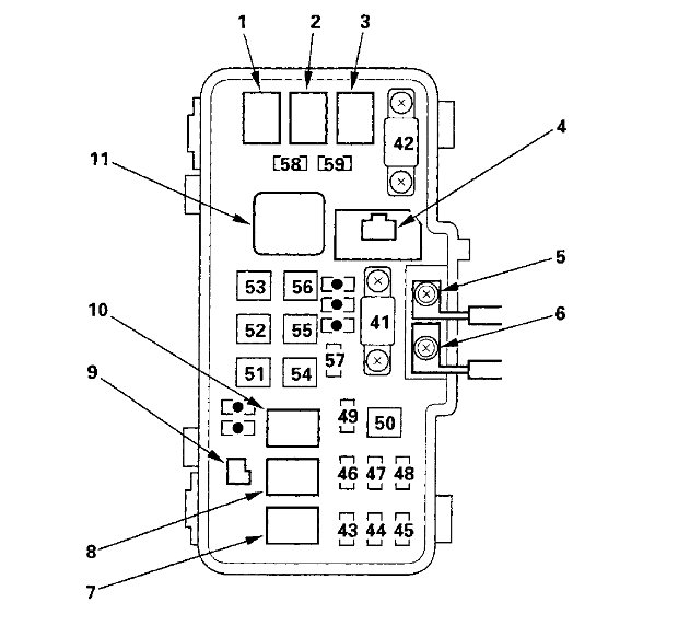
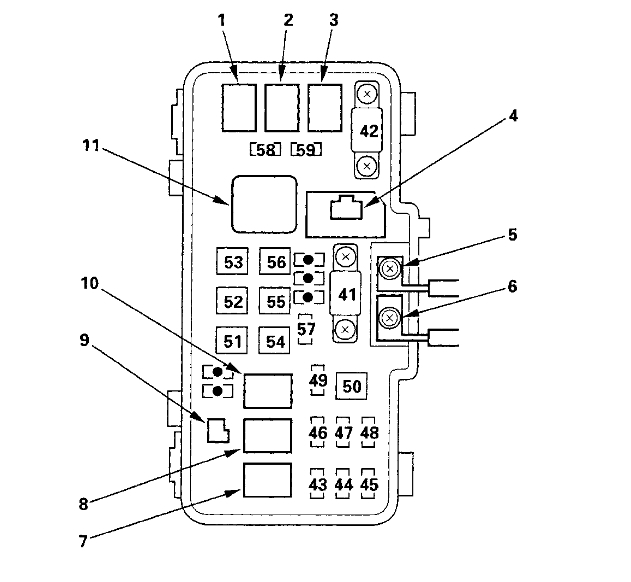
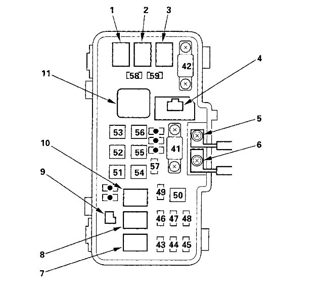
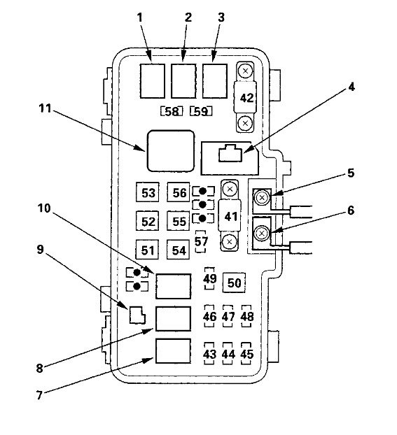
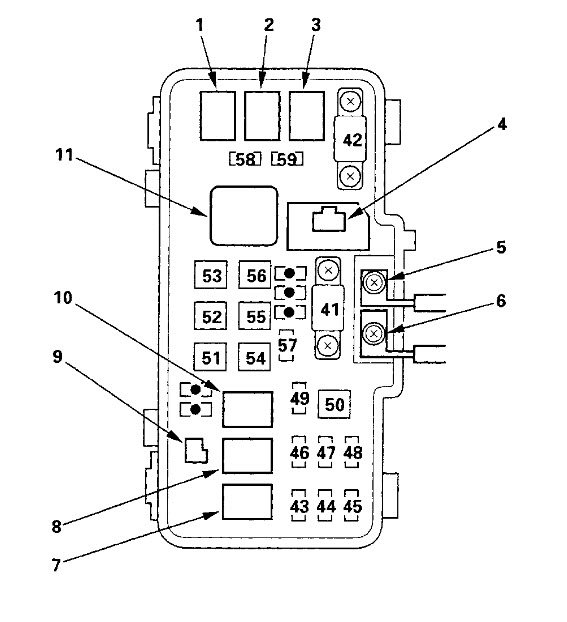
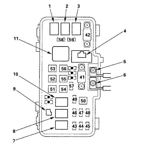
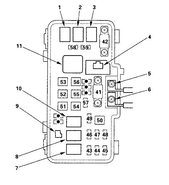
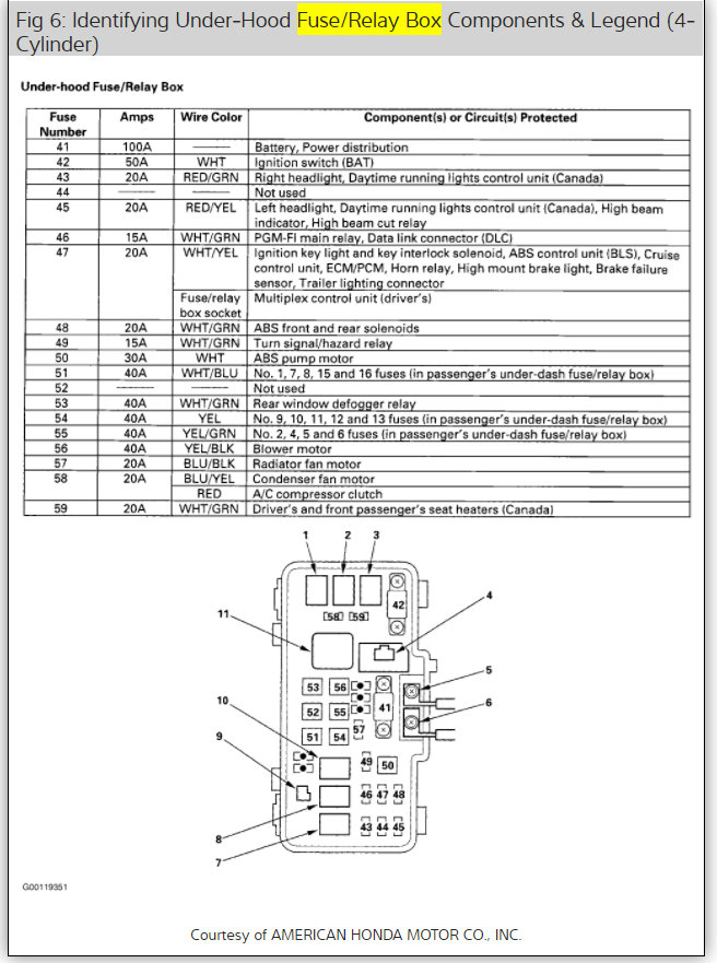
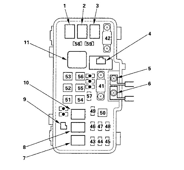
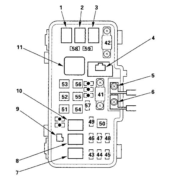
Here is a guide help help test the fuse with the fuse box location and identification in the diagrams below.

https://www.2carpros.com/articles/how-to-check-a-car-fuse

Check out the diagrams (Below). Please let us know if you need anything else to get the problem fixed.
Was this
answer
helpful?
Yes
No
Wednesday, April 30th, 2014 AT 2:51 AM
Tiny
PIERREJL240883
  • MEMBER
  • 2 POSTS
Thank you this site is the best!
Was this
answer
helpful?
Yes
No
Wednesday, April 30th, 2014 AT 8:56 AM
Tiny
NANKO
  • MEMBER
  • 1 POST
  • 2001 HONDA ACCORD
  • 6 CYL
My car stereo and cigarette lighter are not working, probably the fuse is out. There is fuse box near driver side inside and other one in the hood compartment. I have no clue where is this fuse and how it looks. Can you pl. Help me locate? A picture diagram would be very helpful.
Was this
answer
helpful?
Yes
No
Thursday, January 7th, 2021 AT 11:17 AM (Merged)
Tiny
DOCFIXIT
  • MECHANIC
  • 18,828 POSTS
Hello,

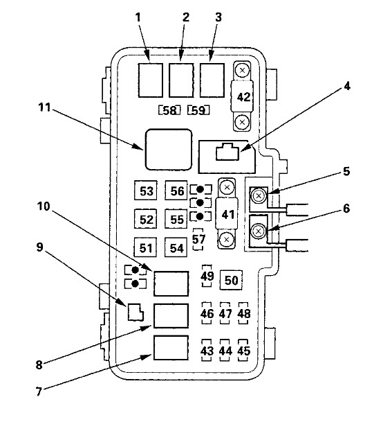
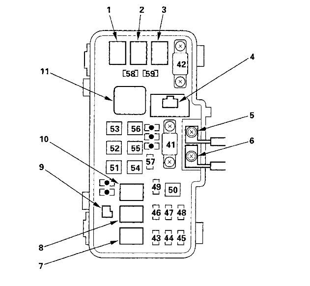
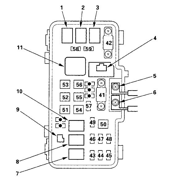
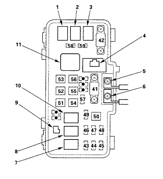
Can you please check fuse #9 using this guide. Check out the fuse panel diagrams (Below)

https://www.2carpros.com/articles/how-to-check-a-car-fuse

Check out the diagrams (Below). Please let us know if you need anything else to get the problem fixed.
Was this
answer
helpful?
Yes
No
+26
Thursday, January 7th, 2021 AT 11:17 AM (Merged)
Tiny
JHWAASER
  • MEMBER
  • 1 POST
  • 2001 HONDA ACCORD
  • 2.3L
  • 4 CYL
  • 2WD
  • AUTOMATIC
  • 308,000 MILES
I put in a new fuse, start engine, tachometer shows idle speed briefly, then fuse blows. Cannot take transmission out of park, power Windows don't work, no dash instruments, no backup lights, transmission starts in second gear, then shifts to third but won't go into fourth gear. How do I look for short circuit? Is there one particular breaker under the hood that I should check?
Was this
answer
helpful?
Yes
No
Thursday, January 7th, 2021 AT 11:17 AM (Merged)
Tiny
SCGRANTURISMO
  • MECHANIC
  • 4,897 POSTS
Hello,

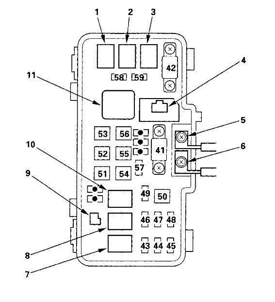
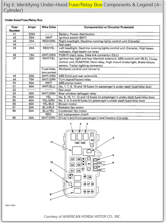
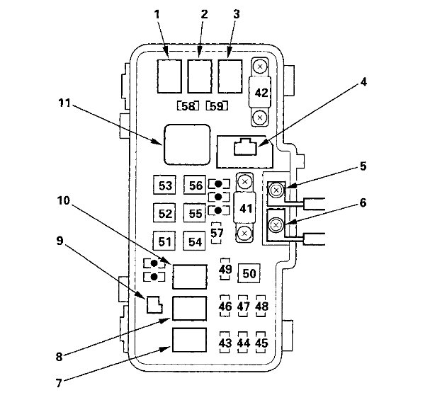
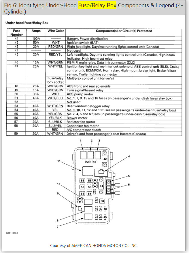
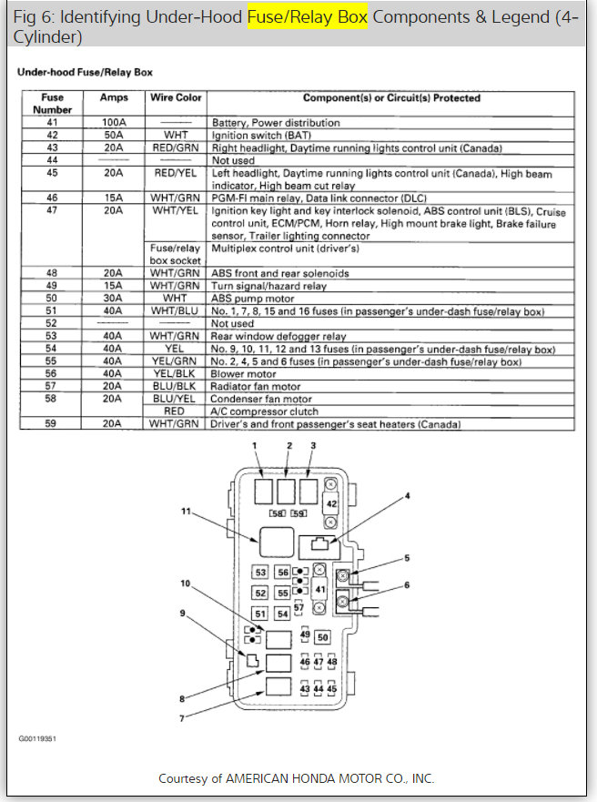
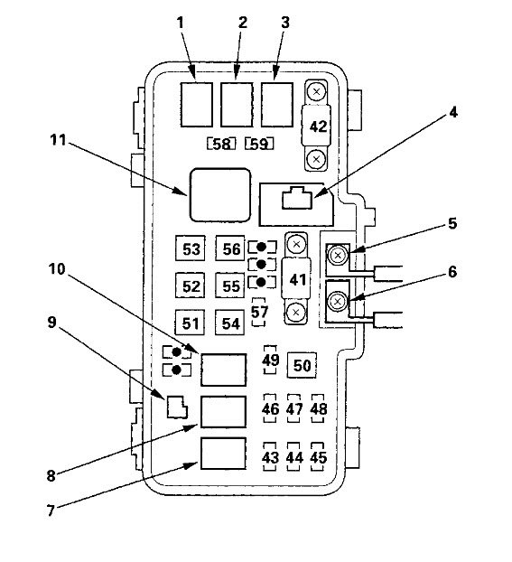
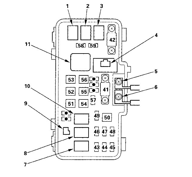
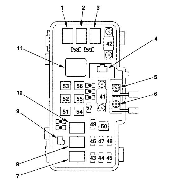
This could be a short to ground in a bunch of different circuits, but if I had to guess, which I am having to, not seeing your car, I would guess that it is a short to ground with the shift lock solenoid. It could possibly be a short to ground in the backup/brake light, clock, Daytime Running Lights (DRL) indicator, Gauge Assembly, Multiplex Control Unit (MICU) circuits as well. In the diagrams below I have included a full set of the fuse/relay panels in your vehicle as well as factory testing instructions for the Shift Interlock Solenoid from Honda, and the wiring diagram for this circuit. I have also included directions for how to test electrical components as well. If it is not the solenoid, we have other circuits to test and we will address those one by one until we find the problem. I have included a link below as well for how to use a multi-meter if you are unfamiliar with how to use one because we will have to use one in the testing.

https://www.2carpros.com/articles/how-to-use-a-voltmeter

Please go through these guides and get back to us with what you are able to find out please.

Thanks,
Alex
2CarPros
Was this
answer
helpful?
Yes
No
Thursday, January 7th, 2021 AT 11:17 AM (Merged)
Tiny
MARLENE DAVIS
  • MEMBER
  • 2 POSTS
  • 1999 HONDA ACCORD
  • 2.0L
  • 4 CYL
  • 2WD
  • AUTOMATIC
  • 140,800 MILES
Where is the fuse box located for the fuel injector?
Was this
answer
helpful?
Yes
No
Thursday, January 7th, 2021 AT 11:18 AM (Merged)
Tiny
HMAC300
  • MECHANIC
  • 48,601 POSTS
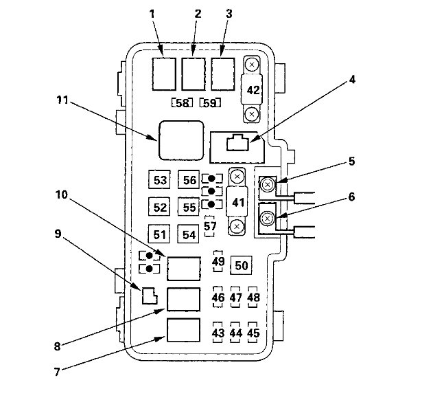
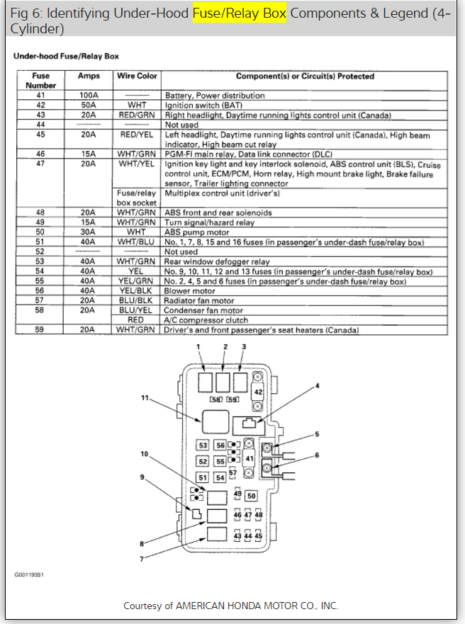
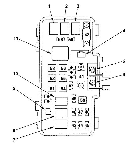
It is under hood fuse and relay box. Item 46 and 47 is what you need to check.
Was this
answer
helpful?
Yes
No
-2
Thursday, January 7th, 2021 AT 11:18 AM (Merged)
Tiny
OTRON808
  • MEMBER
  • 2 POSTS
  • 1997 HONDA ACCORD
Electrical problem
1997 Honda Accord 6 cyl Four Wheel Drive Automatic

My back lights do not turn off.
I think it is a fuse problem. But I can't locate the fuse box on my 1997 accord LX.
What do you think?
Was this
answer
helpful?
Yes
No
Thursday, January 7th, 2021 AT 11:20 AM (Merged)
Tiny
KHLOW2008
  • MECHANIC
  • 41,814 POSTS
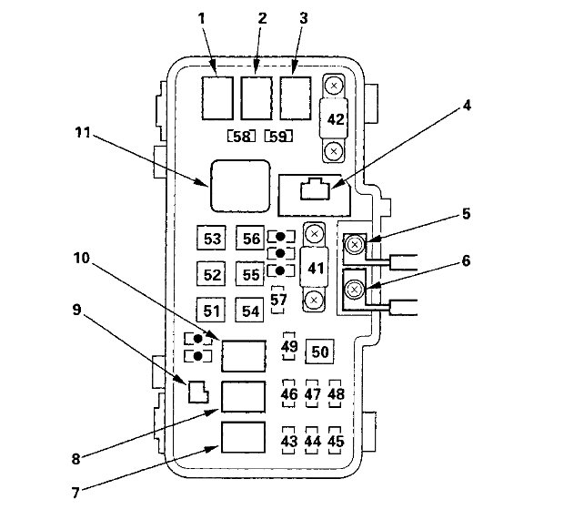
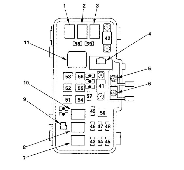
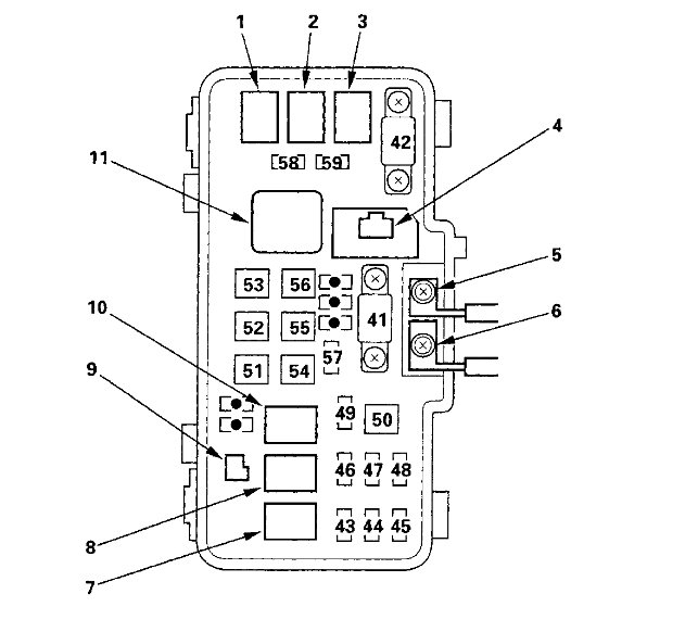
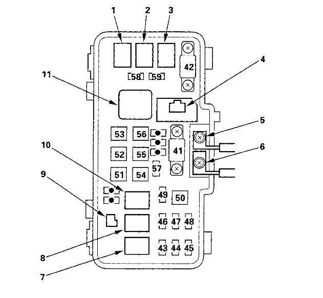
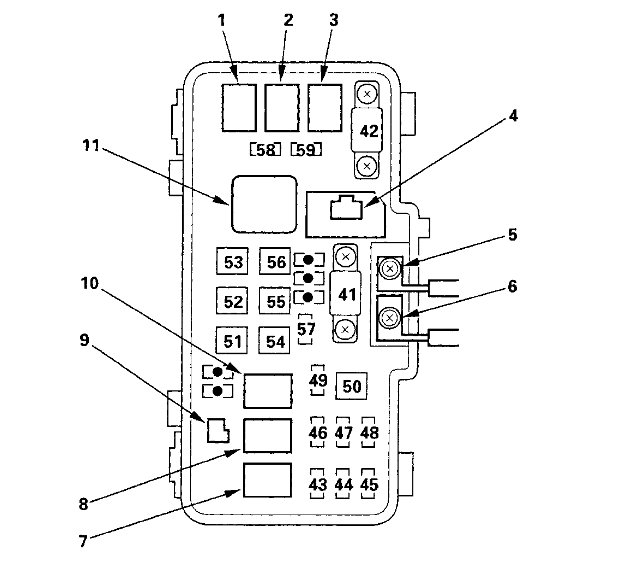
Back lights or brake lights? Should not be fuse as it doesot turn off. If back lights, should be due to a sticking relay. Brake light most probably is a worn pedal switch stopper, faulty switch or excessive pedal free play. The fuse panels are below.
Was this
answer
helpful?
Yes
No
+1
Thursday, January 7th, 2021 AT 11:20 AM (Merged)
Tiny
OTRON808
  • MEMBER
  • 2 POSTS
I think it's the back lights.

When I found out last week it sucked my battery and had to get a jump. Ever since, I just unplugged the lights in the back so it wont kill my battery. I tried plugging them back in without the car being on and they stay lit.

I'm not 100% if it's the brake lights. I gotta check that when I get home.

What is a sticking relay?
Was this
answer
helpful?
Yes
No
Thursday, January 7th, 2021 AT 11:20 AM (Merged)
Tiny
KHLOW2008
  • MECHANIC
  • 41,814 POSTS
Sticking relay means the relay remains turned on even though the coil current is disconnected.
Was this
answer
helpful?
Yes
No
+1
Thursday, January 7th, 2021 AT 11:20 AM (Merged)
Tiny
ROSELANE
  • MEMBER
  • 1 POST
  • 1992 HONDA ACCORD
  • V8
  • FWD
  • MANUAL
  • 179,000 MILES
Car turns over but wont start also accesories not working manual says to check fusible link but im having a problem locating it
Was this
answer
helpful?
Yes
No
Thursday, January 7th, 2021 AT 11:20 AM (Merged)
Tiny
BLUELIGHTNIN6
  • MECHANIC
  • 16,542 POSTS
Hello
Thanks for the donation

The Honda fusible or main links are located at the underhood fuse and relay box. On earlier models, these are large strips of conductive metal held by bolts between two terminals. The thickness and length of the material determines the amperage rating of the link. To replace one of these, disconnect the negative battery cable, unscrew the failed one and install the new one. An example of this is pictured below..


https://www.2carpros.com/forum/automotive_pictures/261618_1_49.jpg



Thanks for using 2CarPros.com!
Was this
answer
helpful?
Yes
No
Thursday, January 7th, 2021 AT 11:20 AM (Merged)
Tiny
BRGRAVES3
  • MEMBER
  • 2 POSTS
  • 1992 HONDA ACCORD
  • 4 CYL
  • FWD
  • MANUAL
  • 330,000 MILES
The fuse box panel is missing and I need a fuse diagram or a pic of the panel with the diagram on it.
Was this
answer
helpful?
Yes
No
Thursday, January 7th, 2021 AT 11:20 AM (Merged)
Tiny
WRENCHTECH
  • MECHANIC
  • 20,761 POSTS
Under dash box

http://i1198.photobucket.com/albums/aa448/Wrenchtech/41971550.jpg.gif

Under hood

http://i1198.photobucket.com/albums/aa448/Wrenchtech/41971548.jpg.gif

https://www.2carpros.com/images/external/41971549.jpg.gif
Was this
answer
helpful?
Yes
No
+2
Thursday, January 7th, 2021 AT 11:20 AM (Merged)

Please login or register to post a reply.