1998 fuel filter location

Tiny
HONEYBEE60
  • MEMBER
  • 1998 FORD TAURUS
  • 6 CYL
  • 2WD
  • AUTOMATIC
  • 169,000 MILES
Where is the fuel filer located on a 1998 Ford Taurus?
Thursday, March 31st, 2011 AT 10:49 PM

35 Replies

Tiny
WRENCHTECH
  • MECHANIC
  • 20,761 POSTS
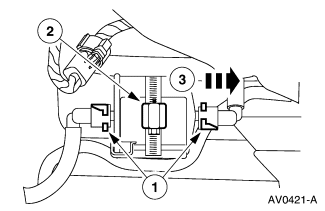
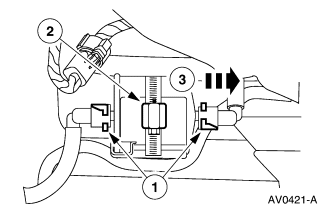
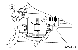
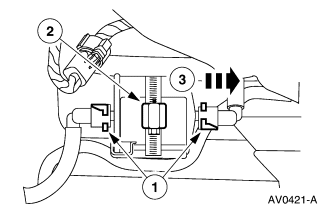
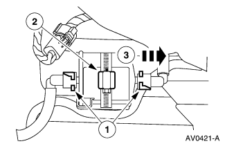
The fuel filter is located at the Right Hand rear frame rail adjacent to the Right Hand front corner of the fuel tank.

See the attachment below
Was this
answer
helpful?
Yes
No
+1
Thursday, March 31st, 2011 AT 10:54 PM
Tiny
BERKLYM62
  • MEMBER
  • 5 POSTS
  • FORD TAURUS
1991 ford taurus gl, about 135,000 miles, I think, with 3.0 NON-sho engine. Chilton says how to change fuel filter, but not where it is? Also, how can I relieve fuel pressure without buying the "special tool"?And, lately, the car has been stalling at idle, but only afterrunning well like at hiway speeds, stop at a red light, it starts idling rough, then knocks and backfires thru the intake manifold, then dies. Sometimes, it might start right back up again, but usually, I have to wait AT LEAST a couple of hours, or over night, to get it running again. Then, it runs like there wasnt any thing wrong at all, till it does it again! I only paid $270.00 for the car, ran very good when I bought it, so I dont want to put too much $$$ into it.
Was this
answer
helpful?
Yes
No
Sunday, March 10th, 2019 AT 11:43 AM (Merged)
Tiny
TAURUSWHEEL
  • MECHANIC
  • 718 POSTS
Fuel filter, I believe, is located in front of the right rear wheel, up on the frame, held in place with a hose clamp. To relieve pressure in the system, unplug the connector from the fuel pump shutoff located in the right rear quarter panel, usually right near the rear marker lamp. Accessed thru a small door on wagons and thru the panel on sedans, may have to remove the panel on sedan. For all, unplug the connector, then start the car, it'll die off quickly you're all set to change the filter.
Was this
answer
helpful?
Yes
No
+2
Sunday, March 10th, 2019 AT 11:43 AM (Merged)
Tiny
BERKLYM62
  • MEMBER
  • 5 POSTS
THANK YOU! It is 9:48pm now, but I will look tomorrow, and see if it is there! FINALLY! I got some info on this thing! Thank you so much, again!
Was this
answer
helpful?
Yes
No
Sunday, March 10th, 2019 AT 11:43 AM (Merged)
Tiny
BERKLYM62
  • MEMBER
  • 5 POSTS
Ok, yes, thank you for your help, found the filter, right where you said it was! Already replaced the filter, changed the oil and oil filter, as well. I simply cant figure out how CHILTON can tell you how to remove it, but wont tell you where the hell it is, first :roll:
Was this
answer
helpful?
Yes
No
Sunday, March 10th, 2019 AT 11:43 AM (Merged)
Tiny
TAURUSWHEEL
  • MECHANIC
  • 718 POSTS
Beautiful, sometimes that clamp can be a pain.
Was this
answer
helpful?
Yes
No
Sunday, March 10th, 2019 AT 11:43 AM (Merged)
Tiny
WEBBER123
  • MEMBER
  • 2 POSTS
  • 2004 FORD TAURUS
  • 4 CYL
  • FWD
  • AUTOMATIC
  • 89,000 MILES
Could you tell me the location of the fuel filter and if any special tools wilol be needed for removal
Was this
answer
helpful?
Yes
No
Sunday, March 10th, 2019 AT 11:43 AM (Merged)
Tiny
MERLIN2021
  • MECHANIC
  • 17,250 POSTS
Under the car near the right rear door, they use plastic clips to hold it on the line, spread them with your finger.
Was this
answer
helpful?
Yes
No
+1
Sunday, March 10th, 2019 AT 11:43 AM (Merged)
Tiny
LEGITIMATE007
  • MECHANIC
  • 5,121 POSTS
Make sure that you relieve the pressure too. It may be a lot safer and easier too.
Was this
answer
helpful?
Yes
No
+1
Sunday, March 10th, 2019 AT 11:43 AM (Merged)
Tiny
WEBBER123
  • MEMBER
  • 2 POSTS
Yes. You helped a lot, thank you. John :lol: :
Was this
answer
helpful?
Yes
No
Sunday, March 10th, 2019 AT 11:43 AM (Merged)
Tiny
MERLIN2021
  • MECHANIC
  • 17,250 POSTS
Mission accomplished! Your welcome!
Was this
answer
helpful?
Yes
No
+1
Sunday, March 10th, 2019 AT 11:43 AM (Merged)
Tiny
WONBYJESUS
  • MEMBER
  • 1 POST
  • 1990 FORD TAURUS
  • 6 CYL
  • FWD
  • AUTOMATIC
  • 81,000 MILES
Where is the fuel filter for this car? I need to know where the fuel filter is and if there is one or two fuel filters for this car!
Was this
answer
helpful?
Yes
No
Sunday, March 10th, 2019 AT 11:43 AM (Merged)
Tiny
JACOBANDNICKOLAS
  • MECHANIC
  • 110,194 POSTS
It is under the vehicle, passenger side, below seating area, mounted in the fuel line. There is only one.

Let me know if you have other questions.
Joe
Was this
answer
helpful?
Yes
No
+1
Sunday, March 10th, 2019 AT 11:43 AM (Merged)
Tiny
R.LYLE
  • MEMBER
  • 2 POSTS
  • 2000 FORD TAURUS
  • 6 CYL
  • AUTOMATIC
Fuel filter located on 2000 ford taurus dohc
Was this
answer
helpful?
Yes
No
Sunday, March 10th, 2019 AT 11:43 AM (Merged)
Tiny
SATURNTECH9
  • MECHANIC
  • 30,869 POSTS
The fuel filter is located on the LH frame rail.
Was this
answer
helpful?
Yes
No
Sunday, March 10th, 2019 AT 11:43 AM (Merged)
Tiny
BMRFIXIT
  • MECHANIC
  • 19,053 POSTS
Under rear passenger side of the car by the fuel tank
Was this
answer
helpful?
Yes
No
Sunday, March 10th, 2019 AT 11:43 AM (Merged)
Tiny
CHRISTINAPEER
  • MEMBER
  • 1 POST
  • 1992 FORD TAURUS
1992 Ford Taurus 6 cyl

where is the fuel filter
Was this
answer
helpful?
Yes
No
Sunday, March 10th, 2019 AT 11:43 AM (Merged)
Tiny
BLACKOP555
  • MECHANIC
  • 10,386 POSTS
Thers one in the tank on the fuel pump, one inline from the tank and the engine, and theres one in the fuel pressure regulator.

If you dont like the answer, give me what one your looking for.
Was this
answer
helpful?
Yes
No
Sunday, March 10th, 2019 AT 11:43 AM (Merged)
Tiny
ABRAH
  • MEMBER
  • 2 POSTS
  • FORD TAURUS
Where is the fuel filter located on a 97 Ford Taurus? It is a V6 3.0 with about 95,000 miles on it
Was this
answer
helpful?
Yes
No
Sunday, March 10th, 2019 AT 11:44 AM (Merged)
Tiny
BOOTDOG
  • MECHANIC
  • 665 POSTS
Passenger side, under then vehicle, towards the back. Follow the fuel lines to the tank and you'll see it.
Was this
answer
helpful?
Yes
No
Sunday, March 10th, 2019 AT 11:44 AM (Merged)

Please login or register to post a reply.