Transmission Solenoids

Tiny
MSROGERS232
  • MEMBER
  • 1998 CHEVROLET TAHOE
  • V8
  • 4WD
  • AUTOMATIC
  • 180,000 MILES
Where is the transmission solenoid A located on a 1998 Chevy Tahoe 4X4 5.7L ENG, 16 bolt trans pan?
Sunday, July 17th, 2011 AT 6:05 PM

1 Reply

Tiny
FACTORYJACK
  • MECHANIC
  • 4,159 POSTS
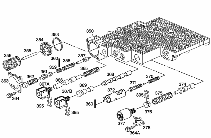
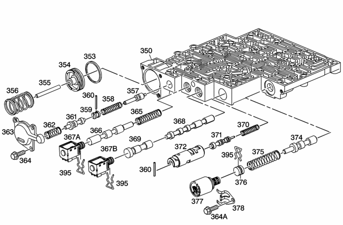
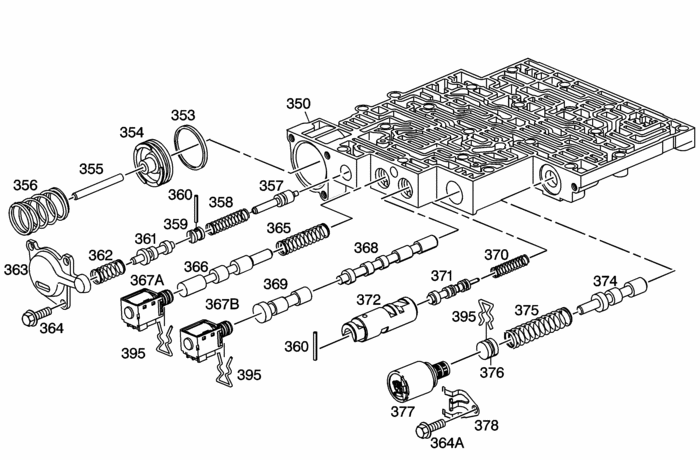
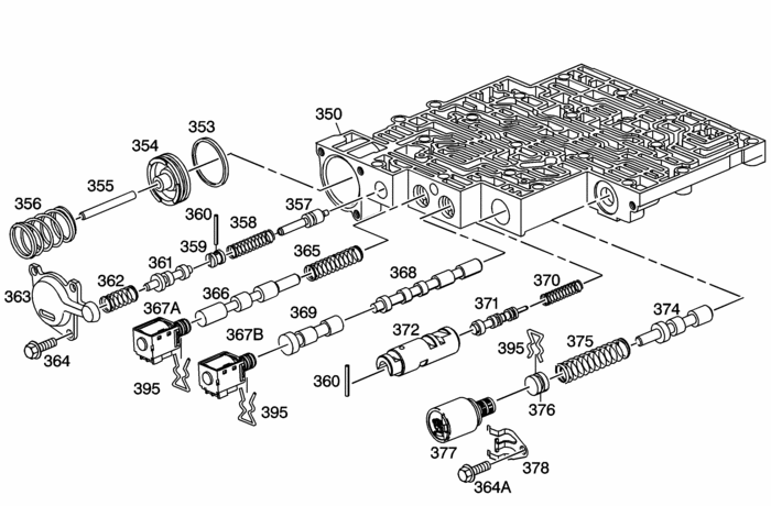
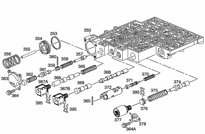
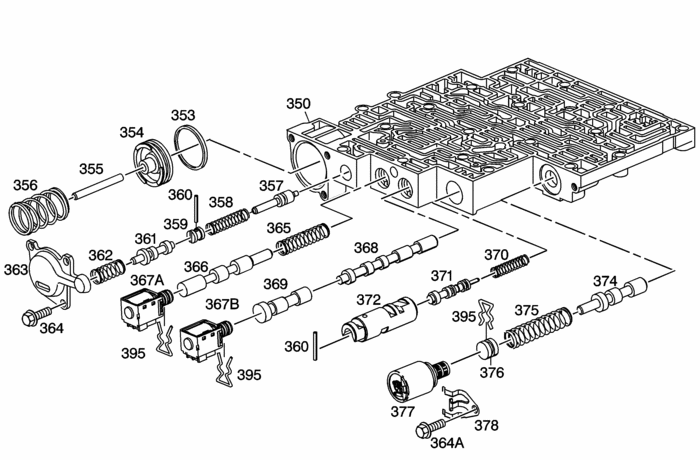
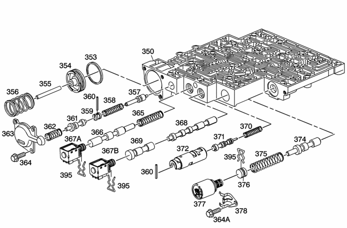
I don't show them as A and B with the service info that I have. It lists them as 1-2 and 2-3 shift solenoids. If I had to guess, 1-2 may also be referred to as A. If you are going on a fault code description, what is the code? P0751 and P0753 are faults that relate to 1-2 solenoid. This info is also under the assumption that we are dealing with a 4L60e transmission(1500 series). I will attach an illustration.

(367a) 1-2 Shift Solenoid Valve
(367b) 2-3 Shift Solenoid Valve
Was this
answer
helpful?
Yes
No
+3
Sunday, July 17th, 2011 AT 6:24 PM

Please login or register to post a reply.