Sunday, November 12th, 2017 AT 11:25 AM
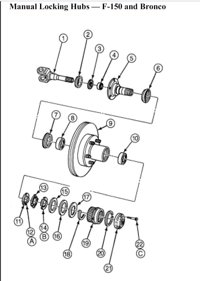
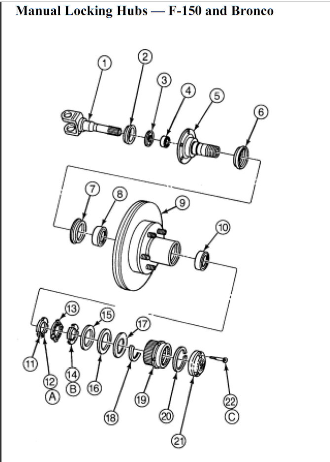
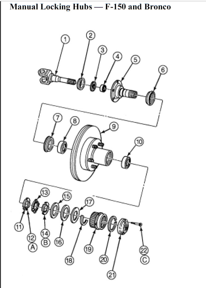
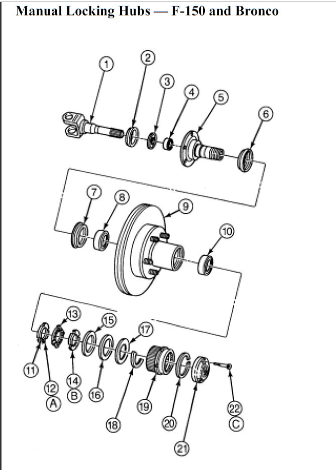
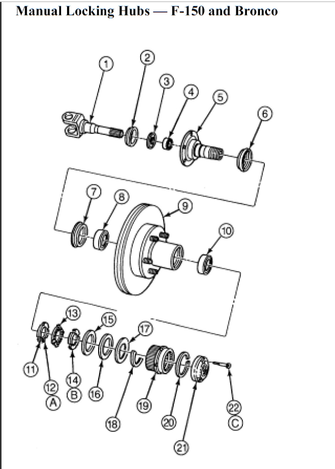
Wheel bearing seized to the spindle, had slight damage on spindle, replace it? On some models the rotor and hub comes apart or does every model they come apart? Manuel locking hubs. Can I put new spindle nuts with washer in middle and still have room for hubs lock ring? The original spinder nut broke the clip that holds it in. My biggest issue right now is figuring out how to buy the proper parts, spindle, and what bearings. I think I need an inner and outer bearing. The outer I know where it sits but the mess I took apart is leaving a lot of questions. I am getting a new hub/rotor, new spindle, new bearing when I figure out which ones and redoing it. But, I do not want to miss any washers or pieces, to keep dirt out etc. I think the order went spindle nut outer bearing, hub, inner bearing, that goes tight to the spindle? Also, what is the name of the seal on the back side of the spindle to the axle? Thanks for any help.






