HOME
ASK A QUESTION
REPAIR GUIDES
BECOME A MEMBER
LOG IN
Login with Facebook
OR
Remember me
NOT A MEMBER?
FORGOT PASSWORD?
CONTACT US
PRIVACY POLICY
TERMS AND CONDITIONS
☰
Home
Chevrolet
S-10
Climate Control
Blower Fan
Speed
My heater blower won't run on high speed
AFASTER69
MEMBER
1991 CHEVROLET S-10
78,000 MILES
My blower runs very slow on lower settings and not at all on high,
I have replaced blower motor and resistor thingee.
Wednesday, October 5th, 2011 AT 4:09 PM
1 Reply
JDL
MECHANIC
16,098 POSTS
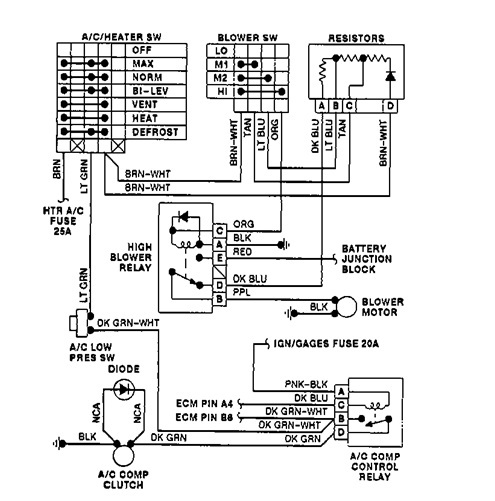
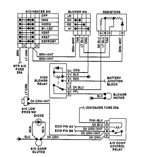
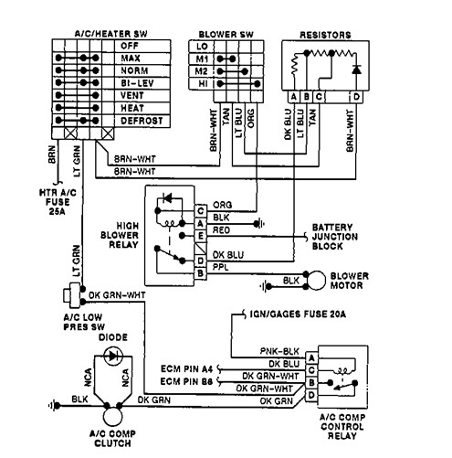
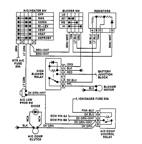
Check the actual voltage reading at the blower motor, check ground also.
When hi blower relay is energized, battery voltage goes to the blower motor. No resistors for high-speed.
Image (Click to make bigger)
Was this
answer
helpful?
Yes
No
+1
Wednesday, October 5th, 2011 AT 4:20 PM
Please
login
or
register
to post a reply.
Related Blower Fan Speed Content
Blower Motor Speed
I Have A 200 S-10 And My Heater Blower Was Working On High, Now Not At All
Asked by
clhagee
·
3 ANSWERS
1 IMAGE
2000
CHEVROLET S-10
2001 Chevy S-10 Blower Motor
This Is For A 2001 Chevy S-10. The Blower Motor Has 4 Speeds. All Of Them Work Except The High Speed. We've Replaced The Relay And...
Asked by
Chris82
·
3 ANSWERS
2001
CHEVROLET S-10
2000 Chevy S-10 Heater Fan
This Morning After Starting The Truck There Was A Horrible Smell Of An Electrical Burn. It Went Away Almost As Quickly As It Appeared. ...
Asked by
wborrelli
·
2 ANSWERS
2000
CHEVROLET S-10
2000 Chevy S-10 A/c Blower
The Blower Works Only On High (4) And Max. 1, 2, 3 Do Not Work.
Asked by
goaufts
·
1 ANSWER
2000
CHEVROLET S-10
2000 Chevy S-10 Blower
I Need To Replace Blower Motor Which Is Making Noise (like The Bearings Are Shot And It Whirs, Doesn't Blow @ First 2 Fan Speeds Only Last...
Asked by
tomg4
·
1 ANSWER
2000
CHEVROLET S-10
VIEW MORE
Ask a Car Question. It's Free!
How to Use a Test Light
How to Replace the A/C Blower Motor
Fix an Air Conditioning Not Working Video