Wednesday, September 4th, 2013 AT 6:50 AM
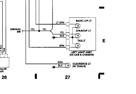
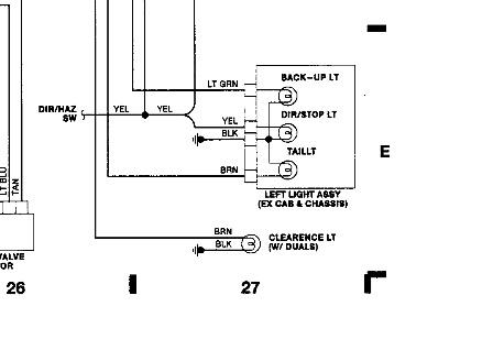
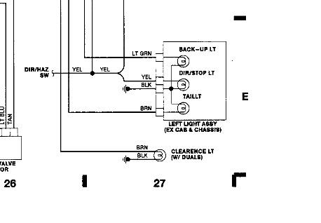
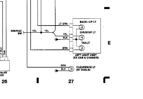
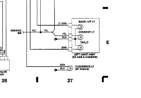
I'm trying to repair my tail lights and when I cut on the left blinker the right blinker comes on and sometimes I switch wires and they work but thensomething else dont work or two bulbs blink on one side or right brake light does not want to come on if I switch the wires around sometimes I can get to break like to come on but always something don't work right can you help me with this. I just had surgery on my leg and need trans to hospital.


