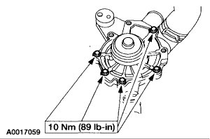
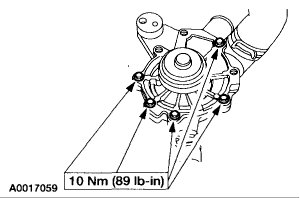
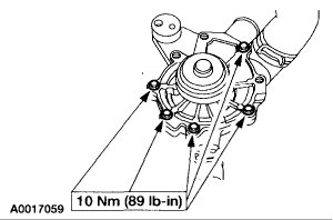
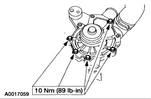
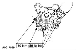
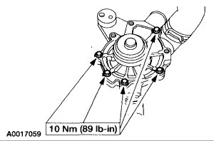
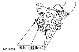
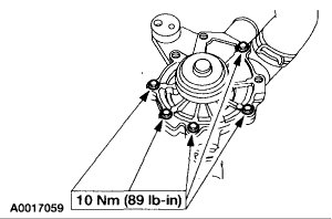
Hello out there. I am new to this site, just fount it to be honest. Anyways I was looking up for the (XLT model) 3.0L engine diagram so I know what I am doing when I go to changing my water pump, thermostat, and power steering pump. All three at once, one at time though. Anyhow, I was getting gas and my old friends said to me, 'Hey T, get out come over here and look at your ride from here.' Well when I saw it, it was pouring antifreeze out the side/bottom of engine. Popped hood and looked good to see where it leaking from. Well, it was on the driver side right in front of (or underneath) the timing chain/crankshaft like it was coming from the thermostat. So I need the diagram for the engine and cooling system if it available too. Also, if any advice about exactly where that leak came from would be appreciated. I am thinking the thermostat but I could be wrong. And also the coolant and engine light came on as I was on way home which is just about one and half miles from where I live.
Thank you for your time!
Thank you for your time!
May 3, 2018 at 6:45 PM


