Friday, September 10th, 2021 AT 3:23 PM
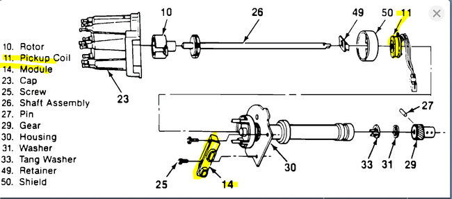
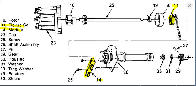
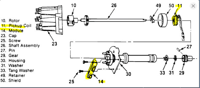
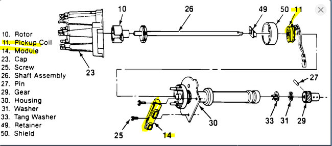
Turn off ignition when hot and it won't start. Will start when hot with starting fluid. Vehicle has TBI. Starts fine when cooled off. Is vapor lock possible in this kind of fuel delivery system? I Don't know. Just hoping someone has encountered this issue before and was able to successfully diagnose and fix the problem. Thanks in advance for any information.


