Will not start

Tiny
KENNETH HELMS
  • MEMBER
  • 1989 CHEVROLET BLAZER
  • 4.3L
  • V6
  • 4WD
  • AUTOMATIC
  • 130,000 MILES
Replaced most everything that you can think of; MAP sensor, EGR, vacuum lines, air fuel mixture relay switch, fuel pump, rebuild kit for TPI, alternator, temperature sensor, and it still won't start o and ECM and chips wires engine ect coil plugs and I get code 12.
Tuesday, January 25th, 2022 AT 1:08 PM

1 Reply

Tiny
JACOBANDNICKOLAS
  • MECHANIC
  • 110,192 POSTS
Hi,

The first thing we need to do is narrow things down. First, when an engine cranks and fails to start, most times it is either a fuel-related issue or ignition spark.

Try this. See if it starts for a couple of seconds using starting fluid. If it does and then stalls, we know it is a fuel-related issue. If there is no change, check for spark to the plugs. Here is a link to help with doing that:

https://www.2carpros.com/articles/how-to-test-an-ignition-system

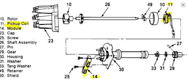
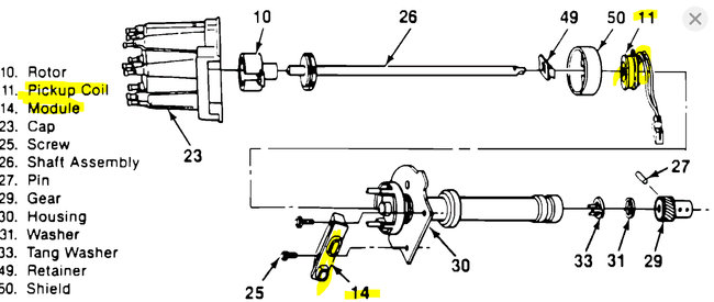
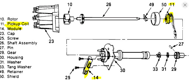
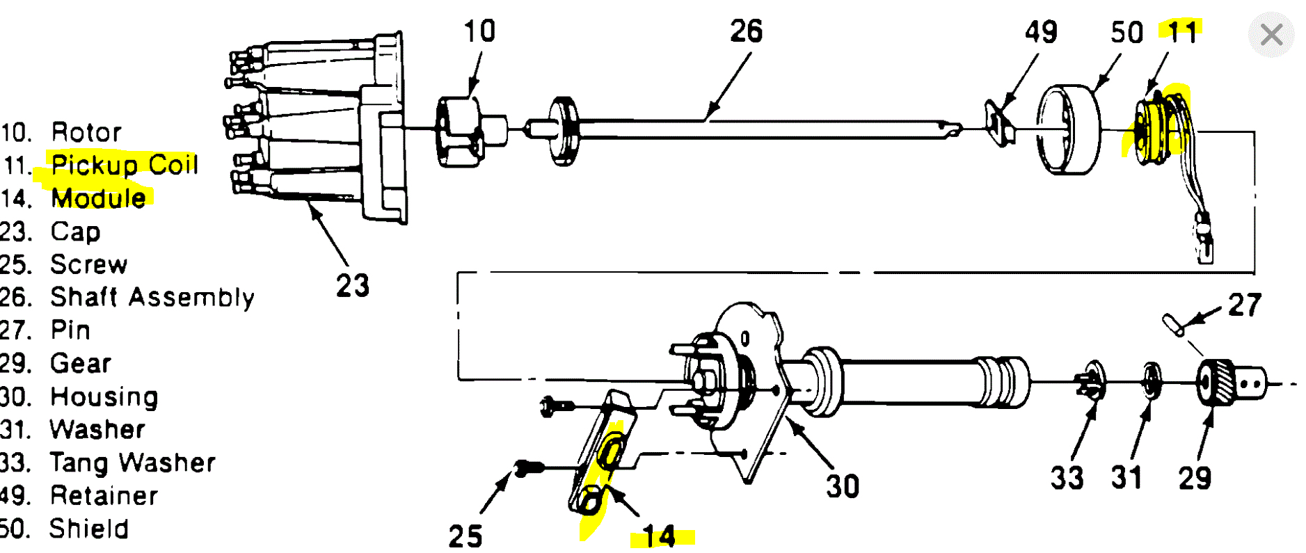
If there is no spark, I need to know if you have done anything with the ignition control module, pick up coil, and if you checked for power at the ignition coil (key on). See pic 1 below

One last thing. If possible, record it cranking and upload it for me to hear. It may help me.

Let me know what you find.

Take care,

Joe
Was this
answer
helpful?
Yes
No
Tuesday, January 25th, 2022 AT 6:37 PM

Please login or register to post a reply.