I accidentally drilled into the wire loom on the driver side floor boards?

Tiny
SPENXCHERYAN
  • MEMBER
  • 1996 FORD F-250
  • 7.3L
  • V8
  • TURBO
  • 4WD
  • AUTOMATIC
  • 288,789 MILES
The truck starts and moves but the following don’t work:

Interior dome lights.
Lights on the doors.
Odometer is blank.
Door locks don’t work.
Headlights, and door windows do work.
What wires should I be looking for to fix these, or what fuses also?
Thursday, April 13th, 2023 AT 5:52 PM

8 Replies

Tiny
STEVE W.
  • MECHANIC
  • 15,700 POSTS
The first thing is to repair the wiring where you hit it. Then look at the colors of the wires you hit and post them here. Also do you have keyless entry?
Fuse wise there could be fuses or modules that were shorted which is why the wire colors are needed.
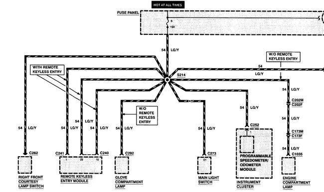
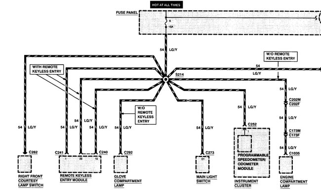
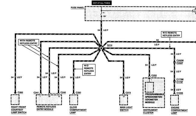
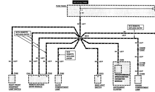
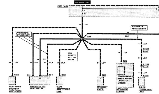
As far as things to check, Fuse 8 is one of the power sources for those items so if you drilled through a light green with yellow striped wire, that would have blown that fuse. But what other colors were hit if any?
Was this
answer
helpful?
Yes
No
Friday, April 14th, 2023 AT 5:50 AM
Tiny
SPENXCHERYAN
  • MEMBER
  • 5 POSTS
I hit the cream-colored wire, a green one, and a blue/ black one. They were ripped all the way through, would it be safe enough to use liquid electrical tape and patch them? Or should I cut and shrink wrap each one.
Was this
answer
helpful?
Yes
No
Friday, April 14th, 2023 AT 10:35 AM
Tiny
SPENXCHERYAN
  • MEMBER
  • 5 POSTS
And yes, I do have keyless entry, so that and the locks aren’t working.
Was this
answer
helpful?
Yes
No
Friday, April 14th, 2023 AT 3:22 PM
Tiny
STEVE W.
  • MECHANIC
  • 15,700 POSTS
The best repair would be to cut them, then use a crimp solder and seal connector like the type shown. Next would be a bare crimp with sealant style heat shrink. Check fuse 4 as well it has a tan with white stripe wire and powers part of the door locks.
Was this
answer
helpful?
Yes
No
+1
Friday, April 14th, 2023 AT 7:32 PM
Tiny
SPENXCHERYAN
  • MEMBER
  • 5 POSTS
Thank you kindly!
Was this
answer
helpful?
Yes
No
Friday, April 14th, 2023 AT 8:50 PM
Tiny
STEVE W.
  • MECHANIC
  • 15,700 POSTS
Once the wires are repaired and the fuses checked we can see what comes back on. Would you also check the wires and see if they are single color or if they have stripes on them, please. For instance, does the tan colored wire have a white stripe on it? Most wiring will add trace lines so you can tell what the wire does simply by looking at it, then they add a trace to ID the circuit. So, you might find a solid red wire for power and a red wire with white trace to tell you that is power for a body module. The green wire you hit may have a yellow stripe if it's the one I think it is. Thank you.
Was this
answer
helpful?
Yes
No
Saturday, April 15th, 2023 AT 6:30 AM
Tiny
SPENXCHERYAN
  • MEMBER
  • 5 POSTS
Yeah, the green wire has a stripe on it, kind of yellow orange color stripe.
Was this
answer
helpful?
Yes
No
Saturday, April 15th, 2023 AT 9:56 AM
Tiny
STEVE W.
  • MECHANIC
  • 15,700 POSTS
Okay, that wire would be the one that powers the interior lighting, that likely blew fuse 8. Then if the tan wire has a white color stripe that would be fuse 4 both are in the below wiring and the tan powers the remote locks.
Was this
answer
helpful?
Yes
No
Saturday, April 15th, 2023 AT 12:04 PM

Please login or register to post a reply.