Firing Order

Tiny
RMSUMMERS
  • MEMBER
  • 2003 FORD WINDSTAR
  • 3.8L
  • 6 CYL
  • 2WD
  • AUTOMATIC
  • 172,000 MILES
I have had conflicting advice as to plug firing order will you help me?
Tuesday, March 28th, 2017 AT 2:23 PM

12 Replies

Tiny
CATAFINA
  • MECHANIC
  • 98 POSTS
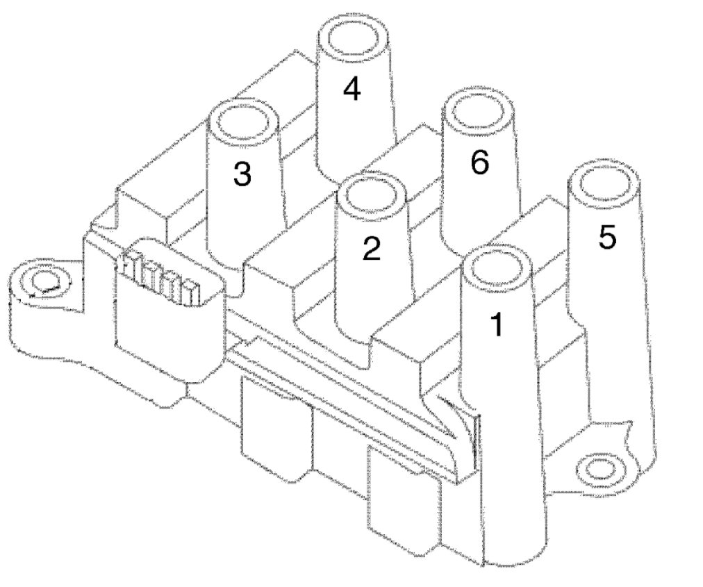
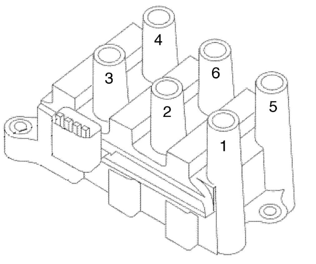
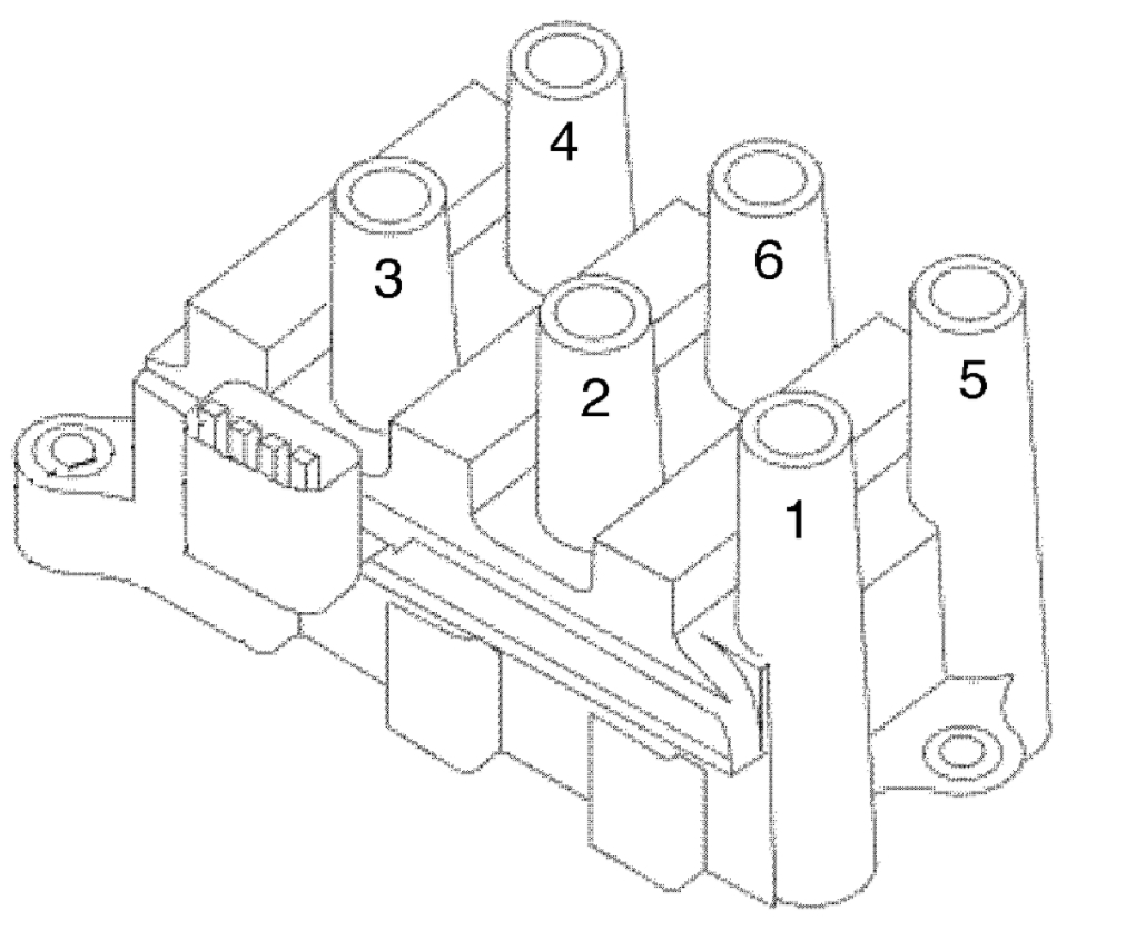
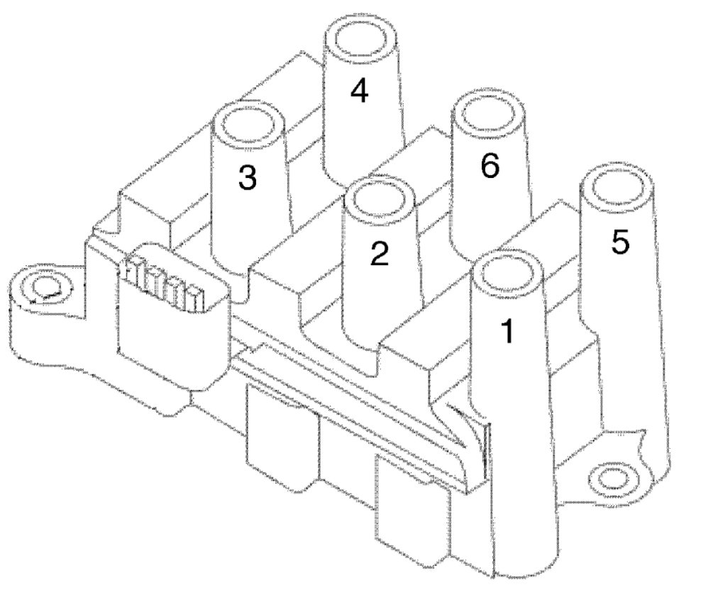
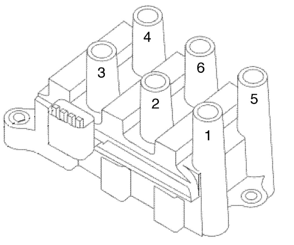
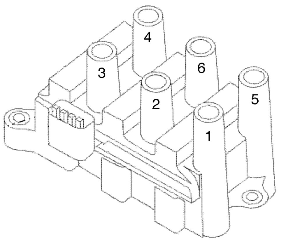
Check out the diagrams below
Was this
answer
helpful?
Yes
No
+14
Tuesday, March 28th, 2017 AT 2:43 PM
Tiny
CARADIODOC
  • MECHANIC
  • 34,463 POSTS
That diagram is correct. The firing order is 1-4-2-5-3-6.
Was this
answer
helpful?
Yes
No
+17
Tuesday, March 28th, 2017 AT 3:07 PM
Tiny
EVENTPHOTO100
  • MEMBER
  • 4 POSTS
  • 2001 FORD WINDSTAR
Engine Performance problem Front Wheel Drive Automatic 170000 miles

need diagram or information showing how to attach spark plug wires back on the electronic distributor for a for Windstar 3.8 liter engine
Was this
answer
helpful?
Yes
No
+11
Tuesday, August 20th, 2019 AT 7:29 PM (Merged)
Tiny
KEN L
  • MASTER CERTIFIED MECHANIC
  • 55,291 POSTS
Hello,

Here is the engine firing order or as some would call it the ignition coil wiring.


https://www.2carpros.com/forum/automotive_pictures/12900_ford_fo_2.jpg



Here are more diagrams that are larger (below)

Please use 2CarPros anytime, we are here to help. Please tell a friend.

Cheers, Ken
Was this
answer
helpful?
Yes
No
+13
Tuesday, August 20th, 2019 AT 7:29 PM (Merged)
Tiny
LLONNIE
  • MEMBER
  • 1 POST
  • 2001 FORD WINDSTAR
  • 6 CYL
  • FWD
  • AUTOMATIC
  • 101,000 MILES
How do you get to the back plugs and wiring next to the firewall
Was this
answer
helpful?
Yes
No
+1
Tuesday, August 20th, 2019 AT 7:29 PM (Merged)
Tiny
SCHRIMPIEMAN
  • MECHANIC
  • 166 POSTS
If you cannot reach them by removing the air intake snorkel / air filter assembly, jack up the car and go at them from underneath the chassis with a loooong 3/8" drive extension and u-joint ratchet set.

I know it can be a pain.
Was this
answer
helpful?
Yes
No
Tuesday, August 20th, 2019 AT 7:29 PM (Merged)
Tiny
XSTAMMIE
  • MEMBER
  • 1 POST
  • 1998 FORD WINDSTAR
1998 Ford Windstar 6 cyl Two Wheel Drive Automatic

Need firing order for 3.0 engine
Was this
answer
helpful?
Yes
No
+1
Tuesday, August 20th, 2019 AT 7:29 PM (Merged)
Tiny
RASMATAZ
  • MECHANIC
  • 75,992 POSTS


https://www.2carpros.com/forum/automotive_pictures/12900_fo_4.gif



6-Cyl Firing Order: 1 4 2 5 3 6
Was this
answer
helpful?
Yes
No
+2
Tuesday, August 20th, 2019 AT 7:29 PM (Merged)
Tiny
STOUTTROY
  • MEMBER
  • 1 POST
  • 1995 FORD WINDSTAR
  • 163 MILES
I was attempting to replace my ignition coil and come to find out the replacement was wrong, so I put the old one back in because it worked, just not well, and for some reason it did not wanna work at all, I believe I have gotten a couple wires mixed up, but I cannot remember the order to fix it properly. As well, once I did get it to turn over, I can only hear 4 cyl's running and it was burning rich.
Was this
answer
helpful?
Yes
No
+2
Tuesday, August 20th, 2019 AT 7:29 PM (Merged)
Tiny
RIVERMIKERAT
  • MECHANIC
  • 6,110 POSTS
Here is the engine ignition spark plug firing order. Check out the diagrams (Below). Please let us know if you need anything else to get the problem fixed.

Cheers
Was this
answer
helpful?
Yes
No
+3
Tuesday, August 20th, 2019 AT 7:29 PM (Merged)
Tiny
THOMAS REILLY
  • MEMBER
  • 1 POST
  • 2001 FORD WINDSTAR
Engine Performance problem
2001 Ford Windstar Front Wheel Drive Automatic

what is the firing sequence please
Was this
answer
helpful?
Yes
No
Monday, September 28th, 2020 AT 10:54 AM (Merged)
Tiny
MERLIN2021
  • MECHANIC
  • 17,250 POSTS
Check out the diagrams (Below). Please let us know if you need anything else to get the problem fixed.


https://www.2carpros.com/forum/automotive_pictures/62217_FO_16.jpg

Was this
answer
helpful?
Yes
No
Monday, September 28th, 2020 AT 10:54 AM (Merged)

Please login or register to post a reply.