Windshield wipers acting up

Tiny
TEDDYTOM
  • MEMBER
  • 2008 CHEVROLET COLORADO
  • 2.9L
  • 4 CYL
  • TURBO
  • 4WD
  • AUTOMATIC
  • 80,000 MILES
The wipers were making a banging noise as if they were hitting something. I found that the assembly was lose and the bushing on the passenger side had become deformed (oval shaped). I corrected it, reinstalled the assembly, and aligned they wiper arms to the factory made marks on the windshield. I cannot got the wipers to park properly, they either go so low they slap the cowling or they park so high they distract the driver. I tried several fixes like parking the motor and then moving the arms to the alignment marks before reattaching the drive bar, tried moving the drive bar 180 degrees before reattaching, tried reattaching it only when wipers were on the upswing, none worked for me. The wipers do have the intermittent feature and I suspect that has something to do with my problem but have no knowledge of the mechanics or electrical workings of that feature. Please advise before I go nuts, any help will be greatly appreciated.
Thank you in advance, Ted
Friday, May 31st, 2019 AT 3:42 PM

3 Replies

Tiny
JACOBANDNICKOLAS
  • MECHANIC
  • 110,192 POSTS
Welcome to 2CarPros.

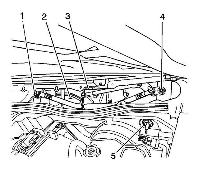
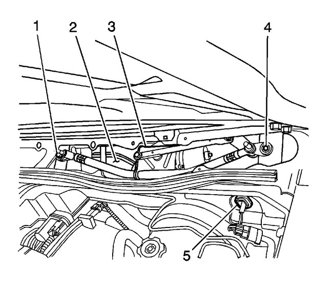
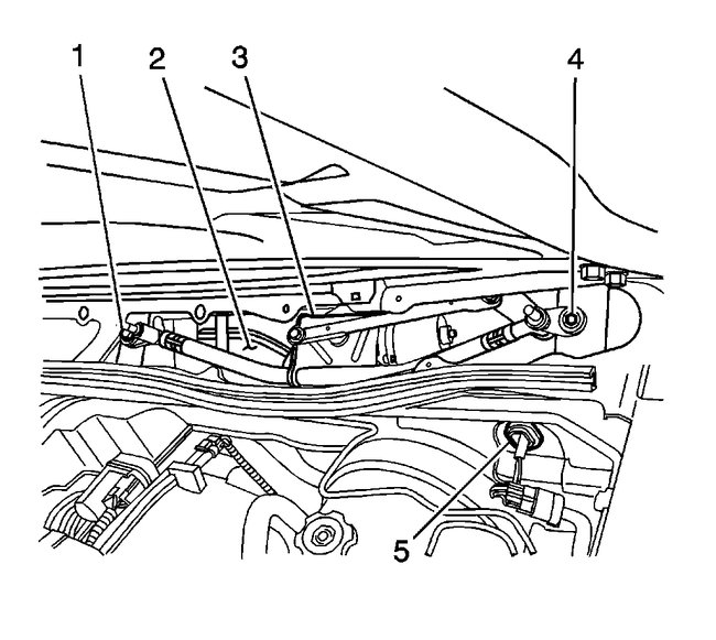
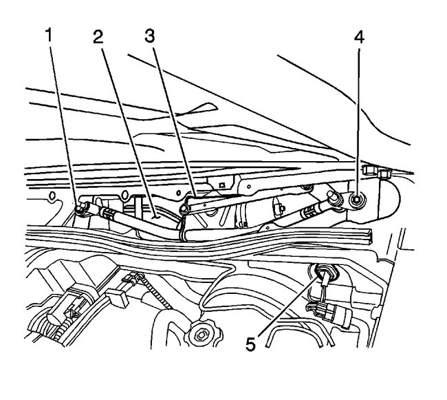
I attached a picture for you to look at. It shows the positioning of the linkage under the cowl. First, make sure yours is set as in the picture. Reattach all linkage and cycle the motor one time to make sure everything is working properly. Then, allow the motor to park. Place the wiper arms in the off position. That should do it for you. If it still doesn't, reconfirm that nothing is loose in the linkage.

Let me know if this helps or if it is something you already tried.

Take care,
Joe
Was this
answer
helpful?
Yes
No
+1
Sunday, June 2nd, 2019 AT 6:29 PM
Tiny
TEDDYTOM
  • MEMBER
  • 5 POSTS
Hi Joe, thanks for the quick response and the schematic. I believe I have the problem corrected. I just kept adjusting the location of one arm a little at a time and finally got it to park where it should. From there I set the other arm to the windshield mark. If I didn't strip the teeth/knurls on the arm or shaft by removing and replacing 457 times, I may be finished with this problem. Next will be the "no a/c" problem that I asked about several weeks ago. That message has not reappeared so I have not been able to follow up on it. When it does you can bet I will be in touch. This site is out of sight!
Thanks again, Ted
Was this
answer
helpful?
Yes
No
Monday, June 3rd, 2019 AT 12:28 AM
Tiny
JACOBANDNICKOLAS
  • MECHANIC
  • 110,192 POSTS
Welcome back, Ted.

Glad you got it fixed. They can be a pain. And you are very welcome. Please feel free to come back anytime you have questions.

Take care and have a good weekend.
Joe
Was this
answer
helpful?
Yes
No
Monday, June 3rd, 2019 AT 8:30 PM

Please login or register to post a reply.