Distributor replacement instructions please

Tiny
KATBARWICK
  • MEMBER
  • 2000 CHEVROLET BLAZER
  • 4.3L
  • 6 CYL
  • 2WD
  • AUTOMATIC
  • 300,000 MILES
Changed the distributor and now it won't crank. It sounds like it wants to sometimes but won't.
Saturday, July 27th, 2019 AT 7:19 AM

49 Replies

Tiny
KASEKENNY
  • MECHANIC
  • 18,907 POSTS
Hi Katbarwick,

When you say it won't crank but it sounds like it. Do you mean it cranks over but it won't actually start? If this is the case where the engine just cranks or turns over but does not start and acts like it wants to sometimes, I can almost guarantee that you go the distributor one or more cam teeth off. Did you mark the position of the rotor to housing when removing it?

Here is the installation process. Let me know if you have questions but I suspect you are going to have to remove the distributor and reinstall it in the correct position.
Was this
answer
helpful?
Yes
No
+1
Saturday, July 27th, 2019 AT 5:02 PM
Tiny
DUCJIM
  • MEMBER
  • 1 POST
  • 2001 CHEVROLET BLAZER
  • 6 CYL
  • 4WD
  • AUTOMATIC
  • 150,000 MILES
I can't get the motor to start. I re-installed the distributor and can't find top dead center. I have alligned the indicator marks on the damper with the marks on the front of the motor and positioned the rotor to the number one plug after what I thought the compression stroke was and tightened everything down but when I try to start the motor it won't start but will backfire.
Was this
answer
helpful?
Yes
No
Monday, February 1st, 2021 AT 10:46 AM (Merged)
Tiny
RASMATAZ
  • MECHANIC
  • 75,992 POSTS
Remove the distributor

Your valve and ignition timing are off. You need to put engine no.1 piston on its compression-line the markings at the damper to TDC/0 now install the distributor making sure the rotor is pointing to the no.1 cap tower.
Was this
answer
helpful?
Yes
No
Monday, February 1st, 2021 AT 10:46 AM (Merged)
Tiny
HPI555
  • MEMBER
  • 11 POSTS
Not only do you have to find top dead center on the #1 cylinder but on those types of distributers you have to aline the rotor on the no 6 mark thats on the body of the distrubuter this will automatically aline the distrubuter with the no1 cylinder on the cap hope this helps!
Was this
answer
helpful?
Yes
No
Monday, February 1st, 2021 AT 10:46 AM (Merged)
Tiny
UP29BALNE1
  • MEMBER
  • 65 POSTS
  • 1998 CHEVROLET BLAZER
  • 4.3L
  • V6
  • 4WD
  • 100,000 MILES
My vehicle has been down for about eight months. When I parked it the intake manifold was spilling water out just above the water port on the drivers side. I put a new intake manifold gasket on and put a bead of black silicone at the front and back of the intake and part way up on the heads, then put the intake gaskets on overlapping. I changed all the o-rings in the spider assembly since I was there. I ohm tested all the poppitt's and they are in spec ranges. Problem I did not mark the distributor to the block or anything. I took it out and laid out facing how it came out, but now eight months later it has been moved a couple few times and can't be sure. So what is the procedure for the number one to be top dead center and not mess anything up from here? Thank you
Was this
answer
helpful?
Yes
No
Monday, February 1st, 2021 AT 10:46 AM (Merged)
Tiny
SCGRANTURISMO
  • MECHANIC
  • 4,897 POSTS
Hello,

Down below I have included step by step instructions for ensuring that the number one cylinder is at top dead center for your vehicle. Hope this helps.

Thank you,
Alex
2CarPros
Was this
answer
helpful?
Yes
No
+1
Monday, February 1st, 2021 AT 10:46 AM (Merged)
Tiny
UP29BALNE1
  • MEMBER
  • 65 POSTS
  • 1998 CHEVROLET BLAZER
  • 4.3L
  • V6
  • 4WD
  • AUTOMATIC
  • 100,000 MILES
I just installed new intake manifold gaskets and fuel injection o-rings in the spider assembly. I also checked the ohms of the poppit's and they were all within spec. I didn't mark the distributor on the intake or the rotor on the distributor when I pulled it out. I had just laid it the way it came out. Don't know what I was thinking. Now some weeks later and the distributor behind handled a couple times I would rather be sure. What is the procedure for installing and timing. Thank you for your assistance.
Was this
answer
helpful?
Yes
No
-1
Monday, February 1st, 2021 AT 10:46 AM (Merged)
Tiny
ASEMASTER6371
  • MECHANIC
  • 52,796 POSTS
Good morning,

I posted the procedure for you below as well as some pictures for you to view.

Roy

Important: The engine front cover has 2 alignment tabs and the crankshaft balancer has 2 alignment marks (spaced 90 degrees apart) which are used for positioning number 1 piston at top dead center (TDC). With the piston on the compression stroke and at top dead center, the crankshaft balancer alignment mark (1) must align with the engine front cover tab (2) and the crankshaft balancer alignment mark (4) must align with the engine front cover tab (3).

ImageOpen In New TabZoom/Print

1. Rotate the crankshaft balancer clockwise until the alignment marks on the crankshaft balancer are aligned with the tabs on the engine front cover and the number 1 piston is at top dead center of the compression stroke.

ImageOpen In New TabZoom/Print

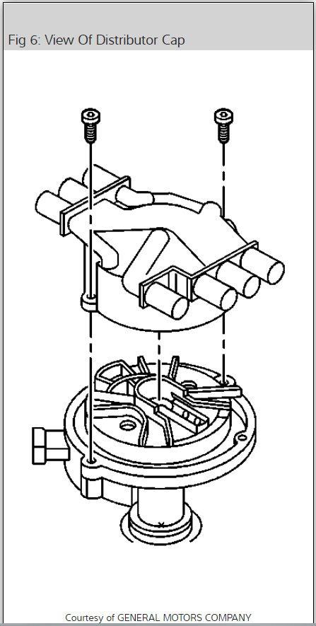
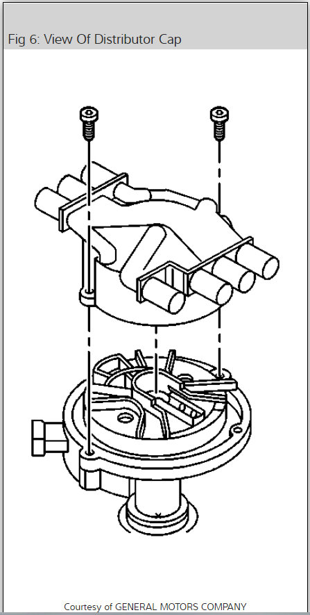
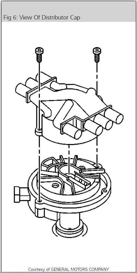
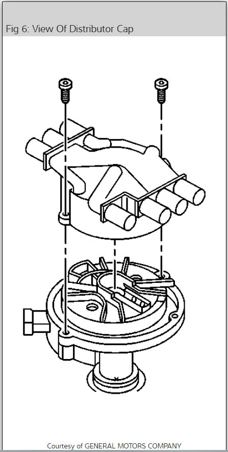
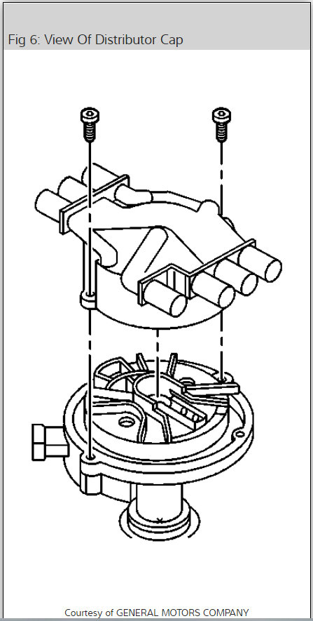
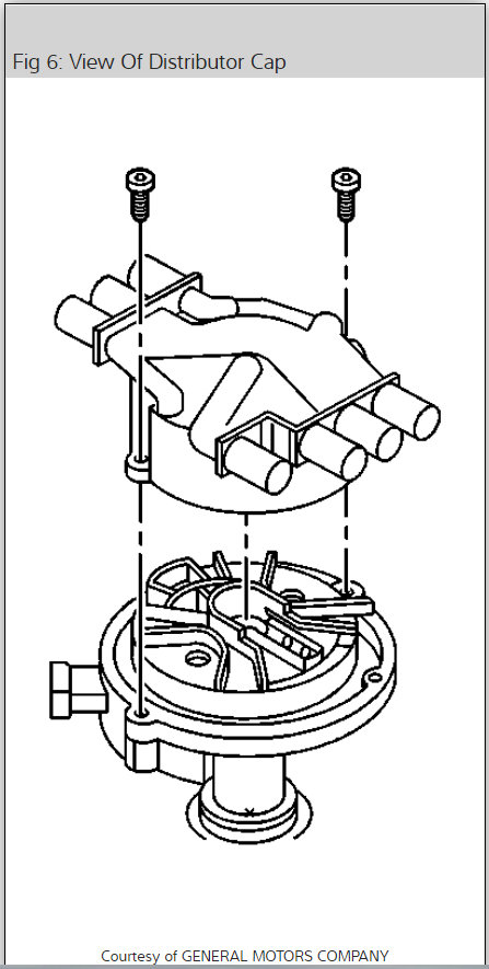
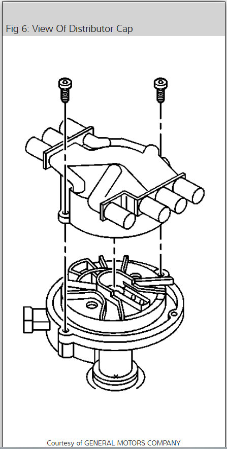
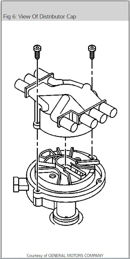
2. Remove the distributor cap bolts and discard.
3. Remove the distributor cap.

Image

4. Install a NEW distributor gasket onto the distributor.
5. Align the indent hole on the driven gear with the paint mark on the distributor housing.

ImageOpen In New TabZoom/Print

6. Ensure that the distributor rotor segment points to the cap hold area.
7. Align the slotted tang in the oil pump driveshaft with the distributor driveshaft.
Rotate the oil pump driveshaft with a screwdriver if necessary.

ImageOpen In New TabZoom/Print

8. Install the distributor and distributor clamp.
The flat in the distributor housing must point toward the front of the engine.

ImageOpen In New TabZoom/Print

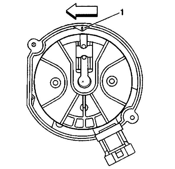
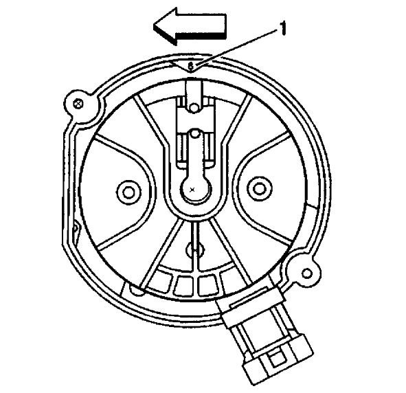
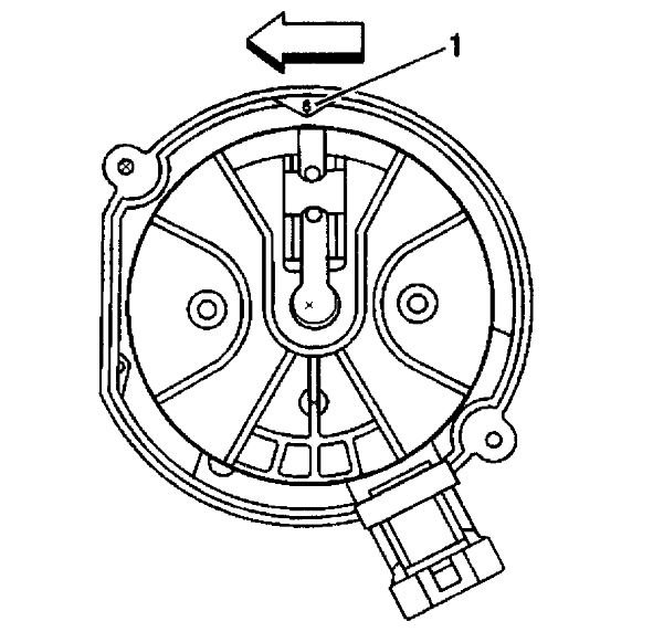
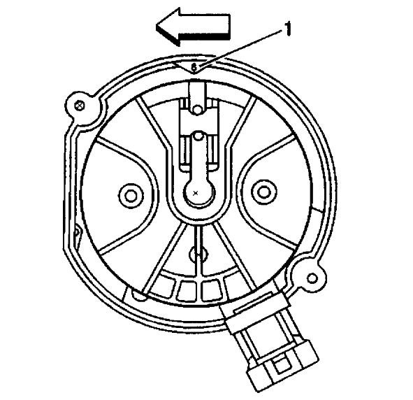
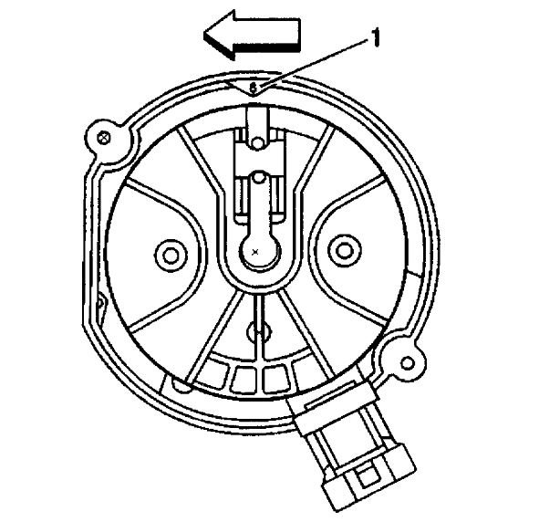
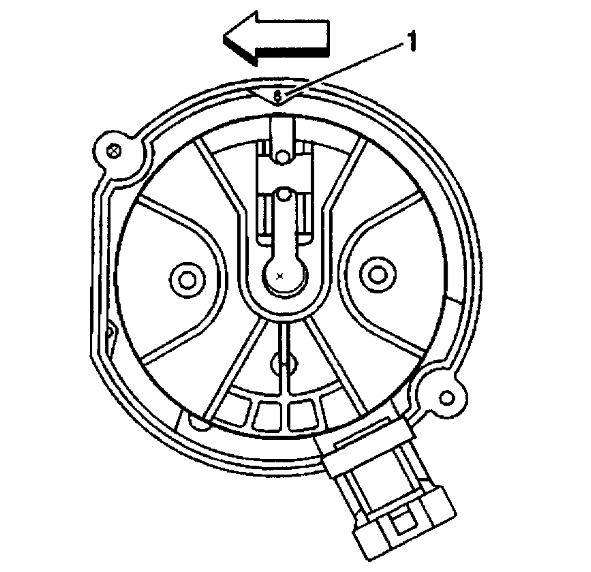
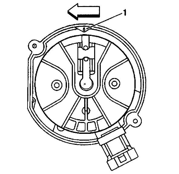
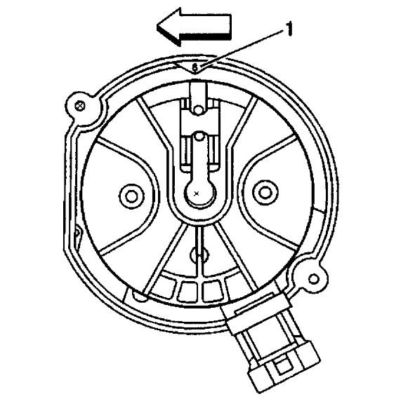
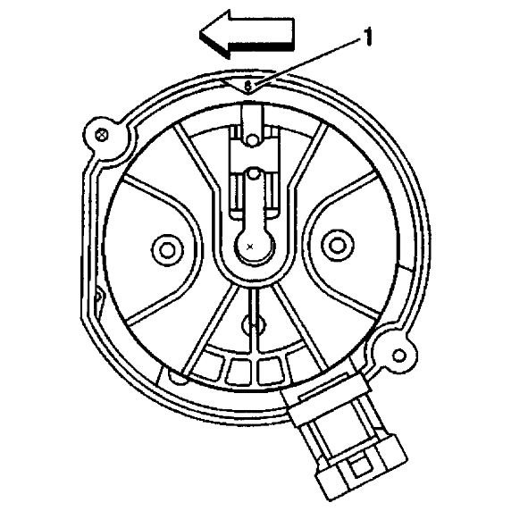
9. Once the distributor is fully seated, align the distributor rotor segment with the number 6 pointer (1) that is cast into the distributor base.
If the distributor rotor segment does not come within a few degrees of the number 6 pointer (1), the gear mesh between the distributor and camshaft may be off a tooth or more. Repeat the procedure again in order to achieve proper alignment.

ImageOpen In New TabZoom/Print

10. Install the distributor clamp bolt.
Tighten the distributor clamp bolt to 25 Nm (18 ft. Lbs.).

NOTICE: Refer to Fastener Notice in Service Precautions.

ImageOpen In New TabZoom/Print

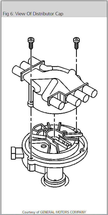
11. Install the distributor cap and NEW distributor cap bolts.
Tighten the distributor cap bolts to 2.4 Nm (21 inch lbs.).

ImageOpen In New TabZoom/Print

12. Install the ignition coil wire harness.
Was this
answer
helpful?
Yes
No
Monday, February 1st, 2021 AT 10:46 AM (Merged)
Tiny
UP29BALNE1
  • MEMBER
  • 65 POSTS
When I install the distributor the rotor isn't facing the number one spark plug. Is it irrelevant which spark plug terminal it faces just as long as it is facing the number six on the distributor base.
Was this
answer
helpful?
Yes
No
+1
Monday, February 1st, 2021 AT 10:46 AM (Merged)
Tiny
ASEMASTER6371
  • MECHANIC
  • 52,796 POSTS
When you install it, it will not be pointing to number one because where it comes out of the cap is not where the rotor needs to point due to the configuration of the cap.

Roy
Was this
answer
helpful?
Yes
No
+1
Monday, February 1st, 2021 AT 10:46 AM (Merged)
Tiny
UP29BALNE1
  • MEMBER
  • 65 POSTS
I'm not looking at it right now, but roughly should it be pointing at between say 9-10 on a clock?
Was this
answer
helpful?
Yes
No
Monday, February 1st, 2021 AT 10:46 AM (Merged)
Tiny
ASEMASTER6371
  • MECHANIC
  • 52,796 POSTS
Did you follow the instructions?

Roy
Was this
answer
helpful?
Yes
No
Monday, February 1st, 2021 AT 10:46 AM (Merged)
Tiny
UP29BALNE1
  • MEMBER
  • 65 POSTS
Yes I did and all four marks lined up as they should. Then I lined up the white mark and the indent. Placed the distributor in the hole with the flat side forward and the rotor actually before the number six on the base. Then when it rotated with the gear it is on the number six on the base. I just like to be sure. I don't know why I'm second guessing myself so much on this. First thing I've worked on since my dad past away. Maybe that has to do with it. Thank you for your time and help.
Was this
answer
helpful?
Yes
No
Monday, February 1st, 2021 AT 10:46 AM (Merged)
Tiny
ASEMASTER6371
  • MECHANIC
  • 52,796 POSTS
Sounds like you have done it correctly.

Roy
Was this
answer
helpful?
Yes
No
Monday, February 1st, 2021 AT 10:46 AM (Merged)
Tiny
UP29BALNE1
  • MEMBER
  • 65 POSTS
Well it finally stopped raining so I could finish it up and get it started. When I turned the key to on there is a fuel leak from the lines going into the spider assembly. I canned the o-rings going to it and some spacers and washers. Can you give me a diagram of how they go in case I did something wrong? Thank you
Was this
answer
helpful?
Yes
No
Monday, February 1st, 2021 AT 10:46 AM (Merged)
Tiny
ASEMASTER6371
  • MECHANIC
  • 52,796 POSTS
I attached a picture for you of the line with spacer and washers.

Roy
Was this
answer
helpful?
Yes
No
Monday, February 1st, 2021 AT 10:46 AM (Merged)
Tiny
UP29BALNE1
  • MEMBER
  • 65 POSTS
It looks like there are three o-rings and the plastic spacer.
Was this
answer
helpful?
Yes
No
Monday, February 1st, 2021 AT 10:46 AM (Merged)
Tiny
ASEMASTER6371
  • MECHANIC
  • 52,796 POSTS
There are two o-rings, spacer, and washer.

Roy
Was this
answer
helpful?
Yes
No
Monday, February 1st, 2021 AT 10:46 AM (Merged)
Tiny
BHUNTR
  • MEMBER
  • 2 POSTS
  • 1997 CHEVROLET BLAZER
  • 6 CYL
  • 4WD
  • AUTOMATIC
  • 110,000 MILES
I am R&R the intake manifold. I ready to reinstall the distributor (to point to no# 1 cyl.). Even though I was sure to mark the rotor for proper install, the notch for oill pump doesnt seem to allow it to dop alol the way down, it does drop all the way but not where I marked it upon removal. The engine was not disturbed while it was out. What could it be?
Was this
answer
helpful?
Yes
No
Monday, February 1st, 2021 AT 10:46 AM (Merged)
Tiny
RASMATAZ
  • MECHANIC
  • 75,992 POSTS
Sounds like your not fully in the no.1 piston TDC/Compression stroke-look at the damper when your on TDC on the no.1 is the mark lined up TDC/0 deg.
Was this
answer
helpful?
Yes
No
Monday, February 1st, 2021 AT 10:46 AM (Merged)

Please login or register to post a reply.