I try to start it it make a high pitched whine

Tiny
MOMMYLOVE
  • MEMBER
  • 2008 HONDA CRV
  • 2WD
  • AUTOMATIC
  • 245,000 MILES
I had just put a new starter on my car and it drove fine for about 3 days. Then my husband came home one night turned it off and removed the key but the engine was still running, so he turned it back on and it made a loud grinding noise. Now when I try to start it it make a high pitched whine won't click or turn over.
Wednesday, May 13th, 2020 AT 11:48 PM

8 Replies

Tiny
JACOBANDNICKOLAS
  • MECHANIC
  • 110,194 POSTS
Hi,

It sounds like when he turned it back on, the starter engaged while the engine was running and caused the grinding. Either the starter gear was damaged or the flywheel.

Is it possible for you to record the sound and upload it for me to hear? I should be able to identify what is happening. There is also a chance the Bendix (which engages the starter to the engine) isn't working. As a result, the electric motor on the starter is spinning causing the whine, but not engaging with the flywheel.

Let me know. It will be really helpful if you can record the sound for me. Here is a link that discusses starter issues, but I have a feeling it is something different.

https://www.2carpros.com/articles/starter-not-working-repair

I will watch for your reply

Joe
Was this
answer
helpful?
Yes
No
+1
Thursday, March 11th, 2021 AT 6:42 PM
Tiny
MOMMYLOVE
  • MEMBER
  • 5 POSTS
This is the sound:
Was this
answer
helpful?
Yes
No
Thursday, March 11th, 2021 AT 6:42 PM
Tiny
MOMMYLOVE
  • MEMBER
  • 5 POSTS
You can hear it better this way.
Was this
answer
helpful?
Yes
No
+1
Thursday, March 11th, 2021 AT 6:42 PM
Tiny
JACOBANDNICKOLAS
  • MECHANIC
  • 110,194 POSTS
Replace the starter. It's not engaging with the flywheel. Basically, you hear an electric motor turning on and off. It seems the bendix has gone bad. The only other thing it can be would be one or more of the teeth on the starter or flywheel was damaged. However, you can inspect that when the starter is off the vehicle.

Here is a link that shows in general how one is replaced:

https://www.2carpros.com/articles/how-to-replace-a-starter-motor

_______________________________________

Here are the directions specific to your vehicle for replacement:

Change Vehicle Bookmarks Library Request Conversion Calculator Technician's Reference - Collision
12345678901234567890123456
starter motor
28
Community 21 Create Quote
2008 Honda Truck CR-V 2WD L4-2.4L
Removal and Replacement
Vehicle Starting and Charging Starting System Starter Motor Service and Repair Removal and Replacement
REMOVAL AND REPLACEMENT
Starter Removal and Installation

Removal

1. Do the battery terminal disconnection procedure .

2. Remove the front splash shield See: Splash Guard > Removal and Replacement > Front Splash Shield Replacement.

3. Remove the intake manifold bracket.

K24Z1 engine

pic 1

K24Z6 engine

pic 2

4. Disconnect the knock sensor connector.

- K24Z6 engine See: Knock Sensor > Removal and Replacement

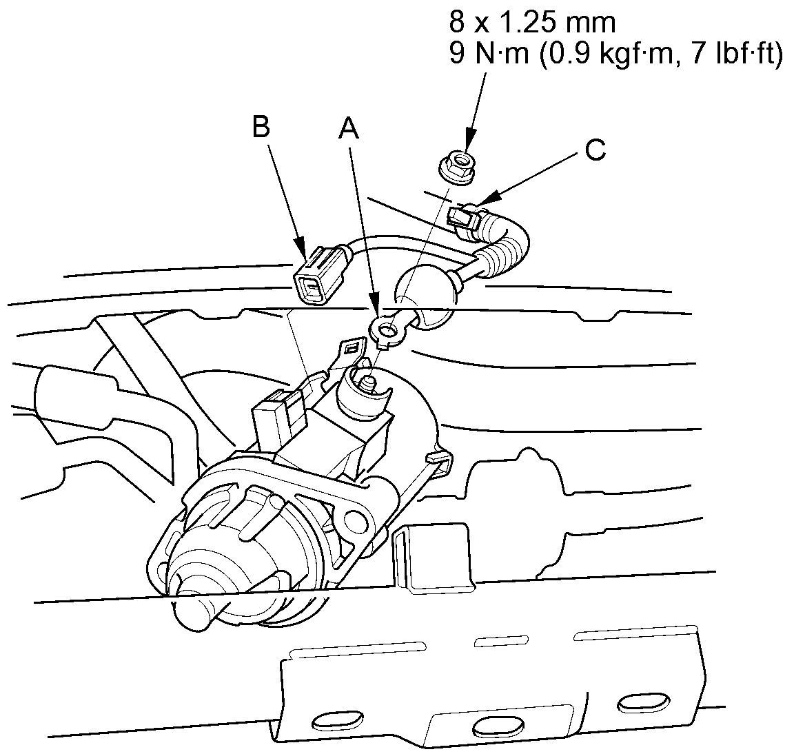
5. Remove the harness clamp (A), and remove the two bolts (B) securing the starter, then remove the starter from the engine.

pic 3

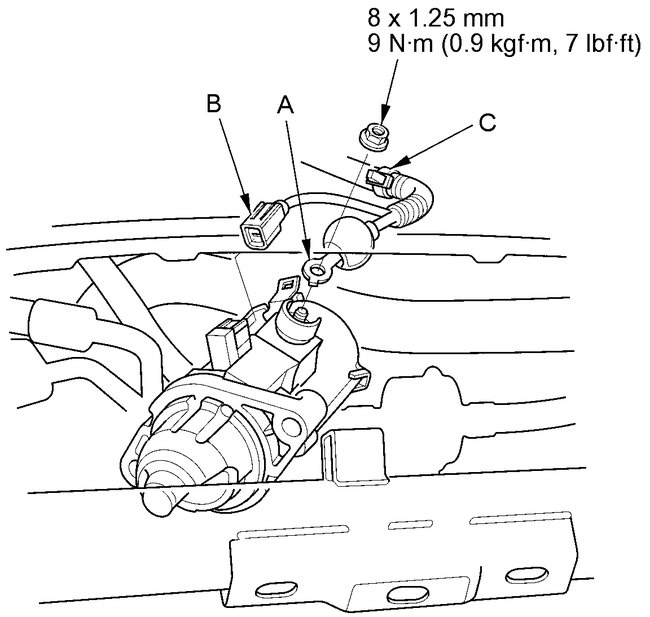
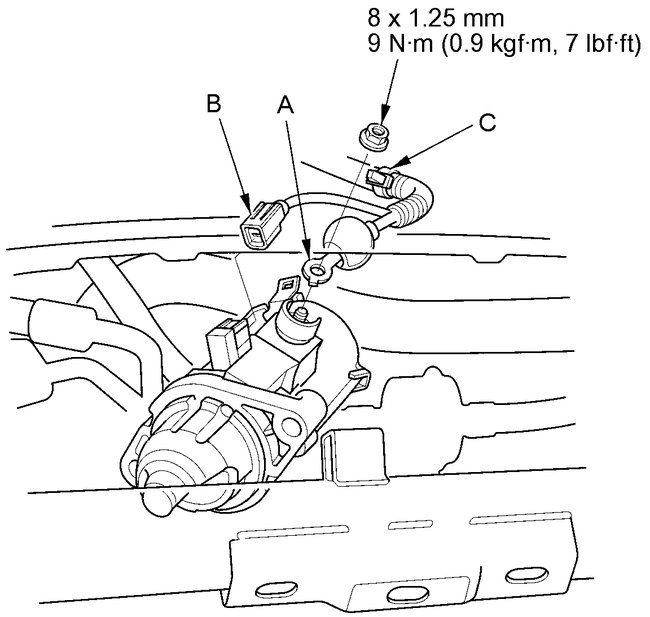
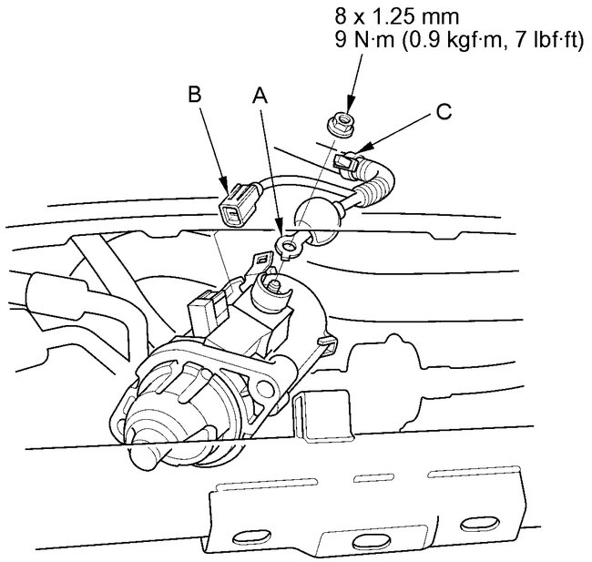
6. Disconnect the positive starter cable (A) from the B terminal, then disconnect the S terminal connector (B).

pic 4

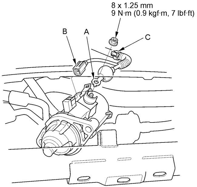
7. Remove the harness clamp (C), then remove the starter.

Installation

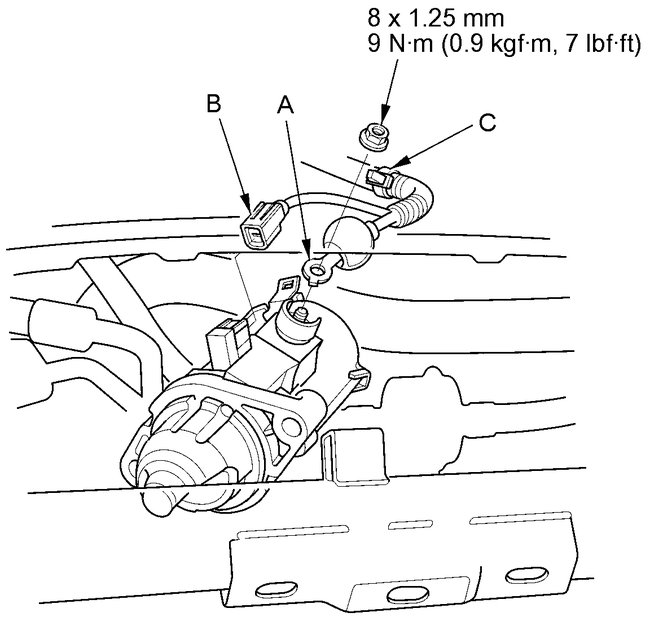
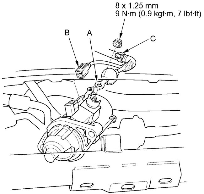
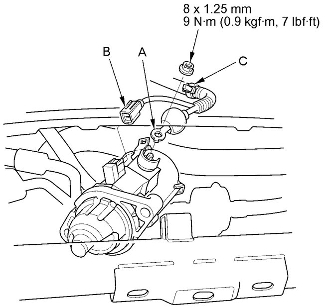
1. Connect the positive starter cable (A) and the S terminal connector (B). Make sure the positive starter cable crimped side of the ring terminal faces away from the starter when you connect it.

pic 5

2. Install the harness clamp (C).

3. Install the starter, then tighten the two bolts (A), and then install the harness clamp (B).

pic 6

4. Connect the knock sensor connector.

- K24Z6 engine See: Knock Sensor > Removal and Replacement

5. Install the intake manifold bracket.

K24Z1 engine

pic 7

K24Z6 engine

pic 8

6. Install the front splash shield See: Splash Guard > Removal and Replacement > Front Splash Shield Replacement.

7. Do the battery terminal reconnection procedure .

8. Start the engine to make sure the starter works properly.

________________________________

I hope this helps. Let me know if you have other questions.

Take care,

Joe
Was this
answer
helpful?
Yes
No
+1
Thursday, March 11th, 2021 AT 6:42 PM
Tiny
MOMMYLOVE
  • MEMBER
  • 5 POSTS
How do I know if it is the starter or the flywheel?
Was this
answer
helpful?
Yes
No
Thursday, March 11th, 2021 AT 6:42 PM
Tiny
JACOBANDNICKOLAS
  • MECHANIC
  • 110,194 POSTS
Hi,

There are teeth on the flywheel and on the starter. Confirm they aren't damaged. However, to me it sounds like the starter motor Bendix isn't engaging.

What to do is this. Remove the starter and have it bench tested at the parts store where you got it. That way we'll know if the starter gear is engaging.

Let me know what you find or if you have other questions.

Take care,
Joe
Was this
answer
helpful?
Yes
No
Thursday, March 11th, 2021 AT 6:42 PM
Tiny
MOMMYLOVE
  • MEMBER
  • 5 POSTS
It was the starter. After being replaced it has started and shut down with no problems.
Was this
answer
helpful?
Yes
No
-1
Thursday, March 11th, 2021 AT 6:42 PM
Tiny
JACOBANDNICKOLAS
  • MECHANIC
  • 110,194 POSTS
Hi,

I'm glad to hear it's fixed. Likely, it was the Bendix. Regardless, please feel free to come back anytime you have questions.

Take care,
Joe
Was this
answer
helpful?
Yes
No
Thursday, March 11th, 2021 AT 6:42 PM

Please login or register to post a reply.