Friday, April 12th, 2013 AT 7:15 PM
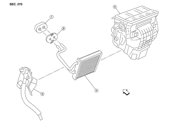
When accelerating, the car from a long full stop, I can hear what is like a water tricking noise behind the dashboard. The sound comes from the left air vent on driver side. Also when I turn on the car, especially on a cold day, I can hear what sounds like water running down the pipes (also from the left air vent). I am probably sure it is not coolant related, because the system was bled out, and refilled with new coolant. But the problem persists. The dashboard was removed by Nissan technicians, and then placed back. It is a 2010 Nissan Altima 2.5 S coupe





