Turn signal and hazard not working

Tiny
CALABRESE58
  • MEMBER
  • 2000 DODGE STRATUS
  • 130,000 MILES
Turn signals and hazard lights do not operate. Fuses are good and flasher relay was replaced and still fail to operate.
Thursday, March 21st, 2019 AT 6:59 AM

9 Replies

Tiny
JOETECHPRO
  • MECHANIC
  • 705 POSTS
Hey, CALABRESE58

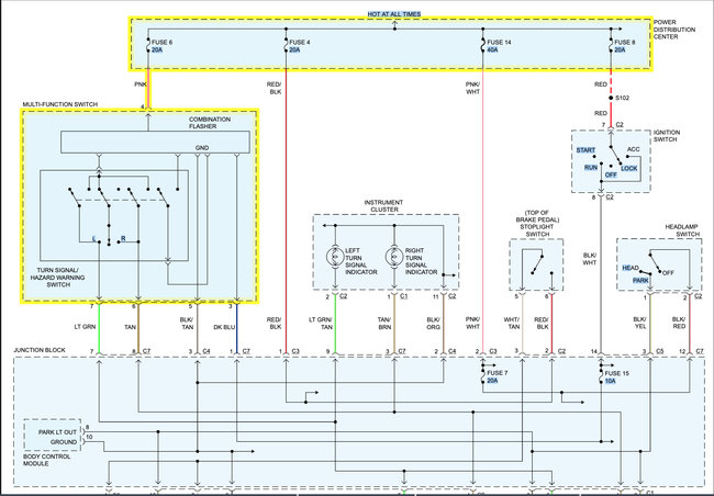
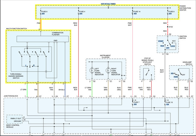
From what I can see if you have power at fuse 6 in the engine compartment fuse box that is the only fuse for this circuit.

Then if you have replaced the flasher relay (In the third picture, fitted to the rear of the multi function switch on the steering column) After this you need to check the multifunction switch.

I have attached the wiring diagram for the circuit.

Also a picture of where the flasher relay is located.

Have you got access to a multimeter or test light?

Regards, Joe
Was this
answer
helpful?
Yes
No
+1
Saturday, March 23rd, 2019 AT 12:23 PM
Tiny
CALABRESE58
  • MEMBER
  • 5 POSTS
I checked all of the above with multi-meter and wound up having to order the multi-function switch. Thanks for the information.
Was this
answer
helpful?
Yes
No
+1
Saturday, March 23rd, 2019 AT 2:22 PM
Tiny
JOETECHPRO
  • MECHANIC
  • 705 POSTS
Hey CALABRESE58,

What did you check with the multimeter?

You should have had 12V in at pin 4 but 0V out at pins 6 and 7 on the multifunction switch connector when actuated if it is faulty.

Regards, Joe
Was this
answer
helpful?
Yes
No
Saturday, March 23rd, 2019 AT 6:00 PM
Tiny
CALABRESE58
  • MEMBER
  • 5 POSTS
I had a mechanic check and install the new multi-function switch all connections to the switch have power all switch functions work except hazard and turn signals still fail to operate. They need more time to find the problem at this point the mechanic was unable to figure it out.
Was this
answer
helpful?
Yes
No
+1
Monday, March 25th, 2019 AT 12:39 PM
Tiny
JOETECHPRO
  • MECHANIC
  • 705 POSTS
Hey CALABRESE58,

Sounds like the multi-function switch was not the original issue.

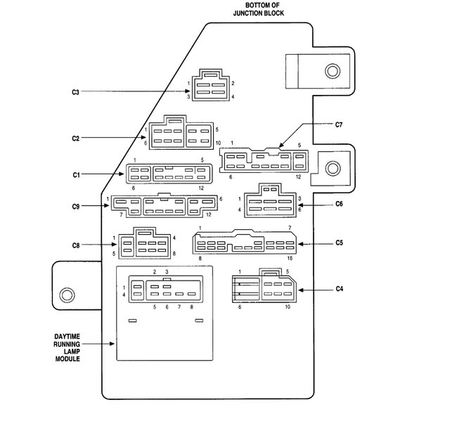
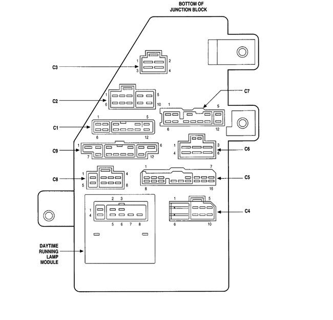
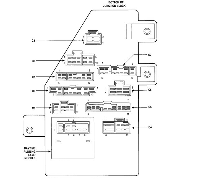
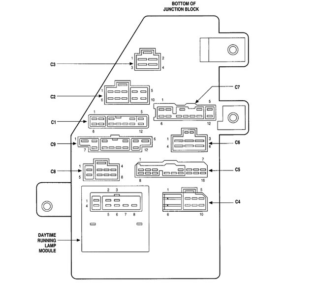
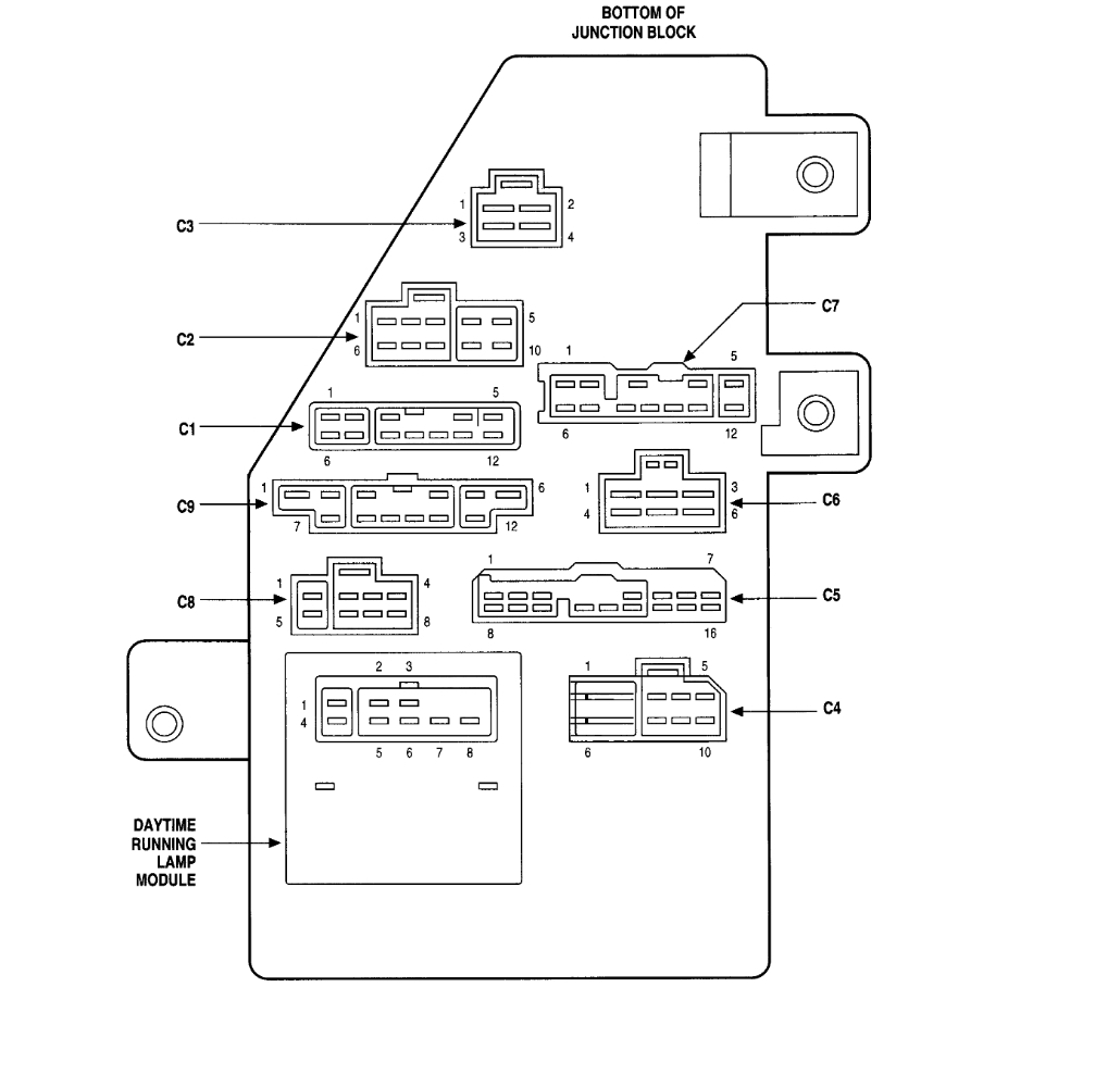
After testing the switch if that is ok the next step will be to check connections and the power in and out of the junction block (attached to the BCM, body control module)

You should see from the instructions how to access the connections on the back of the junction block. You will need to check C7, C1 and C9.

C7 being the most likely cause as it has the inputs for all of the flashers. I would suspect you have corroded/burnt contacts.

If the connections are good please check for power in from the multi-function switch pins 7 and 8 of connector C7.

If present then check power out on pins 4 and 5 of connector C1. Also pins 4 and 5 of connector C9.

You should have a 12 volts pulse every half a second at all of these points.

I have attached all the connector diagrams for the Junction block and the location and removal instructions.

Let us know how is goes.

Regards, Joe
Was this
answer
helpful?
Yes
No
Monday, March 25th, 2019 AT 4:30 PM
Tiny
CALABRESE58
  • MEMBER
  • 5 POSTS
Thanks, I will pass this information on to the mechanic who is handling the problem he wasn't expecting this type of problem and had a heavy schedule so will continue tomorrow.
Was this
answer
helpful?
Yes
No
Monday, March 25th, 2019 AT 7:25 PM
Tiny
JOETECHPRO
  • MECHANIC
  • 705 POSTS
Hey CALABRESE58,

Best of luck, hope your mechanic gets the issue resolved for you.

Please keep us updated on the fix.

Regards, Joe
Was this
answer
helpful?
Yes
No
Tuesday, March 26th, 2019 AT 8:20 AM
Tiny
CALABRESE58
  • MEMBER
  • 5 POSTS
Thank you, will do.
Was this
answer
helpful?
Yes
No
Tuesday, March 26th, 2019 AT 8:24 AM
Tiny
KEN L
  • MASTER CERTIFIED MECHANIC
  • 55,499 POSTS
Please let us know, JOETECHPRO is one of our best :)
Was this
answer
helpful?
Yes
No
+1
Friday, March 29th, 2019 AT 11:44 AM

Please login or register to post a reply.