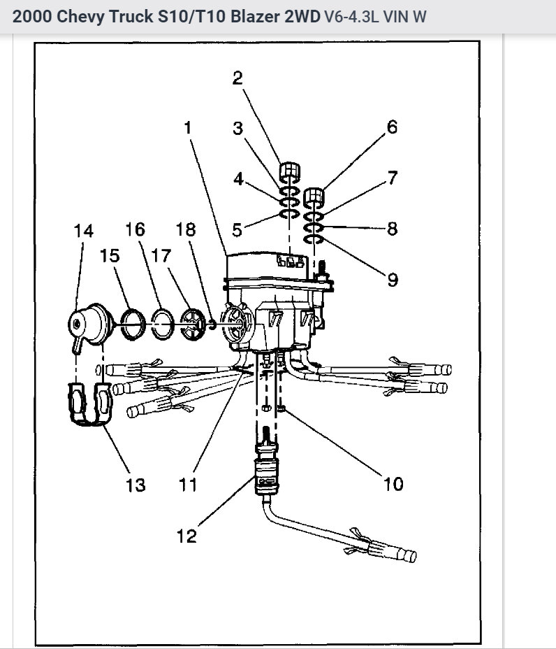
I’ve changed the ignition switch, cam sensor, crank sensor, cap and rotor, ignition module, battery, and fuel injectors.
As far as testing goes, I’m getting good spark, I’ve got air flow, and I’m getting fuel to the injectors, also did a pressure check at the Schraner valve on top of the manifold before the injectors and my fuel pressure was 65 and held at 60 it never got lower than that. I’ve checked for injector pulse, and I am getting pulse to each injector. Even with out starting fluid when I crank the motor it acts like it wants to start for a brief moment and then it quits and goes back to regular cranking. Any help would be greatly appreciated. I’d like to just get this truck running decent so I can start working on the rest of it. Honorable mention I thought I should add is after I put in the injectors (very last part I have installed) the fuel pump and lines have been making a weird clanking noise. Like when I turn the key to prime the system, I can hear the pump and lines kick on and it makes a creaking noise going through the lines and what sounds like gurgling going into the injectors. Also noted that when I changed the crank sensor the new crank sensor had a weaker magnetic pull than the old one, so I’m wondering if I should throw my old one in just to see if that could be the problem? I don’t understand what it could be if all my tests checked out. Please help thank you!
Wednesday, November 16th, 2022 AT 10:18 AM


































