Shift linkage

Tiny
COUGSQUAD1028
  • MEMBER
  • 2001 FORD F-150
  • 5.4L
  • V8
  • 2WD
  • AUTOMATIC
  • 206,000 MILES
My truck comes out of park without having the key in it, or even pressing the brake. It doesn't go into reverse, it just comes out of park and will roll if on a hill.
Friday, November 22nd, 2019 AT 3:41 PM

1 Reply

Tiny
ASEMASTER6371
  • MECHANIC
  • 52,796 POSTS
Good morning,

I attached a procedure for adjusting the cable. It may be just an adjustment of the cable itself.

Roy

Cable and Bracket Adjustment -5.4L with 4R100 Transmission
1. Place the gearshift lever in the D position.
Place a three pound weight on the gearshift lever.
2. Raise and support the vehicle.

ImageOpen In New TabZoom/Print

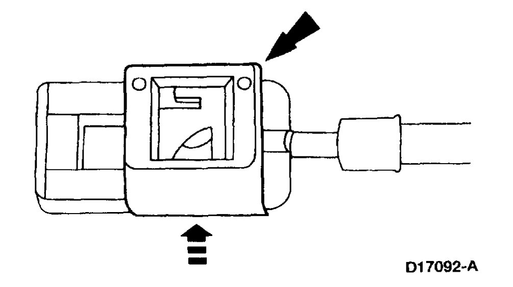
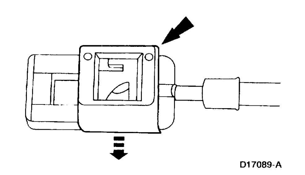
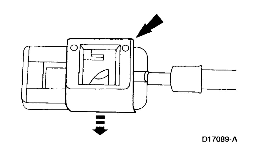
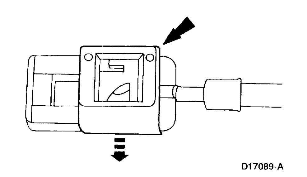
3. Disconnect the transmission shift cable from the manual lever.

ImageOpen In New TabZoom/Print

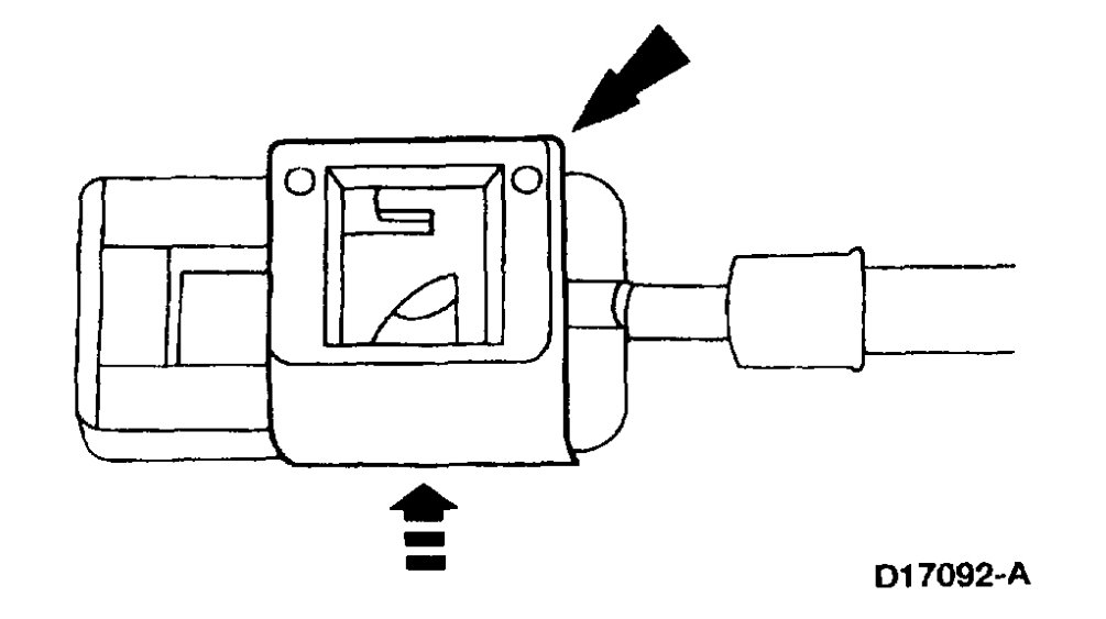
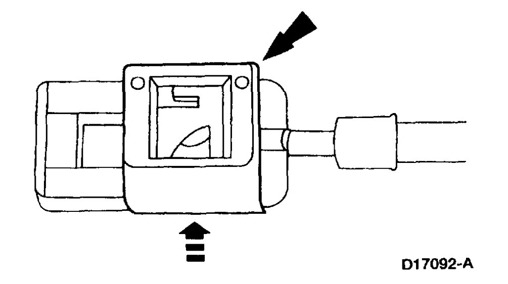
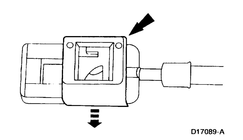
4. Unlock the lock tab on the transmission shift cable.

ImageOpen In New TabZoom/Print

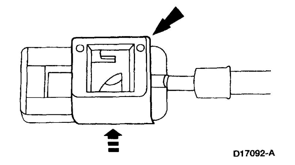
5. Place the manual control lever in the (D) position.
1. Place the manual control lever in the first gear position.
2. Move the manual control lever two detents to the (D) position.

ImageOpen In New TabZoom/Print

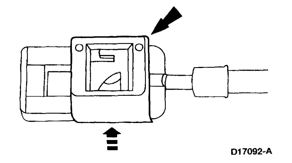
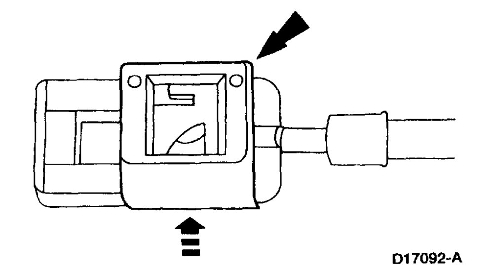
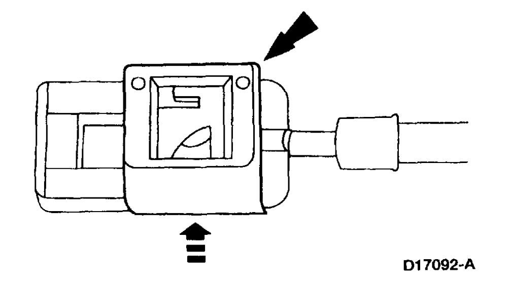
6. Connect the transmission shift cable to the manual control lever.

ImageOpen In New TabZoom/Print

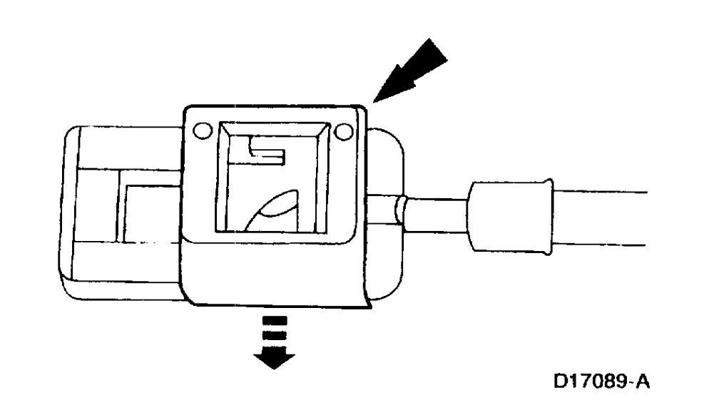
7. Lock the transmission shift cable lock tab.
8. Lower the vehicle.
9. Remove the eight pound weight.
10. Carefully move the gearshift lever from detent to detent and compare with transmission settings. Verify that the vehicle will start in PARK or NEUTRAL and backup lamps illuminate in REVERSE. If not, Steps 1-5 must be repeated and include digital TR or TR sensor adjustment in NEUTRAL. Readjust if necessary.
Was this
answer
helpful?
Yes
No
+1
Tuesday, March 23rd, 2021 AT 6:09 PM

Please login or register to post a reply.