1. Torque converter stuck off.
2. TTC solenoid #3 stuck open.
At this point the car would still shift into gear. I went ahead and reset the codes and to my surprise the car would not go into gear anymore after resetting the codes. I thought I was stuck there for good but after digging on the X431 Mini pro I was able to select the transmission module and go to the special function and shift the transmission gears manually, I went one by one up to six until I reached highway speeds. My first impression was the drive shaft of torque converter was toast, but my question is, why would the car run if I manually command the computer to change gears on transmission? After making it home safely I made the terrible mistake of parking in my home garage, lol, I can't back out anymore. I had more time to put the scanner again and on the live data section I noticed something that I'm not sure if is normal. Here it what I noticed:
Torque Converter Clutch
(TCC) Pressure Control
(PC) Solenoid Pressure Command Value = No
Torque Converter Clutch
(TCC) Pressure Control
(PC) Solenoid Pressure Command PSI = 0
would this be the problem why not is shifting to any gear? No matter what gear is selected that never changed.
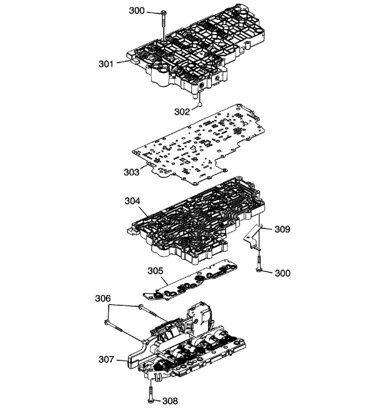
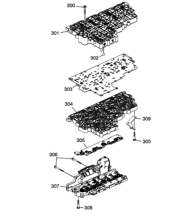
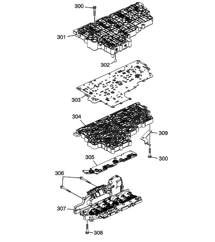
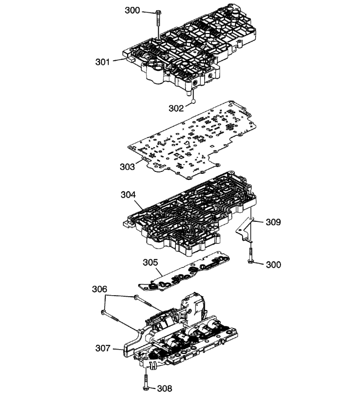
since I remember one of the codes saying something about a solenoid #3 I trigger that one On and Off and on Off car moves back couple of inches on the On position car moves forward again. During the cycling of the On and Off I can hear how the transmission either is trying to shift of torque converter engaging. Please help.
i forgot to mention I have also checked the transmission shifting cable inside and underneath the car where it goes into the transmission, and it is all good.
Sunday, July 31st, 2022 AT 9:13 AM









