Transmission fluid level check

Tiny
JOE REYNOLDS
  • MEMBER
  • 2016 CHEVROLET COLORADO
  • 3.6L
  • 6 CYL
  • 4WD
  • AUTOMATIC
  • 31,000 MILES
It says level truck by pulling on to level ground, if so the truck is not level, it is 2" higher in rear, should I check for level at frame or box of truck, transmission pan is tapered so checking there won't work.
Monday, October 26th, 2020 AT 9:10 AM

4 Replies

Tiny
JACOBANDNICKOLAS
  • MECHANIC
  • 110,192 POSTS
Hi,

The directions indicate the check is done while the vehicle is lifted on a rack. Therefore, it should be done when the frame is level, regardless of the body.

For some reason, I am unable to upload the directions. However, I will try to explain what is done.

1) The transmission fluid temp needs to be between 86 and 122°F. You will need a scan tool to read the temperature.

2) When you remove the fill plug, the fluid should drip. Note, the engine must be running. When this is checked.

If the fluid runs out, allow it to do so and wait until it drips. If nothing comes out, add fluid until it drips.

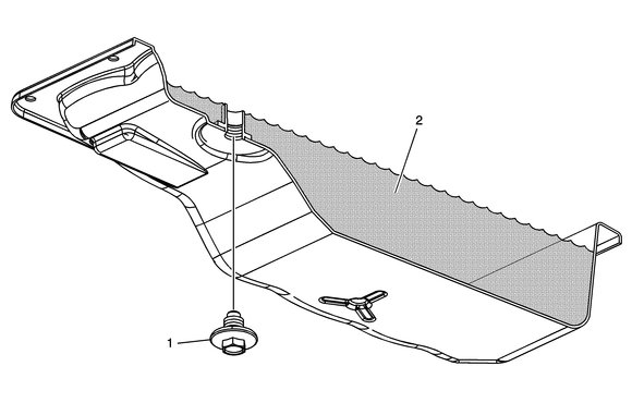
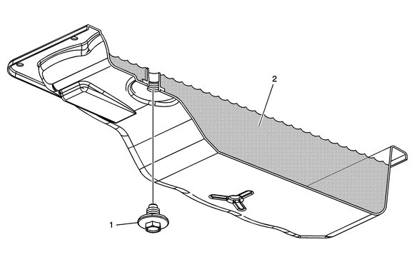
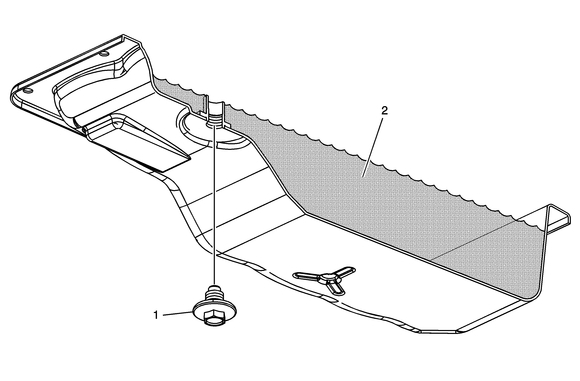
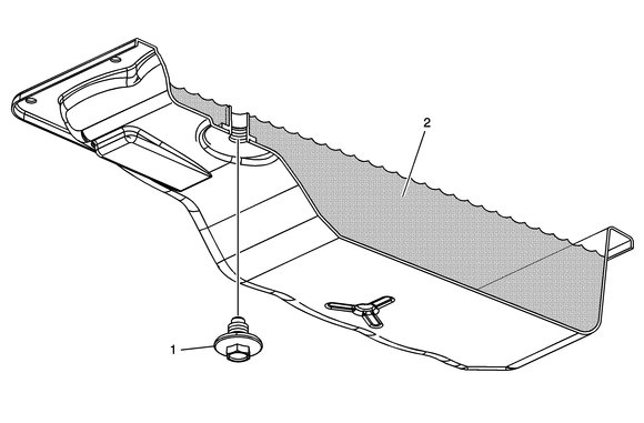
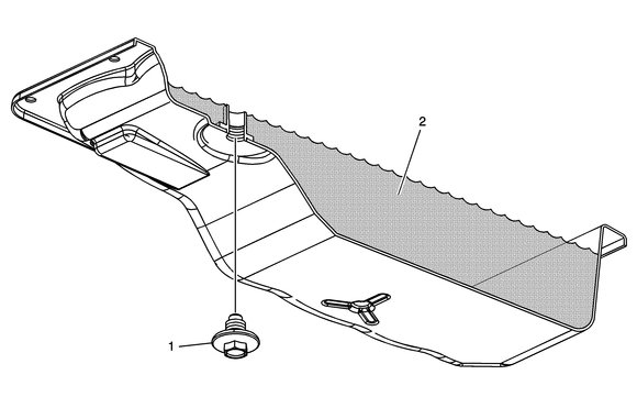
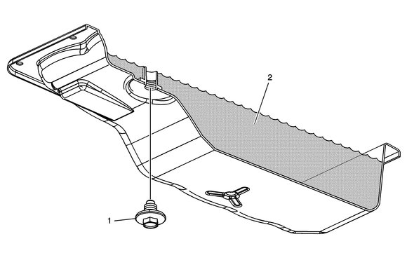
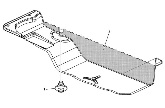
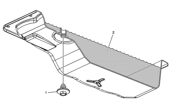
I attached a pic below of which plug needs removed for this test.

Let me know if this helps.

Take care,
Joe
Was this
answer
helpful?
Yes
No
Monday, October 26th, 2020 AT 12:46 PM
Tiny
JOE REYNOLDS
  • MEMBER
  • 2 POSTS
I needed to put 1 1/2" planks under the front tires, to get the frame level.
Was this
answer
helpful?
Yes
No
Tuesday, October 27th, 2020 AT 10:38 AM
Tiny
JOE REYNOLDS
  • MEMBER
  • 2 POSTS
Hi Ken. I can't find the second reply. First, I checked the fluid with 1.5" planks in front, bringing the frame level. At 110*f truck running in park, no fluid came out. I hand pumped 4 3/4 quarts. Out truck not running. Fluid looked good at first glance, but it was real dark red, slight metallic floating.
Pumped 6 quarts in, started truck and drained till it was a drip, drip. All done took 25 minute run, shifts great. No wonder GM is having problems, first how to level truck. I changed at 31,000 miles, not 45,000 as required, it needed it. Second. Truck bought new never towed, or worked hard. And the fluid looked real bad. I will do it again with new filter, this time I didn't want to unbolt the exhaust.
Thanks. Joe
Was this
answer
helpful?
Yes
No
Tuesday, October 27th, 2020 AT 11:25 AM
Tiny
JACOBANDNICKOLAS
  • MECHANIC
  • 110,192 POSTS
Hi,

Glad to hear you got it taken care of. Please feel free to come back anytime in the future if you have questions or need anything.

Take care,
Joe
Was this
answer
helpful?
Yes
No
Tuesday, October 27th, 2020 AT 2:51 PM

Please login or register to post a reply.