Transmission fluid replacement type information needed

Tiny
NIKOLAS 2021
  • MEMBER
  • 2012 NISSAN ALTIMA
  • 2.5L
  • 4 CYL
  • 2WD
  • AUTOMATIC
  • 70,000 MILES
Can you replace nissan ns-2 with Pennzoil Platinum CVT 2 550042063?
Sunday, February 28th, 2021 AT 5:43 PM

6 Replies

Tiny
NICKOLAOSF
  • MECHANIC
  • 69 POSTS
Hi NIKOLAS 2021,

Transmission Fluid
We can help you with this information.
Genuine Nissan CVT fluid NS-2*
*Use only Genuine Nissan CVT fluid NS-2. Using transmission fluid other than Genuine Nissan CVT fluid NS-2 will damage the CVT transmission, which is not covered by the Nissan new vehicle limited warranty.

I have a questions, are you having issues, have you replaced the transmission oil before?
Are you replacing CVT oil filter?
Let us know what happens and please upload pictures or videos of the problem.
I am glad to help you, If there is anything else we can help you with please contact us again. Thank you for choosing 2CarPros.

Cheers, Nick
Was this
answer
helpful?
Yes
No
Tuesday, April 20th, 2021 AT 12:08 PM
Tiny
NIKOLAS 2021
  • MEMBER
  • 3 POSTS
No first fluid change! I came across info. Online that stated the msds/sds was the same for Nissan ns-2 and Pennzoil CVT-2, both being made from shell oil products US, Houston?
Was this
answer
helpful?
Yes
No
Tuesday, April 20th, 2021 AT 12:08 PM
Tiny
NICKOLAOSF
  • MECHANIC
  • 69 POSTS
Do you have a symptom with the transmission? If not I would recommend allowing the dealer to service it with a filter us well. Do to Nissans CVT issues. Ask them to get print out of codes and they can check more for overheating in the system.
My suggestions on this transmissions is to service the oil every 20,000 to 25,000 miles
I am glad to help you, If there is anything else we can help you with please contact us again. Thank you for choosing 2CarPros.
Cheers, Nick
Was this
answer
helpful?
Yes
No
+1
Tuesday, April 20th, 2021 AT 12:08 PM
Tiny
NIKOLAS 2021
  • MEMBER
  • 3 POSTS
I am very aware of that mesh filter! Came across info. That there is also a return line filter?
Was this
answer
helpful?
Yes
No
Tuesday, April 20th, 2021 AT 12:08 PM
Tiny
NICKOLAOSF
  • MECHANIC
  • 69 POSTS
You might have a inline transmission cooler line filter, (you have to look to verify) other wise you have to open transmission to replace the one that is in the transmission.
Was this
answer
helpful?
Yes
No
Tuesday, April 20th, 2021 AT 12:08 PM
Tiny
JACOBANDNICKOLAS
  • MECHANIC
  • 110,192 POSTS
Hi,

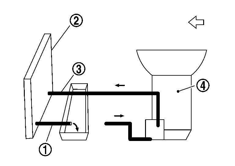
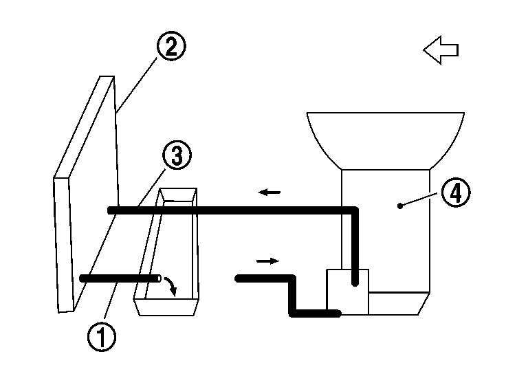
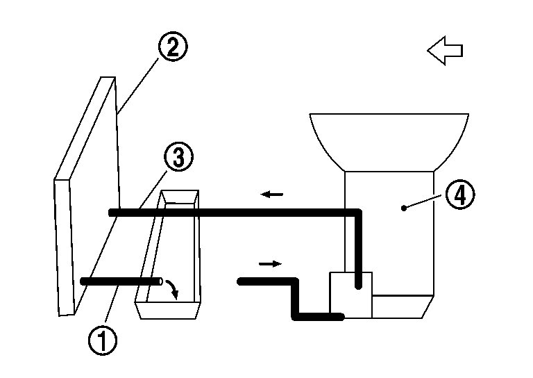
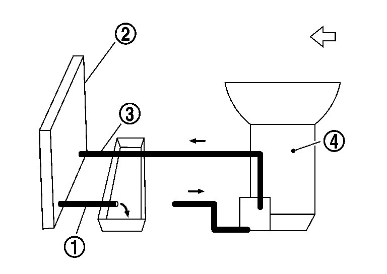
As far as replacing the transmission fluid, it is a little different than a traditional transmission. Here are the directions specific to this vehicle. The attached pic correlates with the directions.

Note: Please make sure to only use the recommended CVT fluid for this procedure.

_____________________
2012 Nissan-Datsun Altima L4-2.5L (QR25DE)
Changing CVT Fluid
Vehicle Maintenance Fluids Fluid - CVT Service and Repair Procedures CVT RE0F10A Changing CVT Fluid
CHANGING CVT FLUID
CVT FLUID

Changing CVT Fluid

1. Warm up CVT fluid by driving the vehicle for 10 minutes.

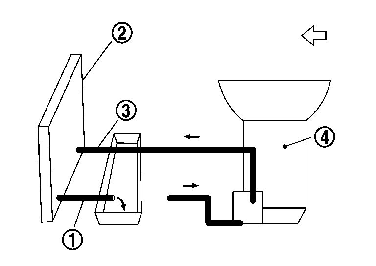
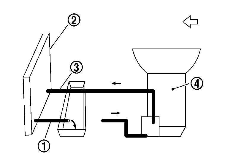
Pic 1

- arrow indicates: Vehicle front
- Radiator (2)
- CVT fluid cooler hose [inlet side (3)]
- Transaxle assembly (4)
2. Drain CVT fluid from CVT fluid cooler hose [outlet side (1)] and refill with new specified NISSAN CVT fluid in the CVT fluid charging pipe with the engine running at idle speed.
3. Refill until new CVT fluid comes out from CVT fluid cooler hose
[outlet side (1)].
NOTE:
About 30 to 50% extra fluid will be required for this procedure.
4. Check fluid level and condition. See: Fluid - CVT > Procedures > Inspection.

CVT fluid: See: Continuously Variable Transmission/Transaxle, CVT > Mechanical > General Specifications
Fluid capacity: See: Continuously Variable Transmission/Transaxle, CVT > Mechanical > General Specifications

CAUTION:
- Use only Genuine NISSAN CVT Fluid NS-2. Never mix with other fluid.
- Using CVT fluid other than Genuine NISSAN CVT Fluid NS-2 will deteriorate in drivability and
CVT durability, and may damage the CVT, which is not covered by the warranty.
- When filling CVT fluid, take care not to scatter heat generating parts such as exhaust.
- Sufficiently shake the container of CVT fluid before using.
- Delete CVT fluid deterioration date with CONSULT after changing CVT fluid.

_________________________

I hope this helps. Take care and let me know if you have other questions.

God Bless,
Joe
Was this
answer
helpful?
Yes
No
Tuesday, April 20th, 2021 AT 12:08 PM

Please login or register to post a reply.