When accelerating from a stop there is a slight clunk in transmission

Tiny
JACKNUT
  • MEMBER
  • 2005 BUICK LA CROSSE
  • 3.8L
  • V6
  • 177,000 MILES
Sometime I get a slight clunk in gear when waiting at red light then taking off. Other than that it shifts fine and no slips. Fluid is clean and not burnt. I will be changing transmission screen. I need to know what the correct transmission fluid is for this car.
Sunday, December 13th, 2020 AT 6:11 AM

7 Replies

Tiny
JACOBANDNICKOLAS
  • MECHANIC
  • 110,192 POSTS
Hi,

A slight clunk could be several different things. For example, play in a CV joint, a motor mount. and so on.

A CV joint, which is part of the drive axle, can get play in them. Usually, they make a clicking sound when making a sharp turn when they are bad or going bad.

Here is a link you may find of interest:

https://www.2carpros.com/articles/how-a-cv-joint-works

Now, there could be an issue with an engine or transmission mount. If you are stopped and not moving, does it do it or is more likely to happen when you accelerate?

As far as the transmission fluid, see the attached pic.

Let me know as much as you can about the noise. Also, if it is loud enough to record with your phone, do that and upload it for me to hear.

Take care and let me know if I can help.

Joe
Was this
answer
helpful?
Yes
No
Sunday, December 13th, 2020 AT 9:03 PM
Tiny
JACKNUT
  • MEMBER
  • 65 POSTS
It's like it's not in gear then is. Also, did it today like it slipped in gear while already moving.
Was this
answer
helpful?
Yes
No
+1
Monday, December 14th, 2020 AT 3:09 AM
Tiny
JACKNUT
  • MEMBER
  • 65 POSTS
Sometimes feels like it's in 2 gears then jumps out of one.
Was this
answer
helpful?
Yes
No
Monday, December 14th, 2020 AT 12:18 PM
Tiny
JACKNUT
  • MEMBER
  • 65 POSTS
Dextron 3? I've been told Dextron 6. And that 6 replaces 3.
Was this
answer
helpful?
Yes
No
Monday, December 14th, 2020 AT 12:20 PM
Tiny
JACOBANDNICKOLAS
  • MECHANIC
  • 110,192 POSTS
Hi,

The Dexron 3 was what was original in this vehicle. Dex 6 is what has replaced all the others. Thus, that is fine to use.

Based on your description, it sounds like a line pressure issue. Has the transmission ever been serviced (pan, gasket, new fluid)? I realize you plan on filter replacement, but am wondering if this is the first time.

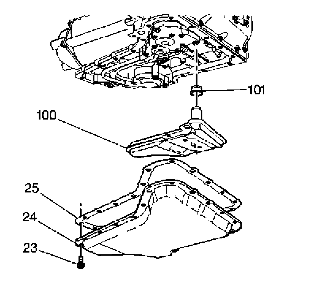
Here are directions for servicing it. The attached pics correlate with the directions.

_________________________

2005 Buick LaCrosse V6-3.8L VIN 2
Oil Filter and Seal Replacement
Vehicle Transmission and Drivetrain Automatic Transmission/Transaxle Service and Repair Removal and Replacement 4T60-E/4T65-E Automatic Transaxle On-Vehicle Service Oil Filter and Seal Replacement
OIL FILTER AND SEAL REPLACEMENT
Oil Filter and Seal Replacement

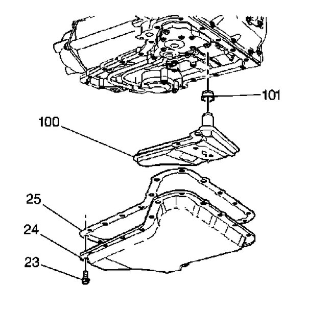
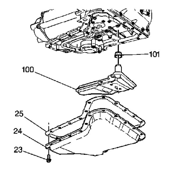
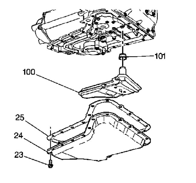
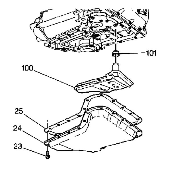
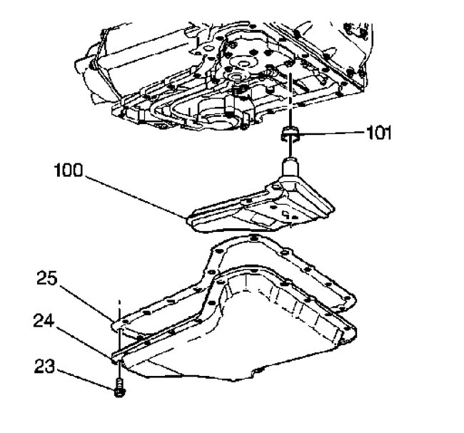
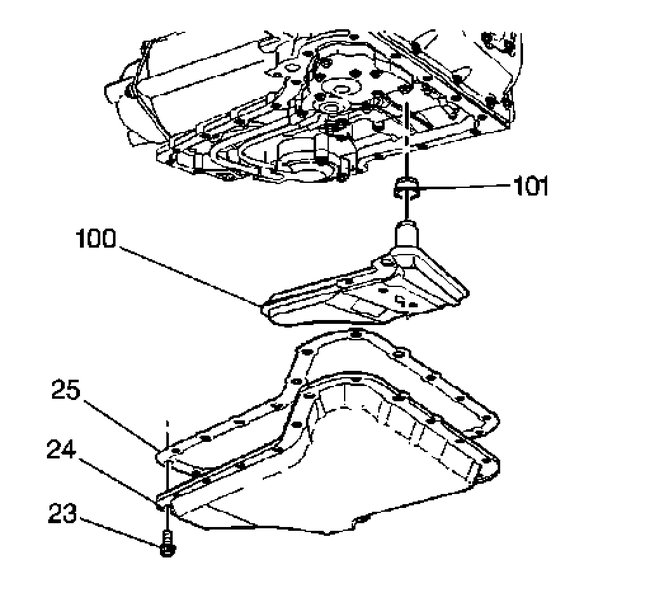
Removal Procedure

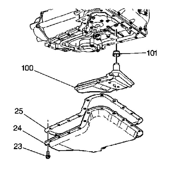
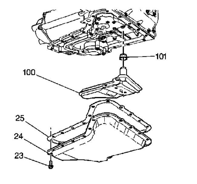
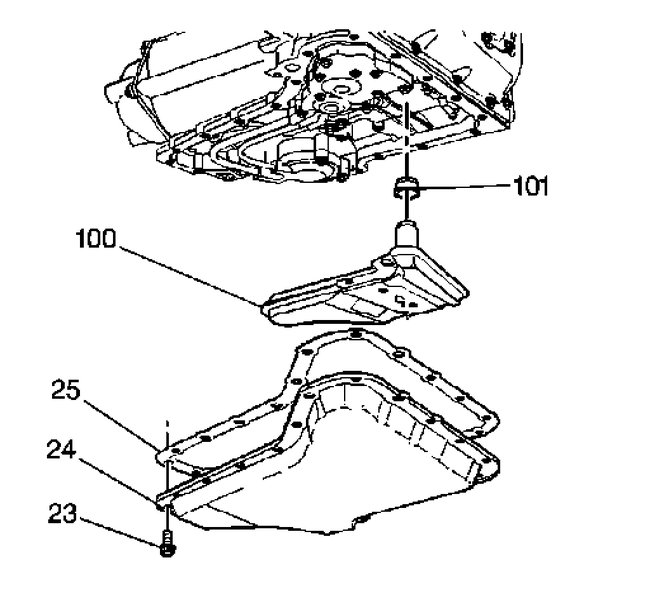
pic 2

1. Remove the oil pan (24) and the gasket (25).
2. Remove the filter (100). Remove the lip ring seal (101) pressed into the case only if replacement is necessary.
3. Inspect the oil pan and the filter for this foreign material:
metal particles
clutch facing material
rubber particles
engine coolant

4. Determine the source of the contamination if foreign material is evident.
5. Correct the source of the contamination.

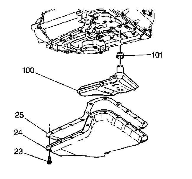
Installation Procedure

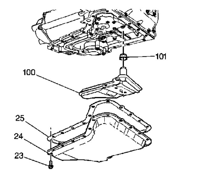
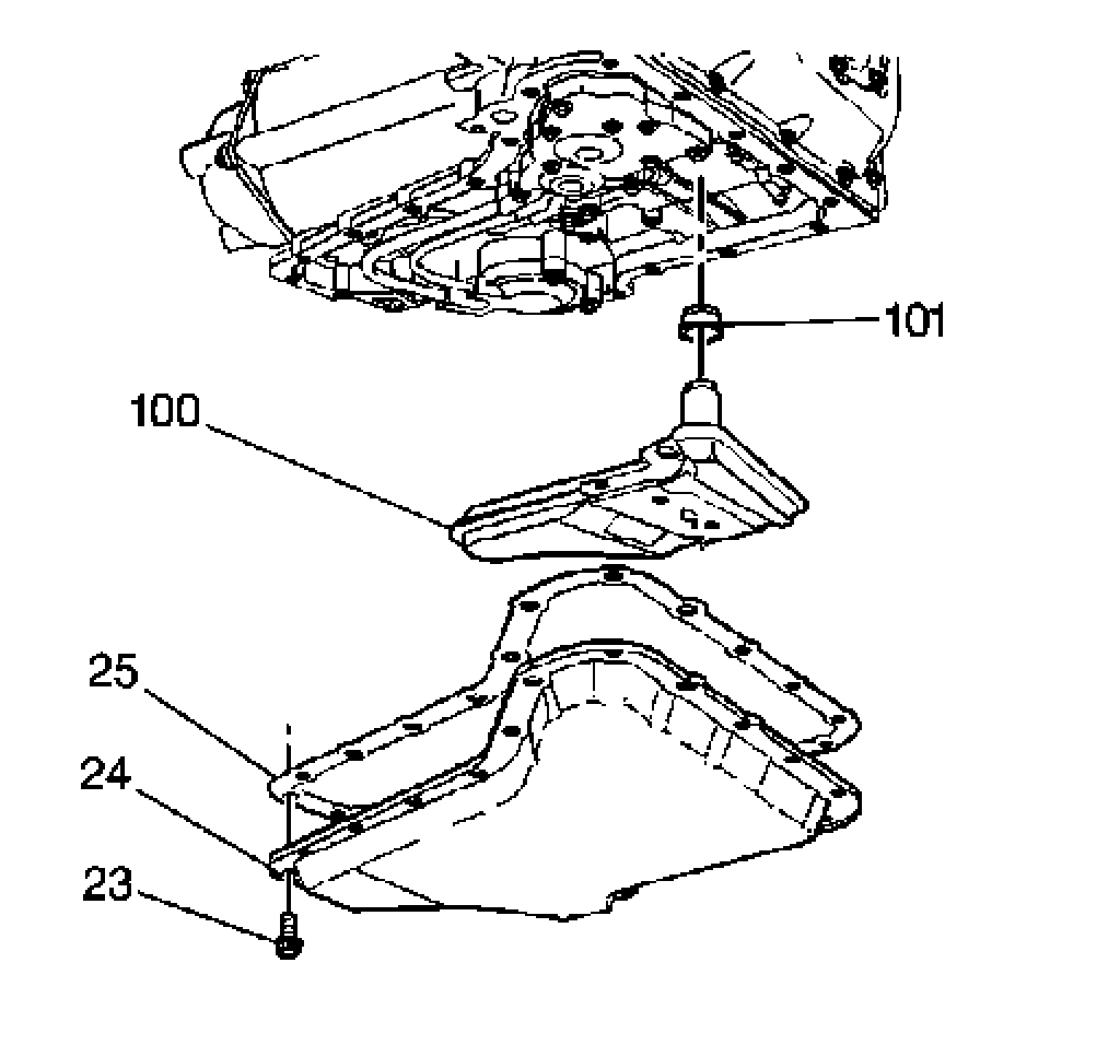
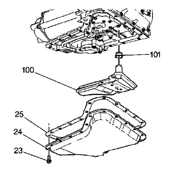
pic 3

1. If removed, install a new seal (101).

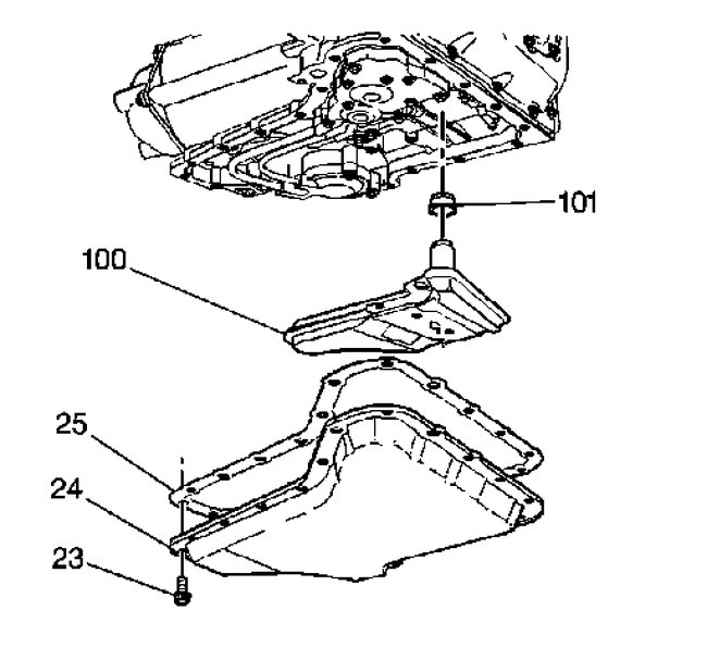
Pic 4

2. Install the filter (100).
3. Install the gasket (25) and the oil pan (24).

___________________________________
Do me a favor, I have seen the filters on these vehicles get dirty enough to prevent the flow of fluid. You said the fluid is clean. Is it full and does it have a burnt odor to it?

There is also a transmission pressure switch in the trans. It may be going bad. However, that should set a diagnostic trouble code. I attached a pic below showing it's location. See pic 1.

Let me know.

Joe
Was this
answer
helpful?
Yes
No
Monday, December 14th, 2020 AT 4:14 PM
Tiny
JACKNUT
  • MEMBER
  • 65 POSTS
Yes, it has been changed at least 3 times that I know of last time about 3 years ago. No it doesn't smell burnt.
Was this
answer
helpful?
Yes
No
Tuesday, December 15th, 2020 AT 1:41 AM
Tiny
JACOBANDNICKOLAS
  • MECHANIC
  • 110,192 POSTS
Then we need to start checking other things. Here is a link that shows how to check different suspension and steering components that can cause a clunk or popping noises. Take a look through it and see if anything helps.

https://www.2carpros.com/articles/popping-noise

Take care,
Joe
Was this
answer
helpful?
Yes
No
Tuesday, December 15th, 2020 AT 5:23 PM

Please login or register to post a reply.