Thursday, November 22nd, 2018 AT 2:10 AM
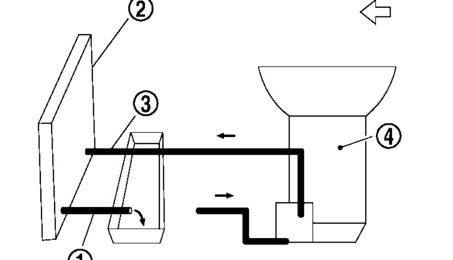
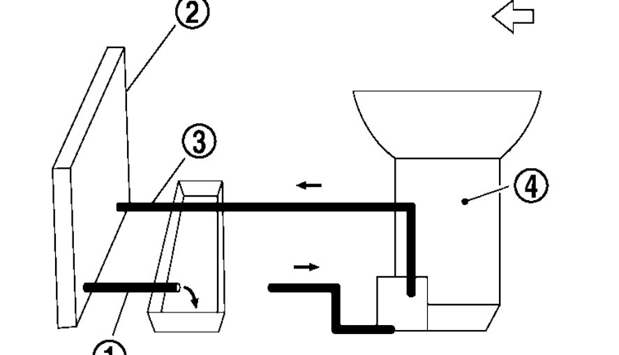
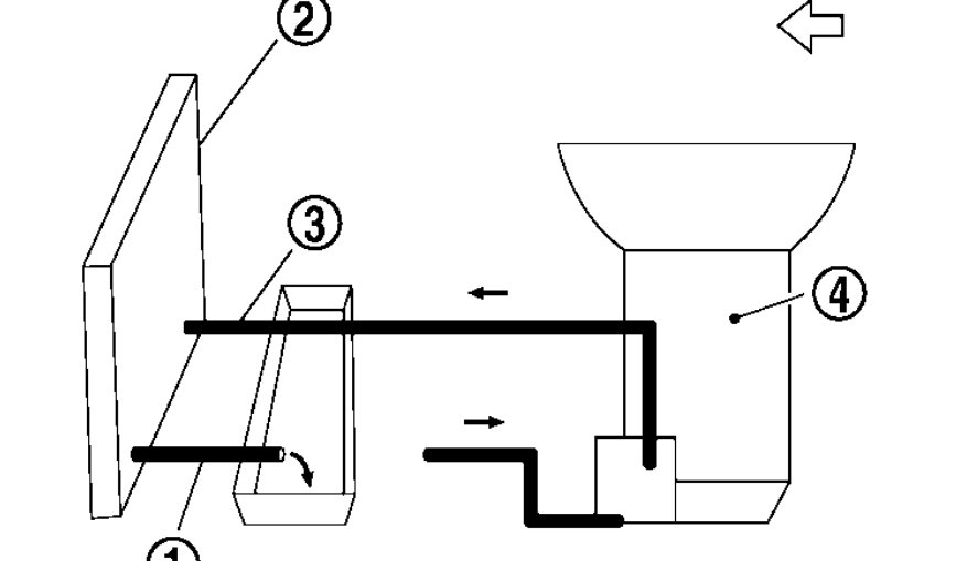
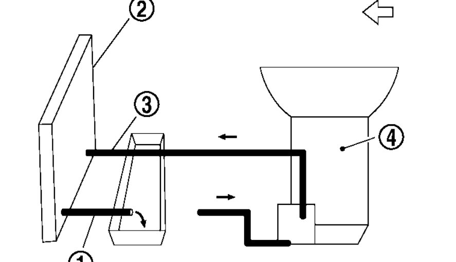
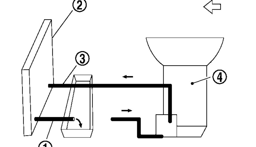
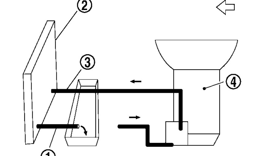
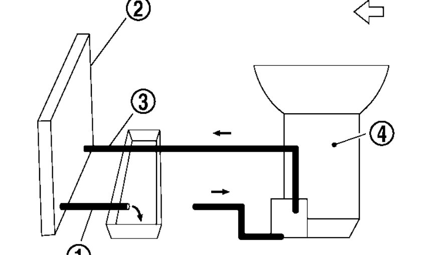
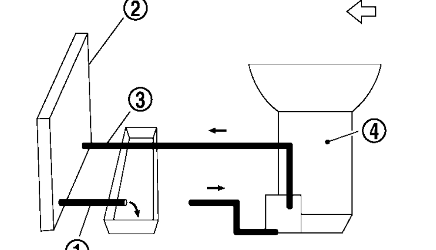
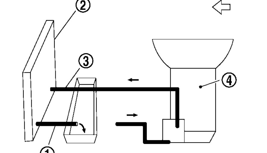
All the transmission fluid came out on the ground because the line came off. I put the line back on. Is there a certain way I put the fluid back in? Urgent


