Key Ignition

Tiny
LESAASEL
  • MEMBER
  • 1996 TOYOTA AVALON
4 cyl Front Wheel Drive Automatic

Key gets stuck in ignition and won't turn at all. Problem has been getting worse. When putting key in, it feels real loose in there. Do I need to replace the ignition? If so. Please send any tips or tricks on doing this project. Thankyou for your time, Lesa
Monday, April 19th, 2010 AT 10:21 AM

1 Reply

Tiny
KHLOW2008
  • MECHANIC
  • 41,814 POSTS
Hi Lesa,

Symptoms do indicate a faulty ignition key cylinder.

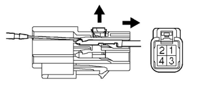
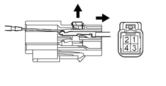
Here are procedures for removing the ignitionlock assy. If equipped with SRS, extra care must be taken while removing ang installing to avoid damage to the SRS cable reel.

IGNITION SWITCH & LOCK CYLINDER
Removal
1. Remove steering wheel and combination switch (if necessary). Disconnect ignition switch harness connectors. If shear bolt studs are accessible, use a hacksaw to cut slots into exposed studs.

2. Remove studs using a screwdriver. If shear bolt studs are recessed or hard to reach with hacksaw, use a center punch on studs. Using a drill bit and screw extractor, remove studs. Place key in ACC position and remove ignition switch and lock cylinder.

Installation

To install, reverse removal procedure. Install NEW shear bolts. Tighten shear bolts finger tight. Ensure proper operation of ignition switch and lock cylinder. Tighten shear bolts until heads break off. Install combination switch, upper and lower steering column covers and steering wheel (if removed). Tighten steering wheel nut and Torx screws to specification.

Check out the diagrams (Below)

Please let us know if you need anything else to get the problem fixed.

Cheers
Was this
answer
helpful?
Yes
No
Tuesday, April 20th, 2010 AT 11:17 AM

Please login or register to post a reply.