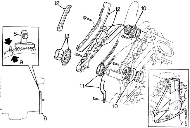
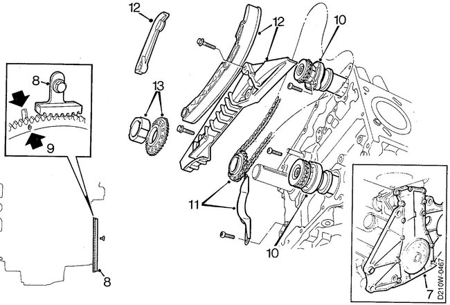
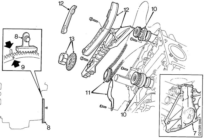
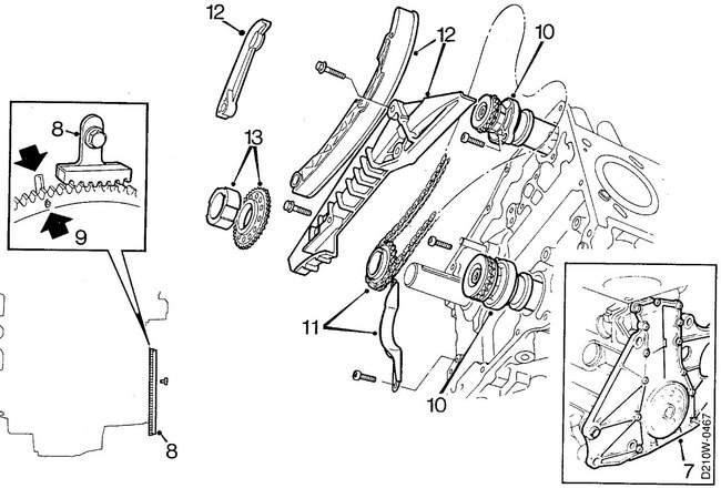
Timing chain removal

Tiny
TOBY2020
  • MEMBER
  • 1997 SAAB 900
  • 2.3L
  • 4 CYL
  • AUTOMATIC
  • 320,356 MILES
Do I have to pull the head off to reset the timing chain?
Monday, October 5th, 2020 AT 6:44 AM

3 Replies

Tiny
STEVE W.
  • MECHANIC
  • 15,676 POSTS
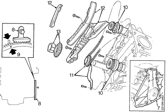
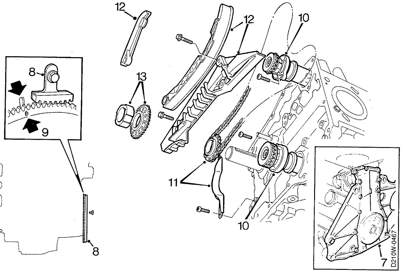
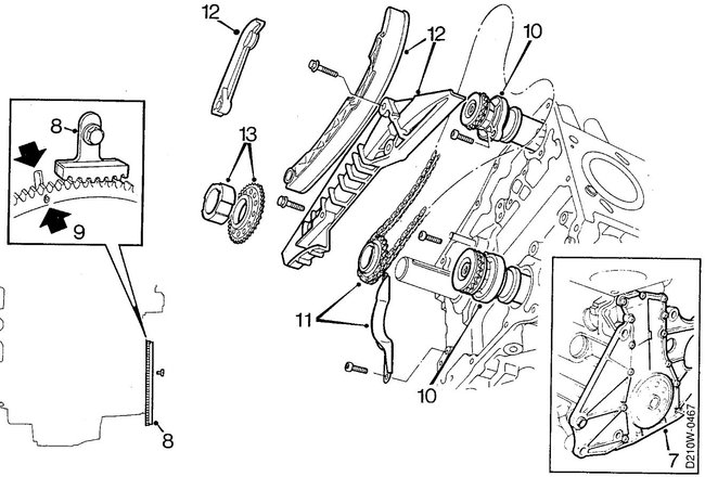
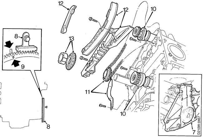
If you are replacing the chain or tensioners you leave the head in place. You need to remove the timing cover from the front of the engine though because the chain has to go through the front section of the head and down to the crankshaft and it is behind the balance shaft chain. That will need to come off as well if you are replacing the timing chain as the fixed tensioner at the top is shared by both chains.
Was this
answer
helpful?
Yes
No
+2
Monday, October 5th, 2020 AT 7:35 AM
Tiny
TOBY2020
  • MEMBER
  • 2 POSTS
Okay, thank you.
Was this
answer
helpful?
Yes
No
Monday, October 5th, 2020 AT 10:17 AM
Tiny
STEVE W.
  • MECHANIC
  • 15,676 POSTS
You're welcome. Might I ask why you are working on the timing chain? If it is because it failed or jumped time you may have more problems than just the chain. That engine tends to bend valves if the chain fails or jumps more than a tooth or so.
Was this
answer
helpful?
Yes
No
+1
Monday, October 5th, 2020 AT 1:29 PM

Please login or register to post a reply.