The ETC light flashing

Tiny
MANUEL CONTRERES
  • MEMBER
  • 2011 RAM 1500
  • 4.7L
  • V8
  • 4WD
  • AUTOMATIC
  • 106,134 MILES
I replaced the ETC and checked all 16 spark plugs. I had to replace 4 spark plugs out of 16. Still having trouble starting truck have to jump start to get engine running. It will run fine but if I park truck and by next day for sure it will not start and the ETC light comes back on. Any suggestions on what's causing this issue?
Friday, November 29th, 2019 AT 7:59 PM

12 Replies

Tiny
JIS001
  • MECHANIC
  • 3,412 POSTS
The electronic throttle control needs at minimum 9 volts to operate. I would recommend you check the battery condition and charging system for proper operation. Here are a few links on how the electrical systems work and how to check the battery and alternator:

https://www.2carpros.com/articles/how-a-car-electrical-system-works

https://www.2carpros.com/articles/car-battery-load-test

https://www.2carpros.com/articles/how-to-check-a-car-alternator

Let us know how the battery and charging system are. And if possible, can you post the trouble codes you are getting as well?
Was this
answer
helpful?
Yes
No
+1
Friday, November 29th, 2019 AT 9:22 PM
Tiny
JACOBANDNICKOLAS
  • MECHANIC
  • 110,192 POSTS
Hi,

My first suspects are either a weak battery or a bad ground. First, have the battery load tested to confirm it is good. Since it does start when you jump start it, that could be the issue. If the battery is good, make sure terminals are clean and tight. Next, try running an additional ground wire from the engine block to the battery negative and see if that helps. If it doesn't, we need to move on.

I have specific tests related to this concern, but I need to know what diagnostic trouble codes are stored. Take a look through this:

2011 Dodge or Ram Truck RAM 1500 Truck 4WD V8-4.7L
ETC Intermittent No Crank Condition
Vehicle Starting and Charging Starting System Testing and Inspection Symptom Related Diagnostic Procedures ETC Intermittent No Crank Condition
ETC INTERMITTENT NO CRANK CONDITION
ETC INTERMITTENT NO CRANK CONDITION

Possible Causes
ETC STARTER INHIBIT
ETC STARTER INHIBIT

NOTE: This ETC equipped engine will try to relearn ETC position when the key is left in the on position for an extended period of time and will not allow the starter to crank during this procedure. This procedure can take up to 2.5 seconds.
To verify the cause of the no crank condition or delayed crank use the scan tool, and read the ETC Starter Inhibit mileage.
The controller will store the mileage at which the no start condition occurred because of the ETC testing procedure.
This is considered normal operation for a vehicle equipped with an Electronic Throttle Control System and no repairs are necessary.

Is a mileage stored under the ETC Starter Inhibit?

Yes
Test Complete.

No
Refer to the appropriate diagnostic procedure for further assistance if any other DTC's are set.
Perform the POWERTRAIN VERIFICATION TEST. (Refer to 28 - DTC-Based Diagnostics/MODULE, Powertrain Control (PCM) - Standard Procedure)

If no notice, if mileage is not stored, it takes me to several diagnostic trouble codes which are specific to this problem. Without knowing if a code is present will require multiple time consuming tests. If you could have it scanned to identify codes, it will really help.

Let me know.

Joe
Was this
answer
helpful?
Yes
No
Friday, November 29th, 2019 AT 9:31 PM
Tiny
MANUEL CONTRERES
  • MEMBER
  • 5 POSTS
Thank you for the information. I'll try them out. But as for the battery it was replaced about a month ago and tested as good battery.
Was this
answer
helpful?
Yes
No
Saturday, November 30th, 2019 AT 10:40 AM
Tiny
JACOBANDNICKOLAS
  • MECHANIC
  • 110,192 POSTS
Then the battery should be good. However, make sure the connections are all good.

Let me know.

Joe
Was this
answer
helpful?
Yes
No
+1
Saturday, November 30th, 2019 AT 9:57 PM
Tiny
MANUEL CONTRERES
  • MEMBER
  • 5 POSTS
Hello Joe, as far as I can tell connections to battery look to be good. I also tested fuses and relays that are in the fuse box located by battery.
Was this
answer
helpful?
Yes
No
Wednesday, January 22nd, 2020 AT 5:08 AM
Tiny
JACOBANDNICKOLAS
  • MECHANIC
  • 110,192 POSTS
Okay. I just read through all the threads we wrote. Have you had the computer scanned to see if there are diagnostic trouble codes? Also, I realize you have to jump start it to make it run. If you don't jump it, does the engine still turn the same speed?

Joe
Was this
answer
helpful?
Yes
No
Thursday, January 23rd, 2020 AT 6:36 PM
Tiny
MANUEL CONTRERES
  • MEMBER
  • 5 POSTS
No codes have came on for pass month or so except today. I try starting truck without jump starting but no luck. Since it's been parked the engine light came on after jump starting. So I drove to local auto parts store to check the engine light and a p0118 code came up, but before today there have not be any codes come on. When it first started having trouble the ETC service light came on had it checked out and was replaced but no codes.

As for engine still turn at same speed without jumping I'm not to sure what you mean. When I don't jump start all it does is crank only.
Was this
answer
helpful?
Yes
No
Thursday, January 23rd, 2020 AT 10:25 PM
Tiny
JACOBANDNICKOLAS
  • MECHANIC
  • 110,192 POSTS
Hi,

The new code indicates an issue with the ECT sensor (engine coolant temperature sensor). Now interestingly, that can cause a no start. The ECT is used by the computer to determine the air/fuel ratio needed for the outside temperatures. What I would suggest is to get your hands on a live data scanner and check what signal the ECT sensor is sending the computer. If it is way off, it may not start.

At this point, I'm not sure how the jump start changes that, but anything is possible. I attached a pic of possible causes. Take a look through it. Also, if you feel confident and can get your hands on a live data scanner, I can get you the diagnostics related to this code. What I can tell you is it seems there is a short to power at the sensor.

Let me know.
Joe
Was this
answer
helpful?
Yes
No
+1
Friday, January 24th, 2020 AT 8:58 PM
Tiny
MANUEL CONTRERES
  • MEMBER
  • 5 POSTS
Hello Joe, finally got the truck to start running for now without having to jump start it every time. The fuel pump relay that is solder on the TIPM was the problem.
Was this
answer
helpful?
Yes
No
+1
Thursday, February 20th, 2020 AT 4:55 PM
Tiny
JACOBANDNICKOLAS
  • MECHANIC
  • 110,192 POSTS
Wow. Good job finding that. I have to be honest, the TIPM is a real nightmare. The pins in the connectors are weak and they fail so often. To make it worse, darn near any component on the vehicle can fail as a result.

Regardless, I'm glad you got it running. If you continue to have issues, you can purchase re-manufactured ones online that I have had luck with. However, they aren't cheap.

Let me know if you need anything else or just have questions.

Take care,
Joe
Was this
answer
helpful?
Yes
No
+1
Thursday, February 20th, 2020 AT 6:50 PM
Tiny
JACOBANDNICKOLAS
  • MECHANIC
  • 110,192 POSTS
Hi,

If you look at the first picture below, it shows the timing marks. If you are replacing the belt, here are the directions for removal and replacement. All pics correlate with the directions.

___________________________
1992 Toyota Corolla Sedan L4-96.8 1587cc 1.6L DOHC (4A-FE)
Timing Belt Removal
Vehicle Engine, Cooling and Exhaust Engine Timing Components Timing Belt Service and Repair Procedures Timing Belt Replace Timing Belt Removal
TIMING BELT REMOVAL

pic 2

REMOVAL OF TIMING BELT

1. Remove RH front wheel.
2. Remove RH engine under cover.
3. Remove washer tank.
4. Loosen water pump pulley bolts and remove alternator drive belt.

Pic 3

(a)Stretch the belt tight and loosen the water pump pulley bolts.

Pic 4

(b)Loosen the pivot nut and adjusting bolt, and remove drive belt.

Pic 5

5. On vehicles with A/C, remove A/C compressor drive belt.
(a)Loosen the idler pulley mounting bolt A.
(b)Loosen the adjusting bolt B and remove the drive belt

pic 6

6. On vehicles with PS, remove PS pump drive belt.
(a)Loosen the pivot and lock bolts.
(b)Swing PS pump toward the engine and remove the drive belt.

Pic 7

7. Disconnect engine wire from No.3 timing belt cover.
(a)Disconnect the following connectors and wire:
- Alternator connector
- Alternator wire Oil pressure switch connector
- (with A/C) Compressor connector
(b)Remove the bolt.
(c)Disconnect the wire clamp from the wire bracket, and disconnect the engine wire from the timing belt cover.

Pic 8

8. Remove spark plug.
(a)Disconnect the high-tension cord from spark plug.
(b)Using a plug wrench (16 mm), remove the spark plugs.

Pic 9

9. Remove cylinder head cover.
(a)Disconnect the PCV hoses from the cylinder head cover.
(b)Remove the three cap nuts, grommet and cylinder head cover with the gasket.

Pic 10

10. Set No.1 cylinder at TDC/Compression.
(a)Turn the crankshaft pulley and align its groove with the No.1 timing belt cover.
(b)Check that the valve lifters on the No.1 cylinder are loose If not, turn the crankshaft pulley one complete revolution (360°).

11. Remove RH engine mounting insulator.

Pic 11

(a)Set the jack to the engine.

HINT: Place a wooden block between the jack and engine.

Pic 12

(b)Remove the three bolts and mounting stay.

Pic 13

(c)Remove the bolt, two nuts, through bolt and RH mounting.

12. Remove water pump pulley.
13. Remove crankshaft pulley.

Pic 14

(a)Using SST 09213-14010 and 09330-00021 to hold the crankshaft pulley, remove the pulley bolt.

Pic 15

(b)Using SST 09213-31021, remove the pulley.

Pic 16

14. Remove timing belt covers.
Remove the nine bolts engine wire bracket and timing belt covers.
15. Remove timing belt guide.
16. Remove timing belt and idler pulley.

Pic 17

HINT: If reusing the timing belt, draw a direction arrow on the belt (in direction of engine revolution), and place matchmarks on the pulleys and belt as shown in the Illustration.

Pic 18

(a)Remove the bolt, idler pulley and tension spring.
(b)Remove the timing belt.

17. Remove crankshaft timing pulley.

Pic 19

18. Remove camshaft timing pulley.
Hold the hexagonal head wrench portion of the camshaft with a wrench, and remove the bolt and timing pulley.

NOTICE: Be careful not to damage the cylinder head with the wrench.
_______________________________________________________________________________________

Install

1992 Toyota Corolla Sedan L4-96.8 1587cc 1.6L DOHC (4A-FE)
Timing Belt Installation
Vehicle Engine, Cooling and Exhaust Engine Timing Components Timing Belt Service and Repair Procedures Timing Belt Replace Timing Belt Installation
TIMING BELT INSTALLATION

pic 20

INSTALLATION OF TIMING BELT

1. Install camshaft timing pulley.
(a)Align the camshaft knock pin with the knock pin groove of the pulley, and slide on the pulley.
(b)Temporarily install the timing pulley bolt.

Pic 21

(c)Hold the hexagonal wrench head portion of the camshaft with a wrench, and tighten the timing pulley bolt.

Torque: 59 N.M (600 kgf. Cm, 43 ft. Lbf)

pic 22

(d)Turn the hexagonal wrench head portion of the camshaft, and align the hole of the camshaft timing pulley with the timing mark of the bearing cap.

Pic 23

2. Install crankshaft timing pulley.
(a)Align the pulley set key with the key groove of the pulley.
(b)Slide on the timing pulley, facing the flange side inward.
(c)Using the crankshaft pulley bolt, turn the crankshaft and align the timing marks of the crankshaft timing pulley and oil pump body.

Pic 24

3. Temporarily install idler pulley and tension spring.
(a)Install the idler pulley with the bolt. Do not tighten the bolt yet.
(b)Install the tension spring.
(c)Push the pulley toward the left as far as it will go and tighten the bolt.

4. Install timing belt.

NOTICE: The engine should be cold.

Pic 25

HINT: If reusing the timing belt, align the points marked during removal, and install the belt with the arrow pointing in the direction of engine revolution.

5. Check valve timing and timing belt tension.

Pic 26

(a)Loosen the timing belt idler pulley mounting bolt.

Pic 27

(b)Temporarily install the crank pulley bolt and turn the crankshaft two revolutions from TDC to TDC.

HINT: Always turn the crankshaft clockwise.

Pic 28

(c)Check the valve timing.
Check that each pulley aligns with the marks as shown in the illustration.

Pic 29

(d)Tighten the timing belt idler pulley mounting bolt.

Torque: 37 N.M (375 kgf. Cm 27 ft. Lbf)

(e)Remove the temporarily installed crank pulley bolt.

Pic 30

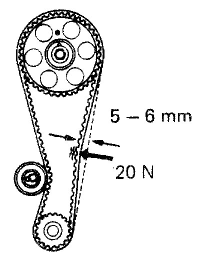
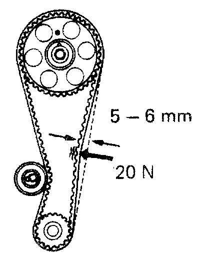
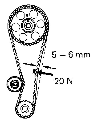
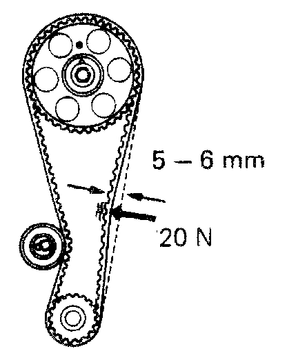
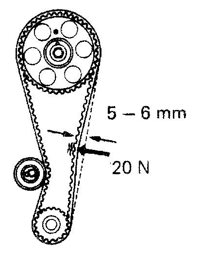
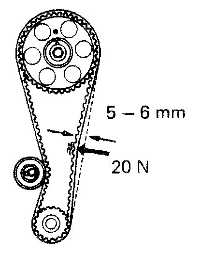
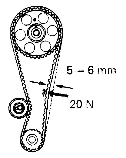
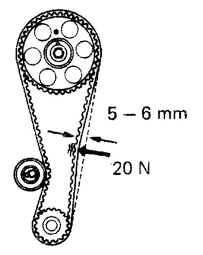
(f)(Reference) Measure the timing belt deflection as shown in the illustration.

Timing belt deflection: 5 - 6 mm (0.20-0.24 in.) At 20 N (2 kgf, 4.4 lbf)

pic 31

(g)If the measured value is not within standard, readjust with the idler pulley.

Pic 32

6. Install timing belt guide.
Install the guide, facing the cup side outward.

Pic 33

7. Install the timing belt covers.
(a)Install the timing belt cover with the three bolts.
(b)Install the No.2, No.3 timing belt covers and engine wire bracket with the six bolts.

Torque: 7.4 N.M (75 kgf. Cm, 65 in. Lbf)

pic 34

8. Install crankshaft pulley.
(a)Align the pulley set key with the key groove of the pulley and slide on the pulley.
(b)Temporarily install the pulley bolt.
(C)Using SST 09213-14010 and 09330-00021, install the pulley bolt.

Torque: 118 N.M (1,200 kgf. Cm, 87 ft. Lbf)

9. Temporarily install water pump pulley.
10. Install RH engine mounting insulator.

Pic 35

(a)Install the RH mounting insulator to the engine mounting bracket with the two nuts and bolt. Align the RH mounting insulator with the body bracket and install the mounting through bolt and nut.

Torque:
Bolt 64 N.M (650 kgf. Cm, 47 ft. Lbf)
Nut 52 N.M (530 kgf. Cm, 38 ft. Lbf)
Through bolt 87 N.M (890 kgf. Cm, 69 ft. Lbf)

pic 36

(b)Install the RH mounting stay with the three bolts, remove the jack.

Torque: 42 N.M (430 kgf. Cm 31 ft. Lbf)

11. Install cylinder head cover.

Pic 37

(a)Apply seal packing as shown in the illustration.

Seal packing: Part No. 08826-00080 or equivalent

HINT: Clean the indicated portions by removing the original sealant before recoating.

Pic 38

(b)Install the cylinder head cover with the three grommets and bolts.
(c)Install the PCV hoses.

Pic 39

12. Install spark plugs.
(a)Using a plug wrench (16 mm) install the spark plugs.

Torque: 18 N.M (180 kgf. Cm, 13 ft. Lbf)

(b)Connect the high tension cords to spark plugs.

Pic 40

13. Connect engine wire to No.3 timing belt cover.
(a)Connect the engine wire to the timing belt cover, and connect the wire clamp to the wire bracket.
(b)Install the bolt.
(c)Connect the following connectors and wire:
- Alternator connector Alternator wire
- Oil pressure switch connector
- (with A/C) Compressor connector

14. On vehicles with PS, install PS pump drive belt.
15. On vehicles with A/C, Install A/C compressor drive belt.
16. Install alternator drive belt.
17. Adjust drive belts.
Using a belt tension gauge, check and adjust the drive belt tension.

Drive belt tension:
Alternator Belt
New belt 160 ± 20 lbf
Used belt 130 ± 20 lbf

PS Belt
New belt 100 ± 25 lbf
Used belt 55 ± 20 lbf

A/C Belt
New belt 160 ± 20 lbf
Used belt 100 ± 20 lbf

18. Tighten water pump pulley bolts.
19. Install washer tank.
20. Install RH engine under cover.
21. Install RH front wheel.

_____________________________________________

I hope this helps. Let me know if you have questions or need help. Also, if you have a chance, let me know how things turn out for you.

Take care,
Joe
Was this
answer
helpful?
Yes
No
Thursday, February 20th, 2020 AT 7:09 PM
Tiny
JACOBANDNICKOLAS
  • MECHANIC
  • 110,192 POSTS
I am so sorry. By accident, I sent the above info for timing belt to you. I don't think it is relevant for your vehicle. LOL

Take care and sorry.

Joe
Was this
answer
helpful?
Yes
No
Thursday, February 20th, 2020 AT 7:13 PM

Please login or register to post a reply.