Strange noise behind the dash?

Tiny
05GOODVIBESONLY
  • MEMBER
  • 2005 PONTIAC VIBE
  • 1.8L
  • 4 CYL
  • 2WD
  • AUTOMATIC
  • 297,500 MILES
I've never heard this noise from a car ever, but it's been constant the last several weeks. The car can be on, driving or idling, or off with the key turned into the on position before starting, so it's something electric, I'm guessing.
The A/C isn't on. Neither is the air recycling.
Very curious as to what it could be.
Thursday, May 22nd, 2025 AT 5:43 PM

1 Reply

Tiny
STEVE W.
  • MECHANIC
  • 15,691 POSTS
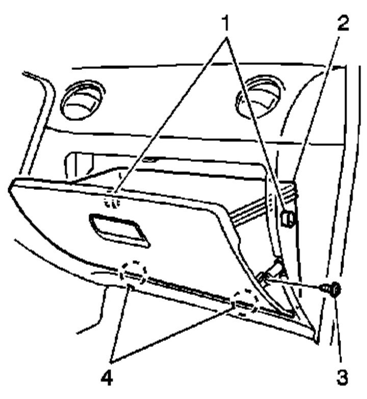
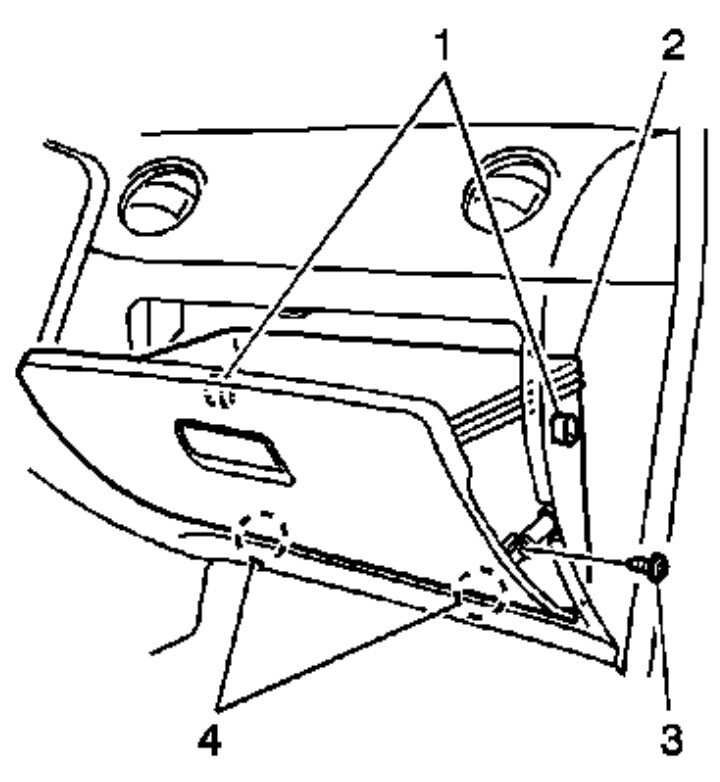
Sounds like one of the HVAC actuators but hard to say for sure. Try this Start the car let it warm up. Shut off the engine and turn the key on, now turn the blower on and try each of the heater controls. Does the sound change or stop when you select one of the functions? How about if you select recirculate does the sound change? I believe that only the recirculate function has an actuator like that, open the glove box and see if it's louder there. If yes you can drop the glove box out by removing the screws and then pressing the release tabs and dropping it out. Then reach in and unplug the actuator. Does the noise stop? If yes replace the actuator.
Was this
answer
helpful?
Yes
No
Thursday, May 22nd, 2025 AT 11:19 PM

Please login or register to post a reply.