Codes C0290, C0205, C0298 and C0292, steering not working properly?

Tiny
BT161
  • MEMBER
  • 2002 CADILLAC ESCALADE
  • 6.0L
  • V8
  • 4WD
  • AUTOMATIC
  • 86,000 MILES
The steering wheel will stop taking drivers input and turn every which way by itself. While driving (at both highway and slower speeds) the steering wheel will start turning both left and right by itself, and no matter which way it turns you cannot steer the vehicle at all.
Checked codes and it gave the following C0290, C 0205, C0298, C0292, it's so dangerous we can't drive car at all.
Wednesday, May 3rd, 2023 AT 11:17 PM

1 Reply

Tiny
STEVE W.
  • MECHANIC
  • 15,707 POSTS
Hmm, the codes you have are all ABS system related which suggests that the ABS may be the issue. The stability control system on that vehicle can apply the brakes on either front wheel and both rear wheels to control it in the event of something like a swerve or avoidance move that might be enough to roll the vehicle, it will apply the brake to try to turn out of that event. Your description sounds like that system is being activated for some reason.

C0290 and C0292 are essentially the same code that means the brake control module isn't sending and receiving a status signal from the Powertrain Control Module. To test that you need a CAN capable scan tool that can read the signals as well as an oscilloscope to verify that the signal is there on the network.
C0298 is a similar code, it is a signal that the PCM has told the Electronic Brake Control Module that it is no longer able to control the stability control system.

The C0205 is a code indicating one of the steering wheel position signals is out of range for more than one half second. These sensors are what tells the EBCM if you are turning the wheel and how fast.
To test the sensors, you would use the scan tool to watch the live data from the 4 sensors while turning the steering wheel lock to lock and see if one or more is bad. It will also be used to read the information from the yaw sensor to see if perhaps it has a problem and is telling the system that you are swerving, and it should take control.
The yaw sensor is under the passenger side seat so it can get moisture in it causing corrosion. To get to it you remove the passenger seat then pull the carpet back and remove the three nuts, the electrical connector and the sensor. What you might try would be to try to pull the carpet back under the seat and disconnect the sensor. Then see if the truck still does the same thing (test in a safe area)? If it doesn't you could replace the module and see if it still operates properly.
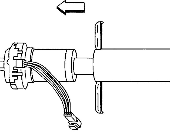
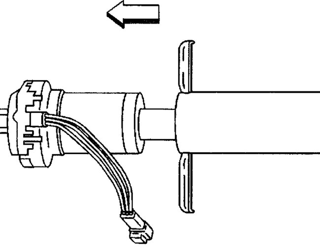
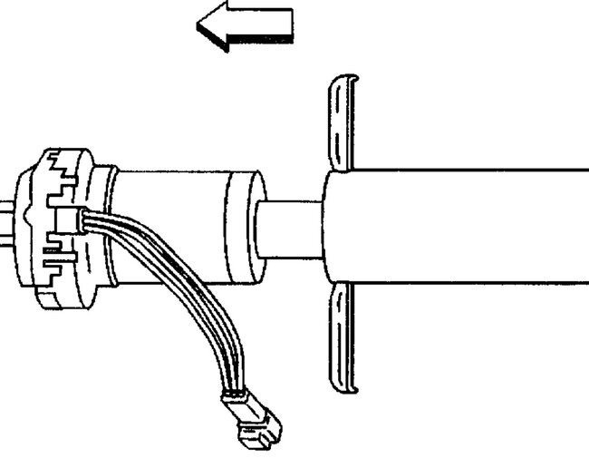
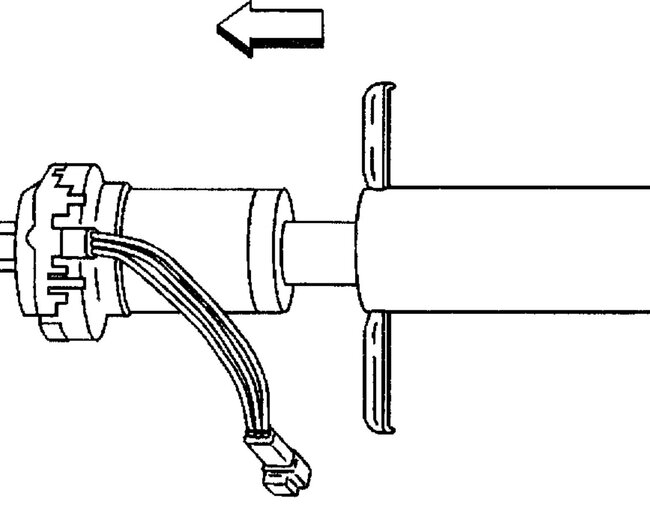
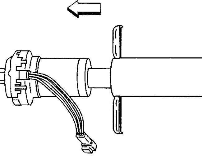
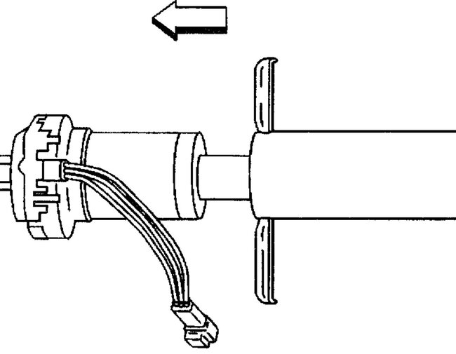
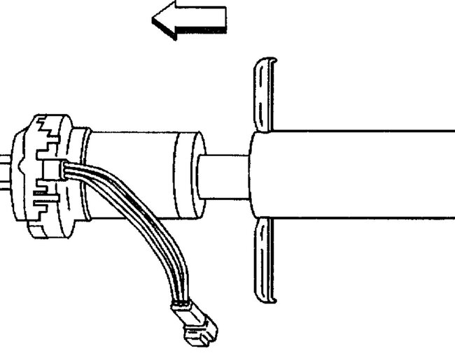
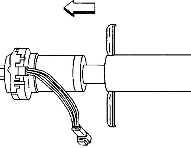
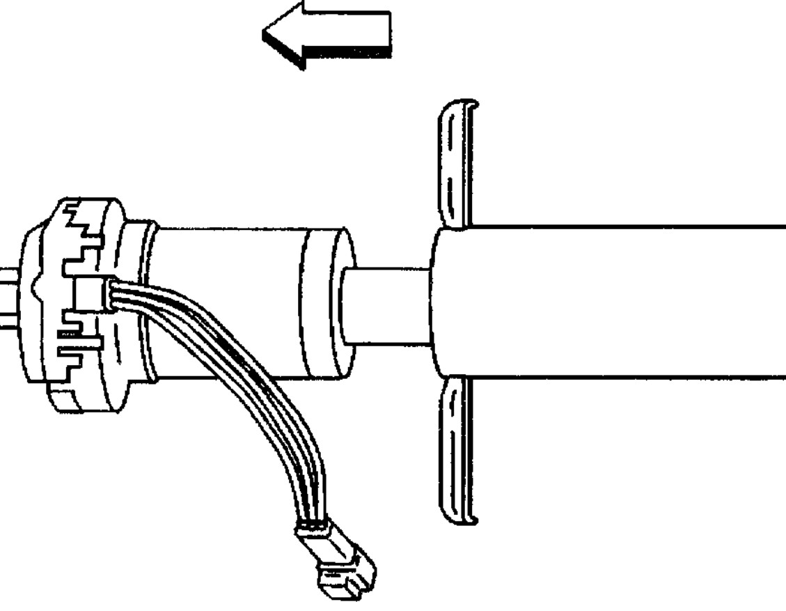
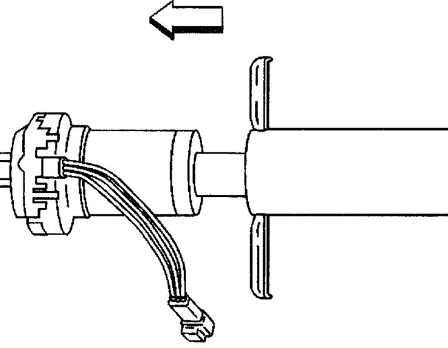
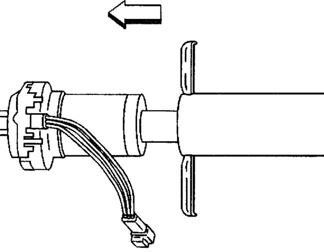
For the steering angle sensor, you lock the steering wheel straight ahead, then go under the dash and remove the bolt that secures the upper column to the intermediate shaft. Then you slip the shaft down. Next use a hook to pull the sensor wiring down enough to get to the connector and unplug it. Then you pull the sensor and bearing down off the shaft. Now you unclip the sensor, clip the new one into the bearing and slide it back into place. Put the shaft back into place and re-install the bolt, Torque it to 35 ft lbs. Either module could be a cause of the problem, but so could the PCM itself or the EBCM. That is why you need the dealer level scan tool to watch the data. The steering position sensor (Delco 26084178) is a set and forget part that usually comes with its own instructions.
Was this
answer
helpful?
Yes
No
Thursday, May 4th, 2023 AT 2:44 AM

Please login or register to post a reply.