Starts and shuts off

Tiny
NBACH86
  • MEMBER
  • 2004 FORD ESCAPE
  • 3.0L
  • V6
  • 4WD
  • AUTOMATIC
  • 188,000 MILES
I start it up starts right up but then it shuts off seconds later. Checked fuel pressure seams fine. When running fuel is coming coming out and when it shuts off fuel is still coming out.
Sunday, November 11th, 2018 AT 10:31 PM

13 Replies

Tiny
NBACH86
  • MEMBER
  • 5 POSTS
This is a video I took of it doing it.
Was this
answer
helpful?
Yes
No
Sunday, November 11th, 2018 AT 10:45 PM
Tiny
ASEMASTER6371
  • MECHANIC
  • 52,796 POSTS
Good morning.

There was no upload posted. Can you re send the upload?

Is the anti theft or security light on and will not go off? It sounds like it may be a security lock out.

Do you have a second key to try to see if it is the key?

Roy

https://www.2carpros.com/articles/how-to-reset-a-security-system
Was this
answer
helpful?
Yes
No
Monday, November 12th, 2018 AT 2:06 AM
Tiny
NBACH86
  • MEMBER
  • 5 POSTS
I hope it worked this time. Here is a video of it. Thanks
Was this
answer
helpful?
Yes
No
Monday, November 12th, 2018 AT 5:35 AM
Tiny
ASEMASTER6371
  • MECHANIC
  • 52,796 POSTS
Okay, good.

Was that line open from the pump? It should stall with an open fuel line as the pressure drops.

What did the pressure drop to when it started?

Roy
Was this
answer
helpful?
Yes
No
Monday, November 12th, 2018 AT 6:01 AM
Tiny
NBACH86
  • MEMBER
  • 5 POSTS
The light is not on and no I do not have another key. I am working on it for a friend. If it is the anti theft would it still start then? Like I said it starts up for a couple seconds then shuts off, but there is still fuel coming out when it shuts off.
Was this
answer
helpful?
Yes
No
Monday, November 12th, 2018 AT 7:52 AM
Tiny
ASEMASTER6371
  • MECHANIC
  • 52,796 POSTS
Okay, it is not security from your video.

Did the pressure drop off when it stalls?

Roy
Was this
answer
helpful?
Yes
No
Monday, November 12th, 2018 AT 8:16 AM
Tiny
NBACH86
  • MEMBER
  • 5 POSTS
No it did not in my gauge but for some reason even when you release pressure my gauge still shows pressure.
Could not tell if pressure moved or not. My gauge does not like to move that well, but the friend of mine that owns the car kept saying it is the fuel pump and I tried to say no I do t think it is. Well he insisted that I put a fuel pump in it and it does the same thing as before so not fuel pump issue like I thought.
Was this
answer
helpful?
Yes
No
Monday, November 12th, 2018 AT 11:07 PM
Tiny
ASEMASTER6371
  • MECHANIC
  • 52,796 POSTS
Does it start right back up or do you have to let it sit for a bit before it will run again?

Roy
Was this
answer
helpful?
Yes
No
Tuesday, November 13th, 2018 AT 4:45 AM
Tiny
NBACH86
  • MEMBER
  • 5 POSTS
I did also find out that I guess when he was on his way home is when it died on him driving. He kept putting in neutral firing it up and then putting into drive just to make it home. Had to start multiple times.
Was this
answer
helpful?
Yes
No
Tuesday, November 13th, 2018 AT 5:15 PM
Tiny
NBACH86
  • MEMBER
  • 5 POSTS
Yes it starts right back up. I got told maybe mas sensor?
Was this
answer
helpful?
Yes
No
Tuesday, November 13th, 2018 AT 5:37 PM
Tiny
ASEMASTER6371
  • MECHANIC
  • 52,796 POSTS
Do you have a scan tool?

Is there any codes set? Yes, it could be but needs to be confirmed. A crankshaft position sensor also comes to mind but need to confirm that as well.

Roy

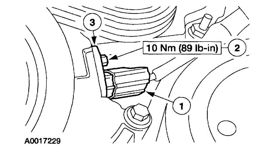
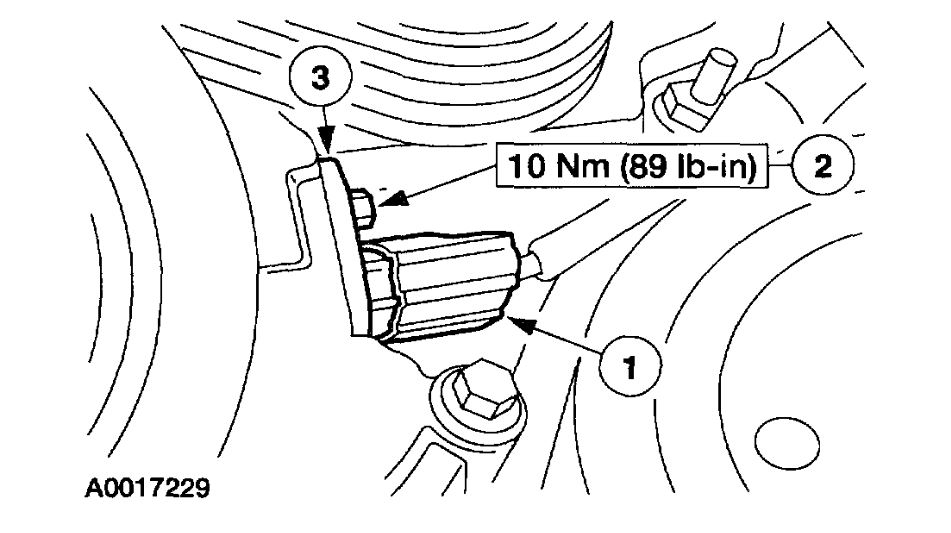
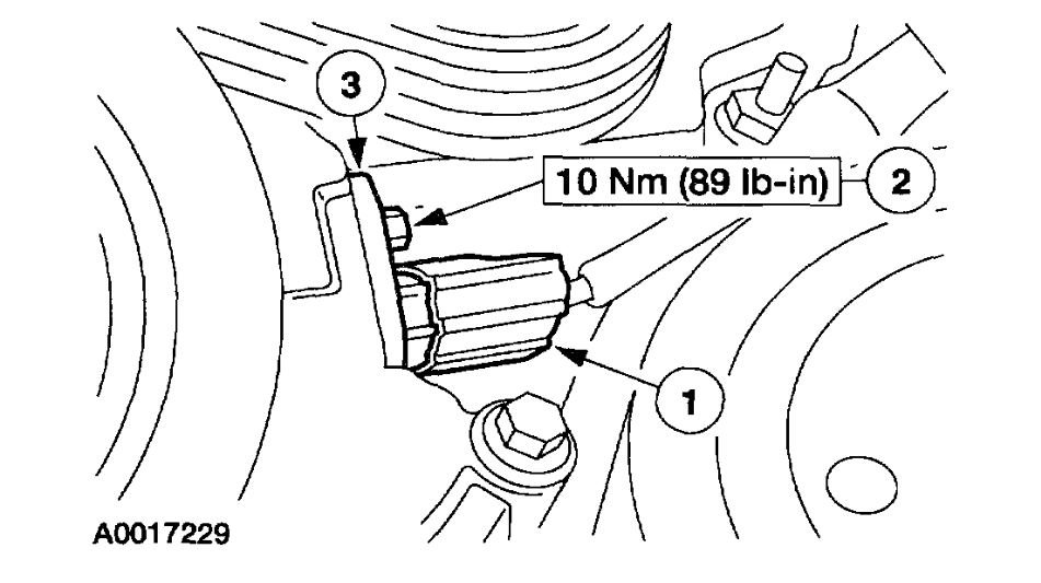
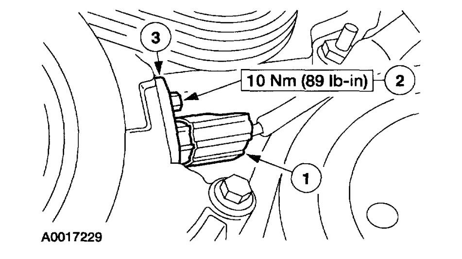
crank sensor

REMOVAL
1. Raise and support the vehicle.

ImageOpen In New TabZoom/Print

2. Remove the bolts and the right front lower splash shield.

ImageOpen In New TabZoom/Print

3. Remove the crankshaft position (CKP) sensor.
1 Disconnect the electrical connector.
2 Remove the bolt.
3 Remove the sensor.

INSTALLATION
1. To install, reverse the removal procedure.

Mass air flow

REMOVAL
1. Remove the air cleaner outlet tube.

ImageOpen In New TabZoom/Print

2. Disconnect the mass air flow (MAF) sensor electrical connector.

ImageOpen In New TabZoom/Print

3. Remove the four nuts and the MAF sensor.

INSTALLATION
1. To install, reverse the removal procedure.
Was this
answer
helpful?
Yes
No
+1
Wednesday, November 14th, 2018 AT 3:26 AM
Tiny
NBACH86
  • MEMBER
  • 5 POSTS
I do have a scan tool but does not show much it is a Harbor Freight one. I was playing with the vehicle last night unhooked the MAS sensor and it stayed running but of course rough. I am thinking replace MAS sensor then?
Was this
answer
helpful?
Yes
No
Wednesday, November 14th, 2018 AT 5:43 AM
Tiny
ASEMASTER6371
  • MECHANIC
  • 52,796 POSTS
No, that is not a test for the mass air flow at all.

This is a partial flow chart for the mass air flow sensor. It is involved.

It is also an expensive guess if you are wrong. I like to diagnose once, repair once.

Roy

C: Mass Air Flow Sensor

DC: Introduction See: Computers and Control Systems > Pinpoint Tests > DC: Mass Air Flow Sensor - Introduction

DC1 DTC P1101: CHECK FOR MAF SENSOR CONTINUOUS MEMORY DTCS

- Retrieve CMDTCs.
Is a continuous memory MAF DTC present with the KOER DTC P1101?
Yes

- GO to DC2
.

No

- Key in OFF position.

- GO to DC4
.

DC2 VERIFY CONTINUOUS MEMORY DTC P0102

Is a continuous memory DTC P0102 present with the KOER DTC P1101?
Yes

- GO to DC4
.

No

- GO to DC3
.

DC3 VERIFY CONTINUOUS MEMORY DTC P0103

Is a continuous memory DTC P0103 present with the KOER DTC P1101?
Yes

- GO to DC19
.

No

- All other continuous memory DTCs:

- DISREGARD the current diagnostic trouble code (DTC) at this time. DIAGNOSE the next DTC. GO to Section 4, Diagnostic Trouble Code (DTC) Charts See: A L L Diagnostic Trouble Codes ( DTC ) > Diagnostic Trouble Code Descriptions > Diagnostic Trouble Code (DTC) Charts.

DC4 KOER AND CONTINUOUS MEMORY DTCS P0102, P0104 OR P1101: CHECK THE INTAKE AIR SYSTEM FOR LEAKS, OBSTRUCTIONS AND DAMAGE

- CHECK the air inlet system (air cleaner, housing, ductwork) for obstructions or blockage.

- CHECK for broken/loose air outlet tube clamps (throttle body and air cleaner assembly ends), cracks/holes in the air outlet tube, and worn gaskets between the MAF sensor and the air cleaner assembly. Verify the MAF sensor is connected. Repair as necessary.
Were there any concerns found during the visual inspection?
Yes

- Key in OFF position.

- Repair as necessary.

No

- GO to DC5
.

DC5 CHECK THE MAF PID

- Run the engine up to 1,500 RPM for 5 seconds, then bring it back to idle.

- Access the PCM and monitor the MAF V PID.
Is the voltage less than 0.23 V?
Yes

- Key in OFF position.

- GO to DC8
.

No

- Key in OFF position.

- GO to DC6
.

DC6 CHECK THE MAF SIGNAL SENT TO THE PCM

Note:DTC P1101 can be generated by a low charged vehicle battery or the garage exhaust ventilation system. Repair battery as necessary, then remove the ventilation system and properly vent to outside atmosphere. Check the air inlet system (air cleaner, housing, ductwork) for obstructions or blockage. Rerun the KOEO self-test.

- MAF/IAT Sensor connector connected.

- Key ON, engine OFF.

- Access the PCM and monitor the MAF V PID.
Is the voltage less than 0.2 V?
Yes

- GO to DC7
.

No

- Key in OFF position.

- GO to DC8
.

DC7 CHECK THE MAF SIGNAL SENT TO THE PCM

- Key ON, engine running.

- Access the PCM and monitor the MAF V PID.
Is the voltage between 0.46 - 2.44 V?
Yes

- Unable to identify the concern at this time.

- GO to Z1 See: Computers and Control Systems > Diagnostic Trouble Code Tests and Associated Procedures > Z: Intermittent - Pinpoint Test
.

No

- Key in OFF position.

- GO to DC8
.

DC8 CHECK THE VPWR TO THE MAF SENSOR

- MAF/IAT Sensor connector disconnected.

- Key ON, engine OFF.

- Measure the voltage between:

image

Is the voltage greater than 10.5 V?
Yes

- GO to DC9
.

No

- Key in OFF position. REPAIR the open circuit.

DC9 CHECK THE PWRGND CIRCUIT TO MAF SENSOR

- Measure the voltage between:

image

Is the voltage greater than 10.5 V?
Yes

- Key in OFF position.

- GO to DC10
.

No

- Key in OFF position. REPAIR the open circuit.

DC10 CHECK FOR SHORTS BETWEEN CIRCUITS IN THE MAF HARNESS

Note:For vehicles with a stand alone MAF sensor (IAT not internal to MAF), disregard MAF circuit checks to IAT and SIGRTN.

- MAF/IAT Sensor connector disconnected.

- PCM connector disconnected.

- Measure the resistance between:

image

Are the resistances greater than 10K ohms?
Yes

- GO to DC11
.

No

- REPAIR the short circuit.

DC11 CHECK THE MAF RTN CIRCUIT FOR A SHORT TO PWRGND IN THE HARNESS

- Measure the resistance between:

image

Is the resistance greater than 10K ohms?
Yes

- GO to DC13
.

No

- REPAIR the short circuit to GND.

DC12 CHECK THE MAF CIRCUIT FOR A SHORT TO PWRGND IN THE PCM

- PCM connector connected.

- Measure the resistance between:
Was this
answer
helpful?
Yes
No
Wednesday, November 14th, 2018 AT 5:57 AM

Please login or register to post a reply.