Monday, April 20th, 2026 AT 12:43 PM
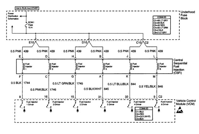
I have a spiders injectors that were taken out of my Jimmy I want to test them to see if they're good. I only have the injectors, no wires or any plugs that go into them. I wantbto test them with a 12v battery and I need to know, out of the 12 pins, which ones are positive and which ones are the ground. All 12 pins are silver.


