Shuts off while driving

Tiny
03CHEVYS10
  • MEMBER
  • 2003 CHEVROLET S-10
  • 4.3L
  • 6 CYL
  • 2WD
  • AUTOMATIC
  • 190,000 MILES
Engine shuts down while driving in afternoon. No warnings, no check engine light. Pull over and restart truck and go. Last time it did this it took 3 tries turn over.
Sunday, December 15th, 2019 AT 10:05 AM

1 Reply

Tiny
ASEMASTER6371
  • MECHANIC
  • 52,796 POSTS
Good afternoon,

This could be tough to track down. There are several possibilities. I doubt it is fuel related as it starts right back up.

https://www.2carpros.com/articles/engine-stalls

It could be an ignition switch which was really common.

Roy

Ignition Switch Replacement

Tools Required
- J42759 Ignition Switch Connector Release Tool

Removal Procedure

Caution: Refer to SIR Caution in Service Precautions.

1. Disable the SIR system.
2. Remove the upper and lower trim covers.

imageOpen In New TabZoom/Print

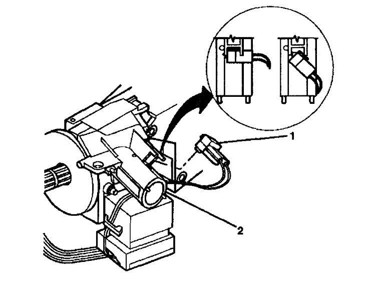
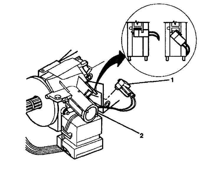
Important: The abrasion sleeve located on the steering column wire harness assembly must be reinstalled. Make note of what connector is coming out of the abrasion sleeve for installation purposes.

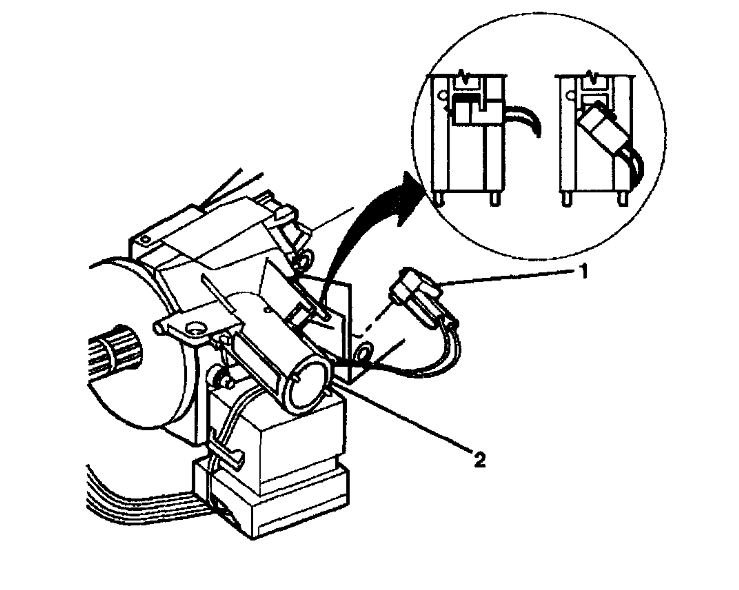
3. Remove the wire harness strap (2) from the steering column and the wire harness assembly (1).

imageOpen In New TabZoom/Print

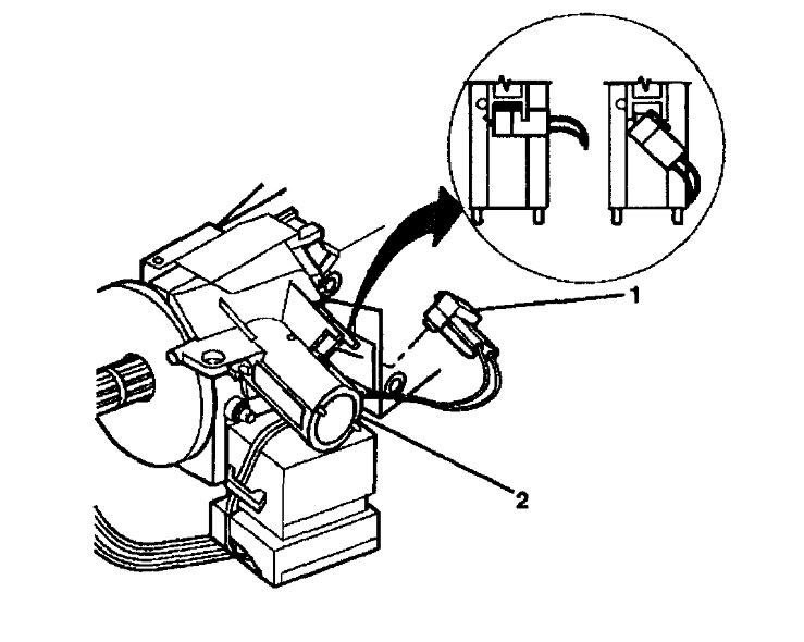
4. Slide the 2 connectors (2) of the turn signal and multifunction switch assembly out of the bulkhead connector (1).

imageOpen In New TabZoom/Print

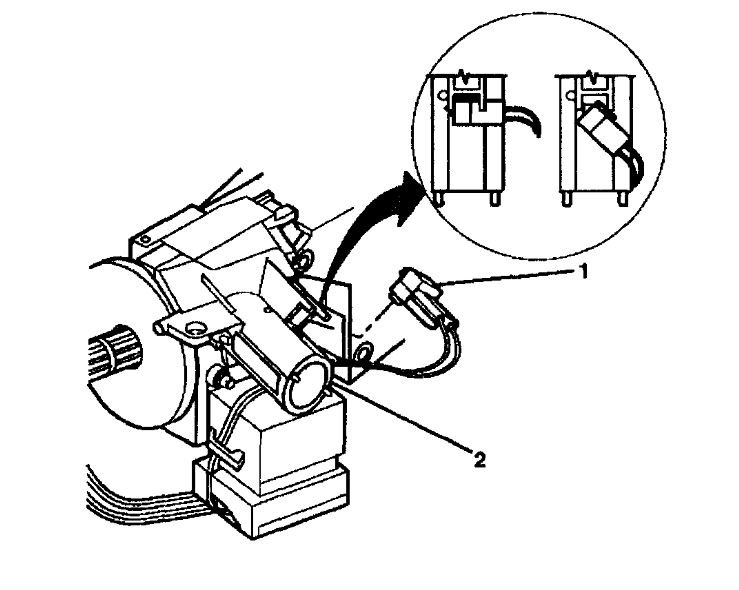
5. Rotate the key alarm connector (1) 90 degrees.
6. Pull the key alarm connector (1) out of the ignition lock cylinder case (2).
7. Remove the passkey connector from the ignition lock cylinder case (2).

imageOpen In New TabZoom/Print

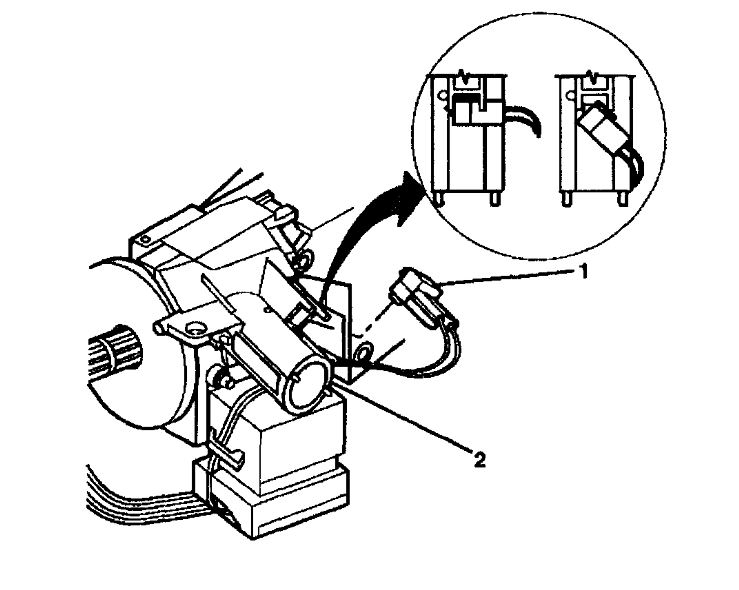
8. Insert J42759 into the ignition lock cylinder case (1) and slide the ignition switch (2) out.

Was this
answer
helpful?
Yes
No
Sunday, December 15th, 2019 AT 12:52 PM

Please login or register to post a reply.