Charger ports stopped working?

Tiny
DEBORAH0127
  • MEMBER
  • 2009 SATURN AURA
  • 6 CYL
  • 2WD
  • AUTOMATIC
  • 60,000 MILES
My charger ports stopped working I have check all the fuels what is going on?
Thursday, July 29th, 2010 AT 8:11 PM

1 Reply

Tiny
SQM
  • MECHANIC
  • 6,383 POSTS
Hello,
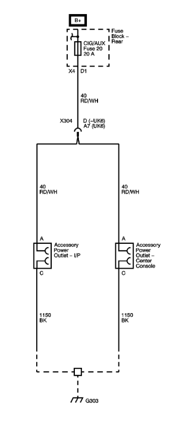
are good, you could either have a short in the wiring harness or the outlet could be faulty. First you need to remove the outlet and see if you are getting power to the connector that is the outlet attached to.
If you are getting power at that plug then the outlet is faulty.
If there is no power at the plug then there is a short in the harness. If that happens you will have to trace the wires and see where is the issue located. It could be as simple as the ground not secured in the circuit.
You will need to use a multimeter to complete that task.

You might find these articles helpful:

https://www.2carpros.com/articles/how-to-check-wiring

https://www.2carpros.com/articles/how-to-use-a-voltmeter

I have attached diagrams for your reference.

Please let me know of any questions.

Thank you.
Was this
answer
helpful?
Yes
No
Tuesday, August 17th, 2021 AT 7:33 AM

Please login or register to post a reply.

Related General Content