Reverse Light switch location?

Tiny
SAI SAI
  • MEMBER
  • 2010 HONDA FIT
  • 2WD
  • AUTOMATIC
  • 24,670 MILES
No reverse light. Fuse codition good.
Saturday, January 3rd, 2026 AT 5:32 AM

2 Replies

Tiny
SAI SAI
  • MEMBER
  • 2 POSTS
May I know where is the reverse light switch?
Was this
answer
helpful?
Yes
No
Saturday, January 3rd, 2026 AT 5:37 AM
Tiny
STEVE W.
  • MECHANIC
  • 15,697 POSTS
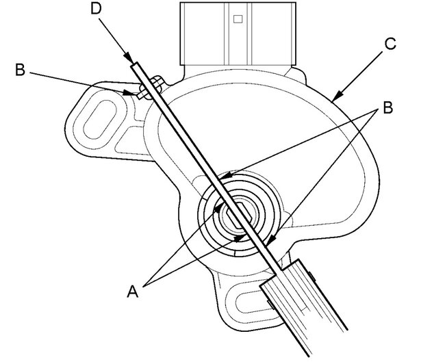
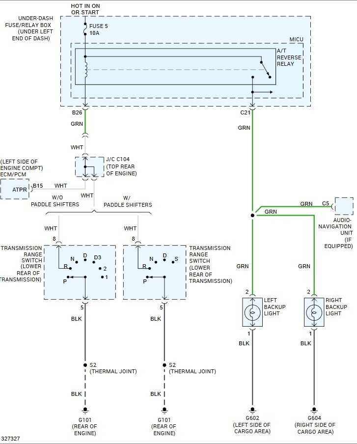
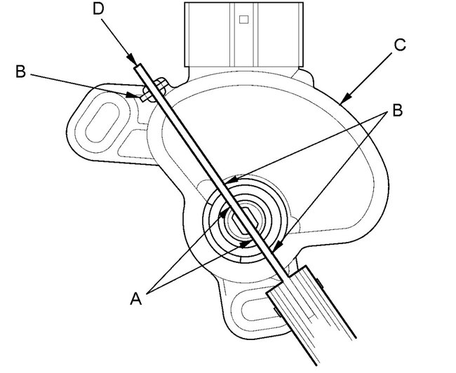
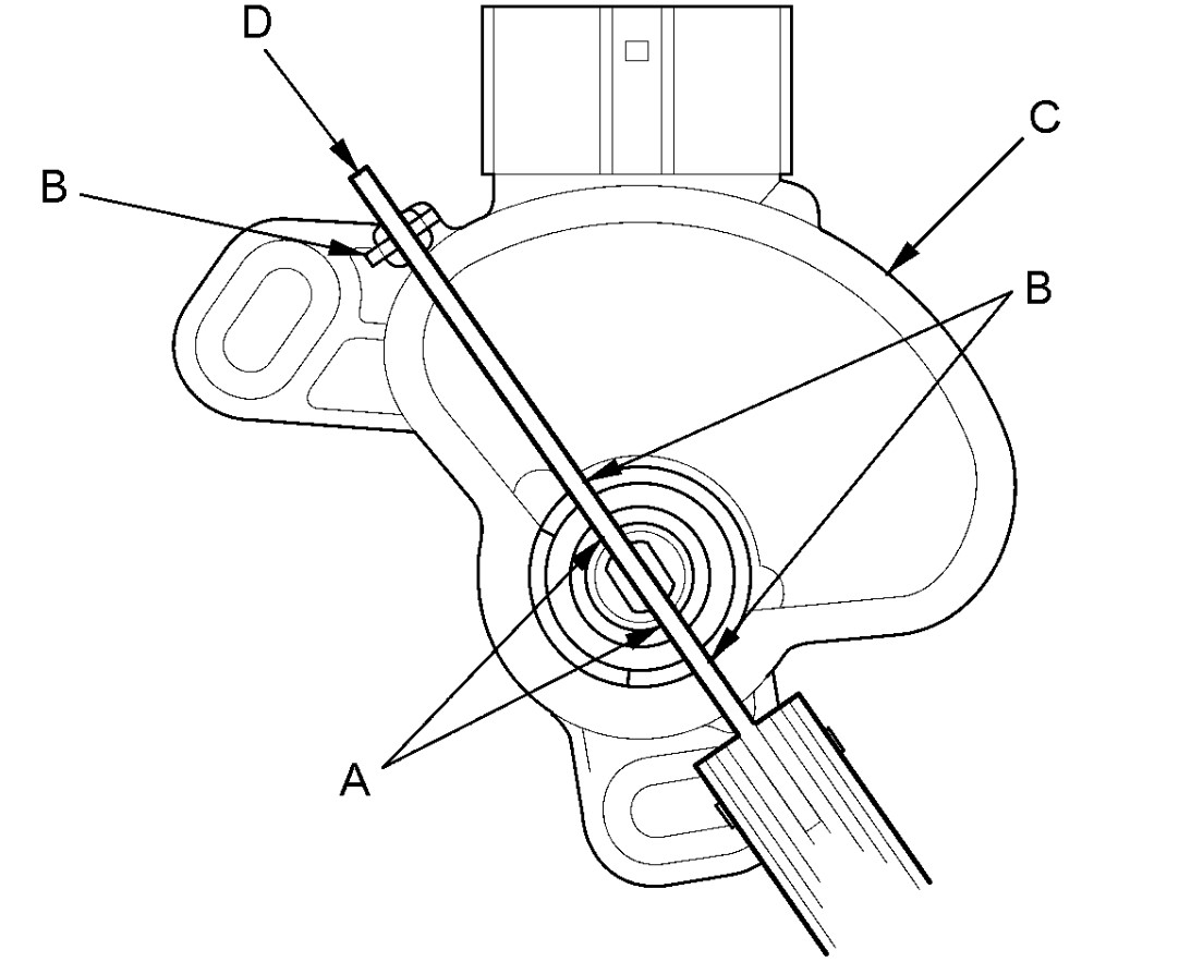
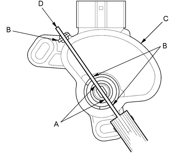
The switch is on the lower part of the transmission under a cover. You remove the cover and the switch is there. Easy to test as well, unplug the connector first, look for corrosion or damage to pin 8. Neither found? Block the wheels and take a piece of wire, jump pin 8 (White wire) to a good ground, Reverse lights come on? Yes, we test the switch. No, not the switch. If the lights come on with the jumper and the car starts in park then the ground wire is good and it points more to the switch as that is all it does, grounds the wire to turn on the relay. If grounding pin 8 doesn't turn on the lights then we look at the fuse and relay.
The fuse is number 5 in the dash fuse box. It powers the lights through the relay, use a test light to verify it has power on both sides with the ignition switch on. If it does then the next stop is the MICU as it has the relay soldered on the board that controls the lights. That isn't something that can be replaced without a Honda specific scan tool as you need to register the current MICU in the system, then replace it and register the new one and have it set up the replacement. Without that the engine will not run because it will lock the immobilizer on and shut off the ECU.

Now IF it were mine and it turned out to be the relay was bad, I would look at bypassing it using an external relay. You would connect a 4 pin relay up using a switched power to terminals 86 and 30. Then a lead from pin 8 on the transmission switch to terminal 85 and the lead out to the lights on terminal 87 similar to the last image.
Was this
answer
helpful?
Yes
No
Saturday, January 3rd, 2026 AT 6:35 AM

Please login or register to post a reply.