Steering wheel gets hard left or right turn only when driving slow or stopped

Tiny
RAUELCARRASCO
  • MEMBER
  • 2006 CHEVROLET IMPALA
  • 3.5L
  • 6 CYL
  • 2WD
  • 2,000,000 MILES
When running it's good. Could it be the pump?
Thursday, December 10th, 2020 AT 4:11 PM

1 Reply

Tiny
JACOBANDNICKOLAS
  • MECHANIC
  • 110,194 POSTS
Hi,

If there is excessive resistance when going slow, first check the power steering fluid level and condition. Also, let me know if there is any noise coming from the pump area.

First, review this link and see if anything helps:

https://www.2carpros.com/articles/power-steering-problems

If the fluid is clean and full, then there is a chance the pump has an internal leak or the rack and pinion is binding. Here are directions for testing the power steering pump. Take a look through them and let me know if it is something you feel comfortable doing.

____________________________-

2006 Chevrolet Impala V6-3.5L VIN N
Power Steering System Test Procedure
Vehicle Steering and Suspension Steering Testing and Inspection Component Tests and General Diagnostics Power Steering System Test Procedure
POWER STEERING SYSTEM TEST PROCEDURE
Power Steering System Test Procedure

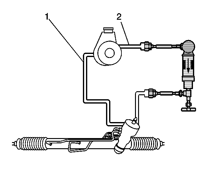
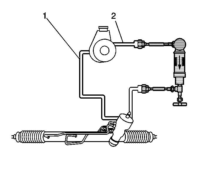
Rack and Pinion System

see pic 1

1 - Power Steering Return Hose
2 - Power Steering Pressure Hose

Test Description
The numbers below refer to the step numbers on the diagnostic table.
5. This step tests the system for restrictions.
7. This step tests the following components for the following conditions:
The pump for internal leaks
The power steering pipes for kinks
8. This step tests the ability of the pump to regulate flow at maximum pressure.
10. This step tests the ability of the pump to regulate flow under normal operating conditions.
12. This step tests the internal components of the pump and the gear.

Step 1 - Step 5

pic 2

Step 6 - Step 14

pic 3

Step 15 - Step 19

pic 4
____________________________________________

Let me know if you have other questions or if this helps.

Take care,
Joe
Was this
answer
helpful?
Yes
No
Thursday, December 10th, 2020 AT 7:46 PM

Please login or register to post a reply.