Power window malfunctioning

Tiny
EMBRACEINTEGRITY
  • MEMBER
  • 2009 TOYOTA 4RUNNER
  • 6 CYL
  • 2WD
  • AUTOMATIC
  • 165,000 MILES
Hello. The front passenger window in my vehicle is stuck half way up. I've tried re-initiating it without success. It moves a little, but won't roll up or down. Please help!
Friday, November 29th, 2019 AT 3:28 PM

10 Replies

Tiny
JACOBANDNICKOLAS
  • MECHANIC
  • 110,192 POSTS
Hi,

When you try to move the window, are there any noises? Can you hear the motor running or something grinding? Do the other windows work? If you try helping it up, will it move?

Sorry for so many questions. There are a lot of different possibilities. However, since it is trying to move, if there are no sounds associated, most likely the motor is bad.

Let me know.
Joe
Was this
answer
helpful?
Yes
No
+1
Friday, November 29th, 2019 AT 9:07 PM
Tiny
EMBRACEINTEGRITY
  • MEMBER
  • 11 POSTS
Thanks for your reply! I’m uploading a short clip. It’s like, the back of the window wants to move, but the front doesn’t.
Was this
answer
helpful?
Yes
No
Friday, November 29th, 2019 AT 9:35 PM
Tiny
EMBRACEINTEGRITY
  • MEMBER
  • 11 POSTS
Here it is:
Was this
answer
helpful?
Yes
No
Friday, November 29th, 2019 AT 9:38 PM
Tiny
JACOBANDNICKOLAS
  • MECHANIC
  • 110,192 POSTS
Hi,

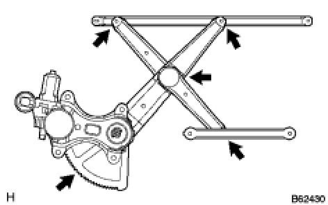
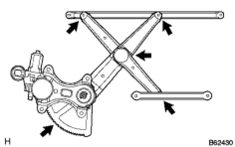
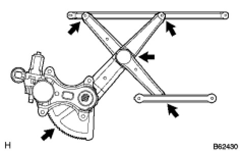
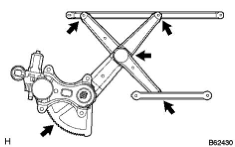
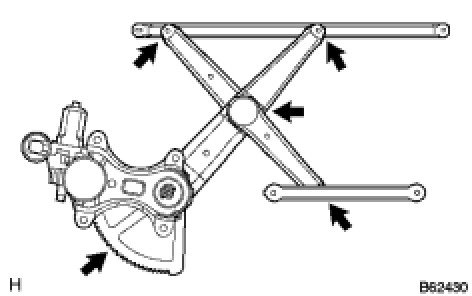
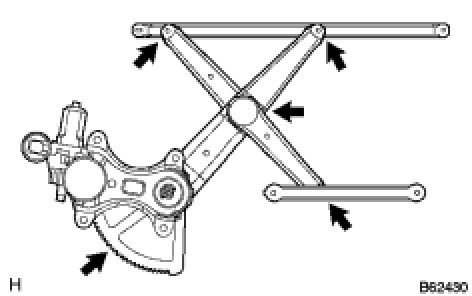
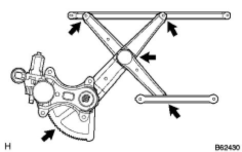
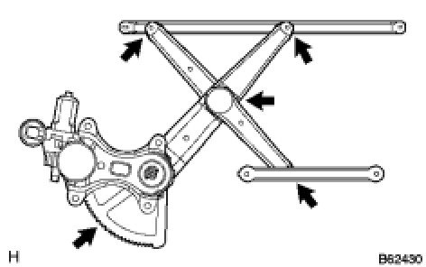
I just watched the video. I suspect the window regulator is bad. If you watch. The one edge of the window moves and the front portion doesn't. The regulator is either broken or something has come apart.

Take a look at the attached pic. It shows the regulator. I highlighted the component I'm referring to. If you want, I can provide directions for removal and replacement. It's a bit tedious to do, but we can give it a try if you want.

Let me know.

Joe
Was this
answer
helpful?
Yes
No
+1
Friday, November 29th, 2019 AT 10:06 PM
Tiny
EMBRACEINTEGRITY
  • MEMBER
  • 11 POSTS
Thanks so much, Joe! That definitely makes sense. I actually took the door panel off to see if I could identify the issue at a glance, but stopped short of pulling the speakers out, etc. That said, I’m up for the challenge. LOL!

Thanks again!

Jessica
Was this
answer
helpful?
Yes
No
Friday, November 29th, 2019 AT 10:19 PM
Tiny
JACOBANDNICKOLAS
  • MECHANIC
  • 110,192 POSTS
Hi,

You are very welcome. Listen, I have directions for removal and replacement, but it is part of an entire door overhaul. So, it starts with removal of the door panel and so on. I will stop at the end of the regulator removal. Before you purchase the regulator, remove the panel so you can see in where the door is attached to the regulator. There are two bolts that hold it to the regulator track. Make sure one hasn't come loose and is causing the window to jam.

____________________________________________________________

2009 Toyota Truck 4 Runner 2WD V6-4.0L (1GR-FE)
Disassembly
Vehicle Body and Frame Doors, Hood and Trunk Doors Front Door Service and Repair Overhaul Disassembly
DISASSEMBLY
ENGINE HOOD / DOOR: FRONT DOOR: DISASSEMBLY

DISASSEMBLY

HINT:
- Use the same procedures for the RH side and LH side.
- The procedures listed below are for the LH side.
- A bolt without a torque specification is shown in the standard bolt chart See: Dashboard / Instrument Panel > Removal and Replacement > Removal.

1. REMOVE FRONT DOOR LOWER FRAME BRACKET GARNISH LH

pic 1

(a)Using a screwdriver, remove the lower frame bracket garnish.

HINT: Tape the screwdriver tip before use.

2. REMOVE FRONT DOOR INSIDE HANDLE BEZEL LH

pic 2

(a)Using a screwdriver, disengage the 3 claws, and remove the inside handle bezel.

HINT: Tape the screwdriver tip before use.

3. REMOVE FRONT ARMREST ASSEMBLY LH

pic 3

(a)Disengage the claws, and remove the armrest from the trim board.

HINT: Tape the screwdriver tip before use.

4. REMOVE FRONT DOOR TRIM BOARD SUB-ASSEMBLY LH

pic 4

(a)Remove the 2 cushion rubbers.
(b)Remove the 2 screws and clips.
(c)Using a clip remover, remove the 11 clips.
(d)Remove the trim board upward.

HINT: In order to prevent the door from being damaged, cover the parts indicated by arrow marks in the illustration with tape.

Pic 5

(e)Disconnect the 2 cables from the inside handle as shown in the illustration.
(f)Remove the inner weatherstrip.
(g)Remove the 3 screws and power window master switch.

Pic 6

(h)Using a screwdriver, disengage the 4 claws.

HINT: Tape the screwdriver tip before use.

(i)Remove the power mirror switch, as shown in the illustration.
5. REMOVE FRONT DOOR SERVICE HOLE COVER LH

pic 7

(a)Remove the front door service hole cover LH.

NOTE: Remove the remaining tape on the door side.

6. REMOVE OUTER REAR VIEW MIRROR ASSEMBLY LH

pic 8

(a)Disconnect the outer rear view mirror connector.
(b)Remove the 3 nuts and outer rear view mirror.

NOTE: When the nuts are removed, the outer rear view mirror might drop and be deformed.

7. REMOVE FRONT NO. 1 SPEAKER ASSEMBLY See: Speaker > Removal and Replacement > Removal
8. REMOVE FRONT NO. 2 SPEAKER ASSEMBLY

pic 9

(a)Disconnect the speaker connector.
(b)Remove the 2 bolts and No. 2 speaker.
(c)Remove the 2 bolts and speaker mounting No. 1 bracket.
9. REMOVE FRONT DOOR WINDOW FRAME MOULDING REAR LH See: Front Door Moulding / Trim > Removal and Replacement > Removal
10. REMOVE FRONT DOOR GLASS WEATHERSTRIP ASSEMBLY OUTER LH See: Front Door Window Glass Weatherstrip > Removal and Replacement > Removal
11. REMOVE FRONT DOOR GLASS SUB-ASSEMBLY LH

HINT: Insert a shop rag inside the door panel to prevent the glass from being scratched.

Pic 10

(a)Open the door glass until the bolts appear in the service holes.
(b)Remove the 2 bolts and holding the door glass.

Pic 11

(c)Remove the door glass, as shown in the illustration.

NOTICE:
- Do not damage the door glass.
- When the bolts are removed, the door glass might drop and be deformed.

(d)Remove the door glass run.
12. REMOVE FRONT DOOR WINDOW REGULATOR SUB-ASSEMBLY LH

pic 12

(a)Disconnect the window regulator connector.
(b)Remove the 6 bolts and window regulator.

NOTE: When the bolts are removed, the window regulator might drop and be deformed.

HINT: Remove the window regulator through the service hole.

13. REMOVE POWER WINDOW REGULATOR MOTOR ASSEMBLY LH
(a)Place matchmarks on the window regulator motor gear and regulator gear.
(b)Using a "torx" driver (T25), remove the 3 screws and window regulator motor

________________________________________ Note that the number starts on 7. I bypassed removal of the door, wiring, exterior handle, and so on.

7. INSTALL POWER WINDOW REGULATOR MOTOR ASSEMBLY LH
(a)Align the matchmarks on the regulator motor gear and regulator gear.
(b)Using a "torx" driver (T25), install the door regulator motor with the 3 screws.
Torque: 5.4 Nm (55 kgf-cm, 48 in-lbf)

HINT: Never rotate the motor to the down direction until the window glass installation has done.

8. INSTALL FRONT DOOR WINDOW REGULATOR SUB-ASSEMBLY LH

pic 13

(a)Apply MP grease to the sliding and rotating parts of the window regulator.

NOTE: Do not apply grease to the spring of the window regulator.

Pic 14

(b)Install the window regulator with the 6 bolts.
Torque: 8.0 Nm (82 kgf-cm, 71 in-lbf)
(c)Connect the window regulator connector.

NOTE: Be careful not drop and deform the door window regulator.

9. INSTALL FRONT DOOR GLASS SUB-ASSEMBLY LH

NOTE: Do not damage the door glass.

Pic 15

(a)Install the glass run.
(b)Insert the door glass into the door panel along the glass run, as shown in the illustration.

Pic 16

(c)Install the door glass to the window regulator with the 2 bolts.
Torque: 8.0 Nm (82 kgf-cm, 71 in-lbf)
(d)Inspect operation of the power window.

HINT: When the installation point of the door glass does not match, adjust the regulator position in the manual operation.

(1)Connect the power window switch to the wire harness and turn the ignition switch ON.
(2)Repeat UP and DOWN operation several times in the manual operation.
10. INSTALL FRONT NO. 2 SPEAKER ASSEMBLY

pic 17

(a)Install the No. 1 speaker bracket with the 2 bolts.
Torque: 8.0 Nm (82 kgf-cm, 71 in-lbf)
(b)Connect the speaker connector.
(c)Install the No. 2 speaker with the 2 bolts.
Torque: 8.0 Nm (82 kgf-cm, 71 in-lbf)
11. INSTALL OUTER REAR VIEW MIRROR ASSEMBLY LH

pic 18

(a)Install the outer rear view mirror with the 3 nuts.
Torque: 8.0 Nm (82 kgf-cm, 71 in-lbf)
(b)Connect the outer rear view mirror connector.
12. INSTALL FRONT DOOR SERVICE HOLE COVER LH

pic 19

(a)Apply butyl tape to the door, as shown in the illustration.
Adhesive:
Part No. 08850-00065, Butyl Tape Set or equivalent
(b)Install the service hole cover.
Standard dimension:

pic 20

HINT:
- When installing the service hole cover, pull out the links and connectors through the service hole cover.
- There should be no wrinkles or folds after attaching the service hole cover.
- After attaching the service hole cover, check the sealing condition.

______________________________

I hope this helps. Let me know how things work out or if you need help. Remember, before purchasing a new regulator, make sure none of the track has come loose causing the glass to bind.

Take care,
Joe
Was this
answer
helpful?
Yes
No
+1
Saturday, November 30th, 2019 AT 9:15 PM
Tiny
EMBRACEINTEGRITY
  • MEMBER
  • 11 POSTS
You rock! Thank you so much!
Was this
answer
helpful?
Yes
No
Monday, December 16th, 2019 AT 1:02 PM
Tiny
JACOBANDNICKOLAS
  • MECHANIC
  • 110,192 POSTS
You are very welcome. Did you get it repaired?

Joe
Was this
answer
helpful?
Yes
No
+1
Monday, December 16th, 2019 AT 1:07 PM
Tiny
EMBRACEINTEGRITY
  • MEMBER
  • 11 POSTS
Not yet, but I plan on tackling it this evening. I've been waiting on an extra set of hands to help me, without success. That said, based on the detailed instructions you provided, I'm confident I can do it all by myself. LOL. I can't thank you enough. :)
Was this
answer
helpful?
Yes
No
Monday, December 16th, 2019 AT 2:12 PM
Tiny
JACOBANDNICKOLAS
  • MECHANIC
  • 110,192 POSTS
You are very welcome. Let me know if you need help.

Joe
Was this
answer
helpful?
Yes
No
+1
Monday, December 16th, 2019 AT 3:06 PM

Please login or register to post a reply.