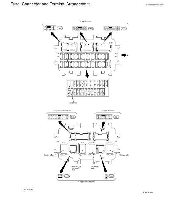
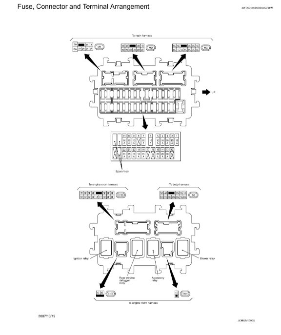
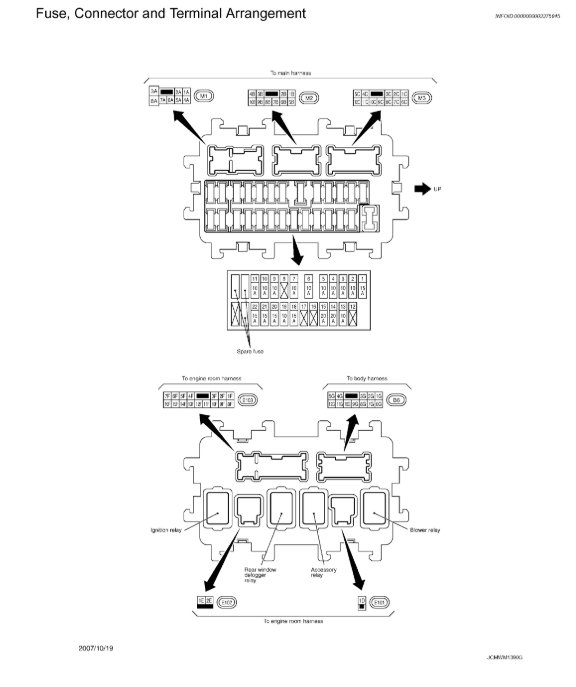
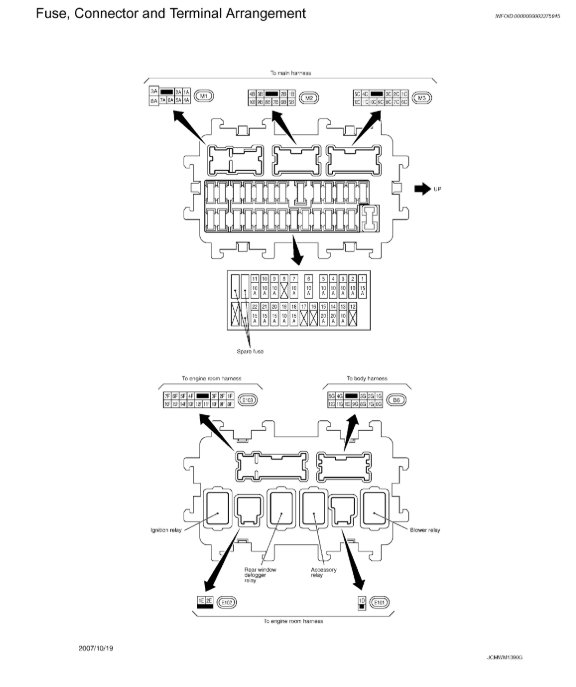
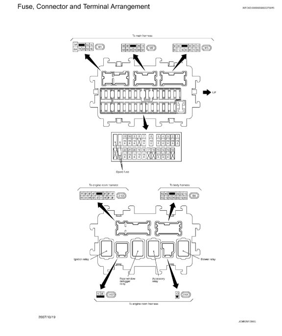
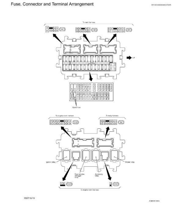
Sunday, January 5th, 2020 AT 2:40 PM
One day I woke up to my power windows, seats, turn signals, hazards, power locks not working. Is it a fuse? I changed most fuses. But I don't see a fuse for any of them.




