Possible broken front differential

Tiny
RAYMOND2
  • MEMBER
  • 2004 SUZUKI AERIO
  • 2.3L
  • 4 CYL
  • 4WD
  • AUTOMATIC
  • 98,000 MILES
My mother took her car in about two years ago to get a transmission flush. Well, what they did is drained the transmission, and also the front differential, but filled it through the transmission dip stick thinking that it would also fill the differential.

Well, she only goes to the store and whatever small errands she has to do in such a small town. Didn’t notice anything, until she tried to drive to see me, about 2 hours away. 20 miles in, she was stuck. I rented a U-Haul flat bed, and towed the car to my house.

The transmission setup is weird to me. It shares the same housing with the front differential? I am mechanically inclined, but have never tackled big projects like engines or transmission. So, two things:

1. I cannot find any filler plug for the front differential.

2. Is this something that I can tackle? Or would it be too difficult for me?

Any help in the right direction would be most helpful.
Tuesday, March 9th, 2021 AT 1:15 AM

16 Replies

Tiny
ASEMASTER6371
  • MECHANIC
  • 52,796 POSTS
Good morning,

The front differential is part of the transmission itself and does share the same fluid.

https://www.2carpros.com/articles/how-to-service-an-automatic-transmission

https://www.2carpros.com/articles/automatic-transmission-problems

Something failed in the transaxle that caused the car to stop working.

The engine and transaxle are removed together to replace the transmission.

Roy

Automatic Transaxle Unit Dismounting and Remounting
Dismounting
1. Take down transaxle with engine.
2. Remove engine rear mounting No. 1 bracket and engine rear mounting No.2 bracket with stiffener.
3. Remove center bearing support bolts (3) and remove center bearing support (2) with center shaft (1) from differential side gear.

imageOpen In New TabZoom/Print

4. Remove lower stiffener.

imageOpen In New TabZoom/Print

5. Remove drive plate bolts.
To lock drive plate (1), engage a flat head rod or the like (2) with drive plate gear.
6. Remove starting motor.

imageOpen In New TabZoom/Print

7. Remove bolts and nut fastening engine and transaxle, then detach transaxle from engine.

NOTE: When detaching transaxle from engine, move it in parallel with crankshaft and use care so as not to apply excessive force to drive plate and torque converter.

WARNING: Be sure to keep transaxle with torque converter horizontal or facing up throughout the work. Should it be tilted with torque converter down, converter may fall off and cause personal injury.

A/T Fluid Change
1. Lift up vehicle.

imageOpen In New TabZoom/Print

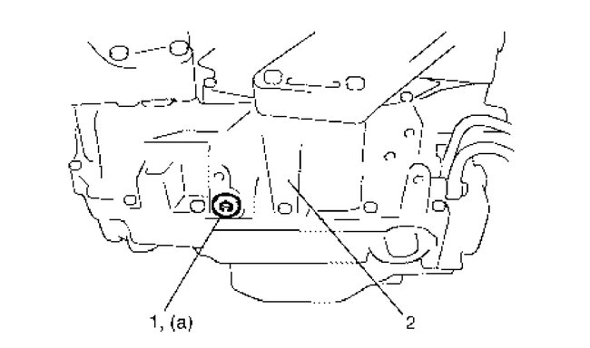
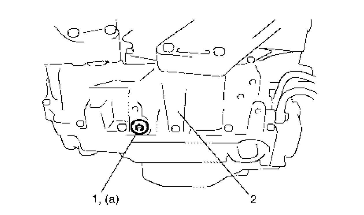
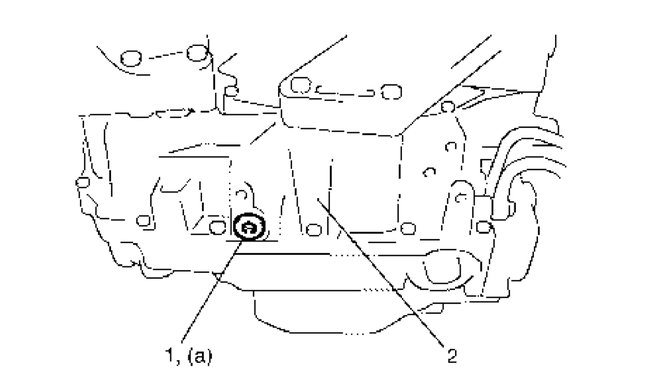
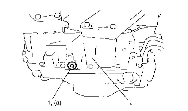
2. When engine is cool, remove drain plug (1) from transaxle housing (2) and drain A/T fluid.
3. Install drain plug (1).
Tightening torque
A/T fluid drain plug (a): 40 Nm (4.0 kgf-cm, 29.0 ft. lbs.)

imageOpen In New TabZoom/Print

image

4. Lower vehicle and fill proper amount of an equivalent of DEXRON-III or DEXRON-IIE
5. Check fluid level referring to A/T Fluid Level Check.
Automatic transaxle fluid An equivalent of DEXRON-III or DEXRON-IIE
Automatic transaxle fluid capacity
When draining from drain plug hole: 2.9 liters (6.13/5.10 US/Imp. pt.)
When overhauling: 6.2 liters (13.10/10.91 US/Imp. pt.)
Was this
answer
helpful?
Yes
No
Tuesday, March 9th, 2021 AT 2:51 AM
Tiny
RAYMOND2
  • MEMBER
  • 9 POSTS
What about the front differential? Where is the filler plug on that?
Was this
answer
helpful?
Yes
No
Tuesday, March 9th, 2021 AT 10:00 AM
Tiny
ASEMASTER6371
  • MECHANIC
  • 52,796 POSTS
As I stated before, they share the same oil as the transmission. It is all one unit.

Roy
Was this
answer
helpful?
Yes
No
Tuesday, March 9th, 2021 AT 10:05 AM
Tiny
RAYMOND2
  • MEMBER
  • 9 POSTS
Then why am I getting a really bad squeal when driving? Think it usually happens when the gas pedal is applied.
Was this
answer
helpful?
Yes
No
Tuesday, March 9th, 2021 AT 10:21 AM
Tiny
ASEMASTER6371
  • MECHANIC
  • 52,796 POSTS
I need to hear the noise.

Can you upload a video of the noise so I can hear it?

Roy
Was this
answer
helpful?
Yes
No
Tuesday, March 9th, 2021 AT 10:25 AM
Tiny
RAYMOND2
  • MEMBER
  • 9 POSTS
I don’t have a video. I’d have to record one. This is the plug that was drained.
Was this
answer
helpful?
Yes
No
Tuesday, March 9th, 2021 AT 11:17 AM
Tiny
RAYMOND2
  • MEMBER
  • 9 POSTS
When I checked it, it was empty.
Was this
answer
helpful?
Yes
No
Tuesday, March 9th, 2021 AT 11:19 AM
Tiny
JACOBANDNICKOLAS
  • MECHANIC
  • 110,194 POSTS
Hi,

I noted we haven't heard from you for a couple of days. I was wondering if any progress has been made or if you needed additional help. If possible, let us know. We are interested in knowing.

Take care,
Joe
Was this
answer
helpful?
Yes
No
Thursday, March 11th, 2021 AT 3:02 PM
Tiny
RAYMOND2
  • MEMBER
  • 9 POSTS
I do. I am at an impasse. What do I do from here?
Was this
answer
helpful?
Yes
No
Thursday, March 11th, 2021 AT 3:09 PM
Tiny
JACOBANDNICKOLAS
  • MECHANIC
  • 110,194 POSTS
Hi,

No problem. Is the vehicle presently being used? As far as the transmission/diff fluid, has it been refilled and rechecked for level and condition? The noise could be something slipping in the transmission. Let me know as much as you can at this point. I'm specifically interested in knowing what the fluid looks like at this time.

Take care,
Joe
Was this
answer
helpful?
Yes
No
Thursday, March 11th, 2021 AT 3:54 PM
Tiny
RAYMOND2
  • MEMBER
  • 9 POSTS
Car is not being driven ever since I towed it back to my house just to be safe. The squealing is from the transmission though. My first main question is, how do you fill the front differential?
Was this
answer
helpful?
Yes
No
Thursday, March 11th, 2021 AT 4:28 PM
Tiny
JACOBANDNICKOLAS
  • MECHANIC
  • 110,194 POSTS
The differential on this vehicle is integral to the transaxle. It receives the same fluid as the transmission. Have you refilled the transmission?

Joe
Was this
answer
helpful?
Yes
No
Friday, March 12th, 2021 AT 7:01 PM
Tiny
RAYMOND2
  • MEMBER
  • 9 POSTS
The transmission is showing it’s full.
Was this
answer
helpful?
Yes
No
Wednesday, March 17th, 2021 AT 3:32 PM
Tiny
ASEMASTER6371
  • MECHANIC
  • 52,796 POSTS
That is what I found out as well and posted the same thing.

I cannot identify that plug you are posting.

Can you upload some other pictures of that plug?

Roy
Was this
answer
helpful?
Yes
No
Wednesday, March 17th, 2021 AT 3:39 PM
Tiny
RAYMOND2
  • MEMBER
  • 9 POSTS
This is a quick video of what I am dealing with underneath. Right now, when I drive it at low speeds (no more than 5 MPH through the neighborhood) it feels as if I am driving with a tire that has a flat side.
Was this
answer
helpful?
Yes
No
Wednesday, April 14th, 2021 AT 5:05 PM
Tiny
JACOBANDNICKOLAS
  • MECHANIC
  • 110,194 POSTS
Hi,

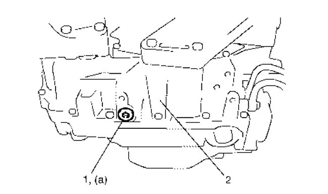
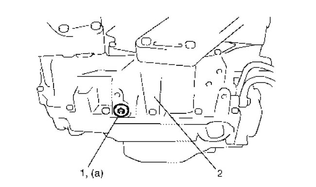
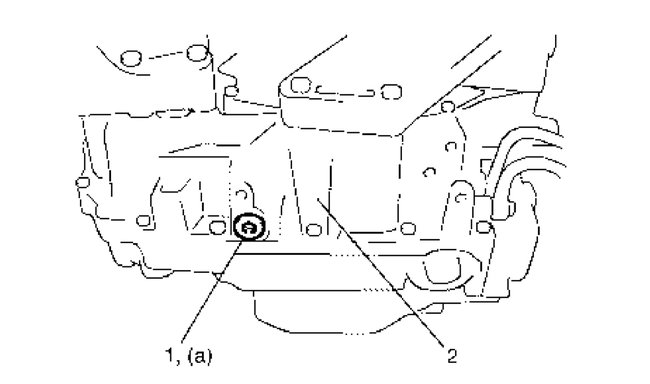
Watching the video, I realized you are referring to the transfer case. Do me a favor. Take a look at the attached pic. I circled the fill plug and highlighted the drain. If it is empty, pic 2 shows the capacity and fluid type.

Note: While watching the video, I did see red fluid hanging from parts under the vehicle. That is transmission fluid, so check to see where that leak is coming from as well.

Let me know if this helps.

Joe
Was this
answer
helpful?
Yes
No
Wednesday, April 14th, 2021 AT 8:12 PM

Please login or register to post a reply.