Passenger rear window only works with door switch

Tiny
NEIL2002CIVIC
  • MEMBER
  • 2002 HONDA CIVIC
  • 1.7L
  • 4 CYL
  • 2WD
  • AUTOMATIC
  • 65,700 MILES
Hi, the right rear window works with only the door switch, but not the master on drivers door. Where do I start? Thanks, Neil
Wednesday, May 1st, 2019 AT 12:43 PM

1 Reply

Tiny
KEN L
  • MASTER CERTIFIED MECHANIC
  • 55,499 POSTS
Hello Neil,

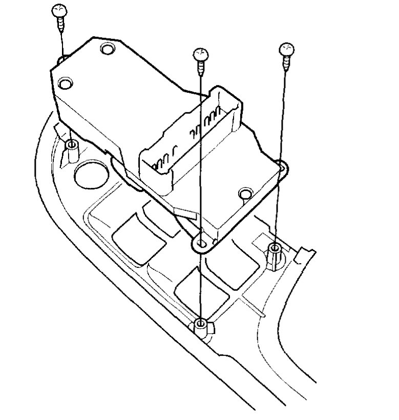
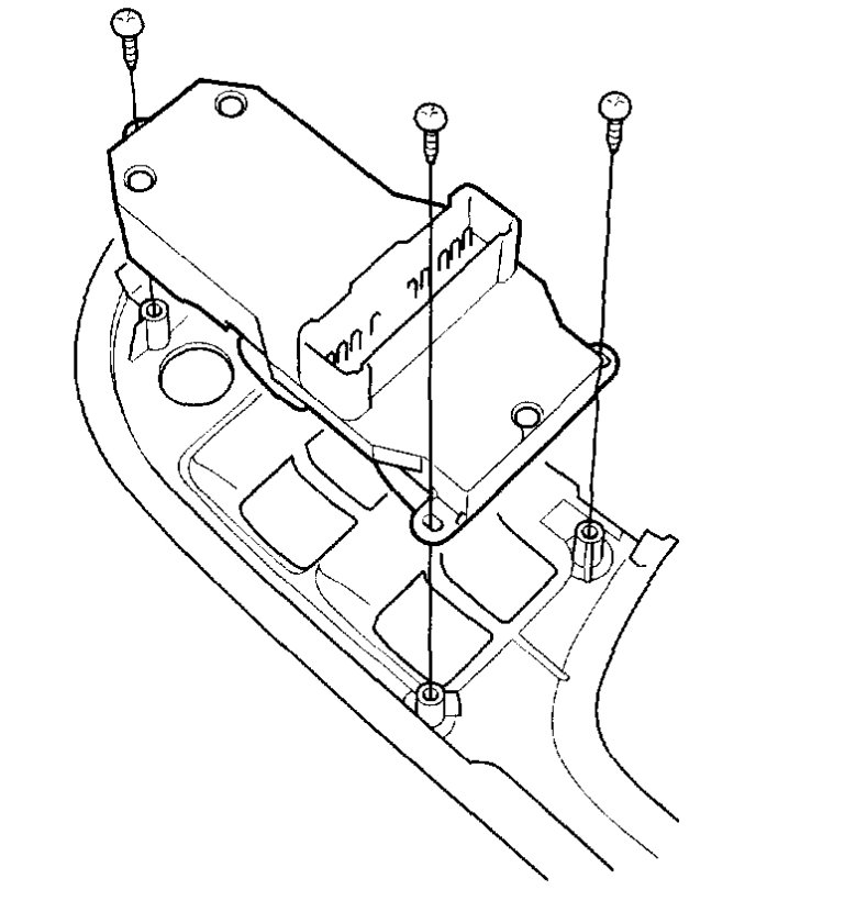
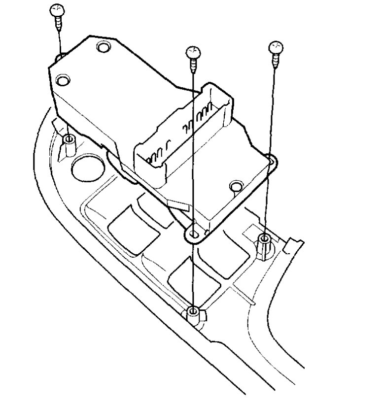
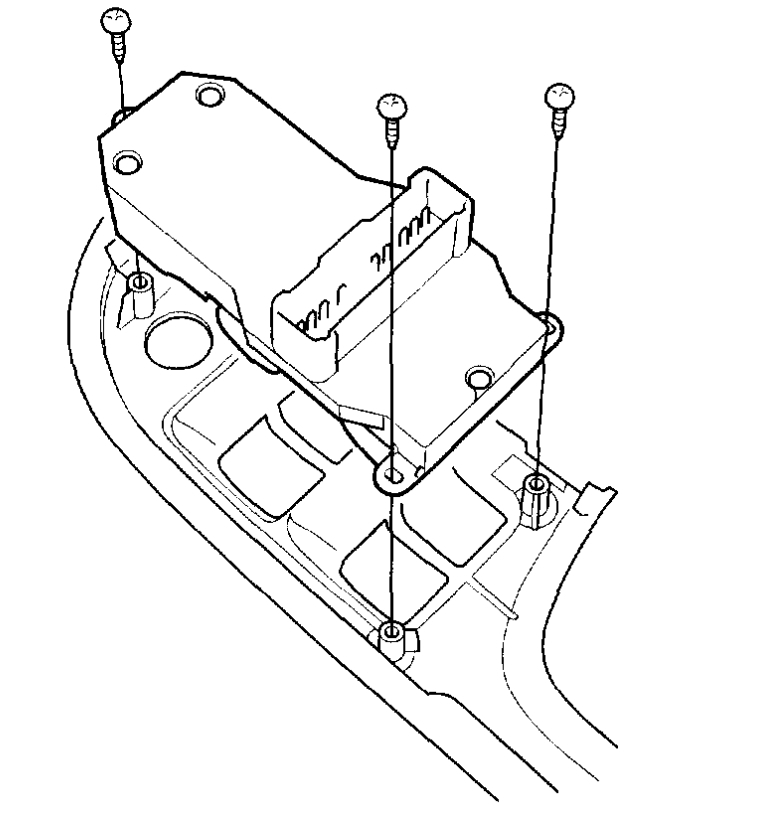
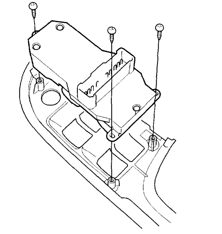
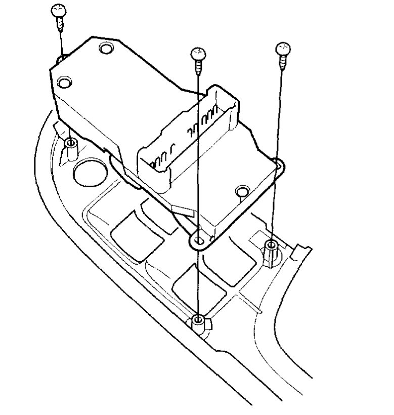
This sounds like a classic master door switch failure but to be sure here is a guide to help walk you through the testing and the master switch replacement diagrams and instructions below.

https://www.2carpros.com/articles/electric-window-repair

Check out the diagrams (Below). Please let us know what happens.
Was this
answer
helpful?
Yes
No
Thursday, May 2nd, 2019 AT 2:27 PM

Please login or register to post a reply.