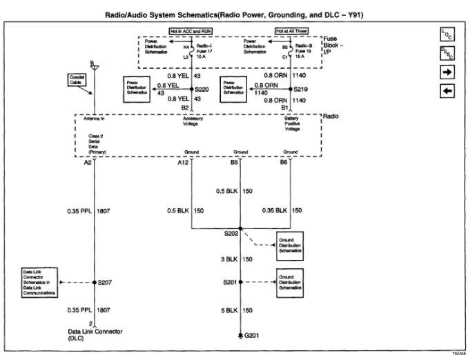
Monday, November 2nd, 2020 AT 8:40 PM
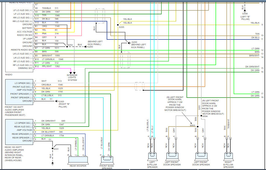
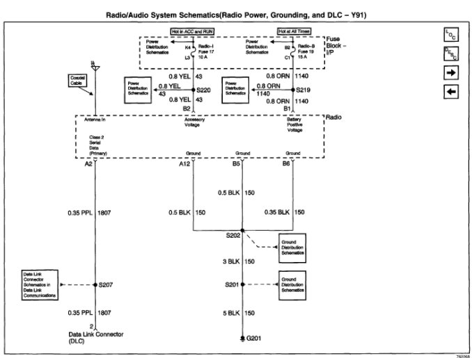
I have a parasitic draw. It goes away when I pull the radio-b (battery) fuse (no. 19 slot) in fuse box. The owners manual shows the only things on that circuit is the radio and power antenna. But when I pull the radio-b fuse out, the speedometer doesn't work and all the electronic readouts on cluster like mileage, etc, are not there, then the only part of the cluster that works is the 4 small gages fuel, water, voltage, oil and the cluster backlight. Owner's manual shows all the instrument cluster to be in slot no. 14 (ILLUM) in the fuse panel. I seem to have 2 different circuits controlling different parts of the cluster. Owner's manual shows that should not be the case.



















